Книга Как обустроить мансарду своими руками, страница 39 – Кирилл Балашов

Авторы: А Б В Г Д Е Ж З И Й К Л М Н О П Р С Т У Ф Х Ч Ш Ы Э Ю Я
Книги: А Б В Г Д Е Ж З И Й К Л М Н О П Р С Т У Ф Х Ц Ч Ш Щ Ы Э Ю Я
Бесплатная онлайн библиотека LoveRead.in

Онлайн книга «Как обустроить мансарду своими руками»

📃 Cтраница 39

Плитки отечественного производства перед началом укладки сортируют по цвету и форме. С импортными плитками в этом необходимости нет. Многие материалы перед укладкой требуется замачивать в воде или водном растворе поверхностно-активных веществ (ПАВ) примерно на 15–20 мин для повышения прочности сцепления. Плиточный клей способен вытягивать влагу из окружающей среды. Если ему будет недостаточно влаги, это вызовет его хрупкость. В результате плитки начнут отставать от пола.

Перед укладкой керамические плитки подбирают по цвету в соответствии с заданным рисунком покрытия, сортируют по размерам и замачивают, если используется цементно-песчаный раствор. Плитки замачивают путем полного их погружения в воду или в водный раствор ПАВ на 15–20 мин. В качестве водных растворов ПАВ применяют 1 %-й раствор хлористого кальция или 0,5 %-й раствор хлористого алюминия, которые способствуют активизации контактной поверхности плиток, что приводит к повышению на 45–50 % начальной прочности их сцепления по сравнению с замачиваемыми в воде. При укладке на раствор с осадкой конуса 5–6 см плитки достаточно окунуть в воду или водный раствор ПАВ. Если перед укладкой на тыльной стороне плиток имеется устойчивая пленка жидкости, их поверхность протирают.

Если нет возможности проложить маячные бруски, выверяют необходимое расстояние и протягивают шнур от одной стены к противоположной. Плитки укладывают на клей и погружают в него с помощью несильных ударов мастерка. Между ними оставляют швы шириной от 3 до 6 мм. При необходимости плитки подрезают, если они полностью не вмещаются в плоскость комнаты. Для этого используют угловую шлифовальную машинку или специальный электрический плиткорез. Спустя 2–3 дня после окончания работ все швы заполняют жидким раствором плиточного клея. Кроме того, для придания поверхности пола законченного вида используют разного рода затирки, которые подбирают по контрасту или же в тон уложенному полу.

В последнее время довольно часто встречаются полы мансард, выполненные из плит природного камня. Они служат долго, так как практически не истираются, являются гигиеничным и экологически чистым материалом. Ни при каких условиях они не выделяют в окружающую среду отравляющих веществ.

В одном помещении выкладывают полы из плит одной породы. Помимо этого, они должны иметь одинаковую толщину, которая составляет минимум 20 мм. Такой отделочный материал довольно тяжелый, поэтому плиточный клей можно не использовать. Вместо него вполне подойдет обыкновенный цементно-песчаный раствор. Укладку плит выполняют сразу после нанесения раствора на основание. Раствор перед укладкой тщательно разравнивают. Сами плиты помещают впритык друг к другу, чтобы между ними не оставалось швов. Ровность укладки проверяют после установки каждой следующей плиты. Это делают при помощи строительного уровня подходящей длины. Между соседними плитами перепад не должен превышать 1 мм. Сразу после окончания работы с поверхности плиты убирают все остатки раствора.

Основание под такие материалы должно быть бетонным или цементным. Перед началом работ его тщательно очищают от пыли и разного рода загрязнений.

Лестницы
Общие сведения

В доме с мансардой лестница просто необходима. Она выполняет не только функциональную, но и декоративную роль, часто будучи определяющим элементом интерьера дома. Способов оформления лестниц существует большое количество. Иначе быть не может, ведь они занимают довольно значительную площадь жилого помещения, порой становясь узловой точкой дизайна. В этих случаях лестницу делают в гостиных, общих комнатах. Они, как и мансарда, отапливаются. Если в мансарде нет отопления, то лестницу сооружают на веранде или в особой лестничной клетке. Конечно, внутридомовое расположение намного удобнее.

В любом случае лестница должна быть размещена так, чтобы не создавать помех для проживающих в доме людей. Коридор или прихожая отлично для этого подходят, но их размеры должны быть такими, чтобы помещалась лестница и еще оставалось достаточно пространства для перемещения жильцов.

Конструкции лестниц очень разнообразны. Это же относится и к используемым в строительстве материалам: бетон, железобетон, дерево, комбинированные варианты. Среди всех прочих дерево по праву является самым популярным, будучи теплым, приятным на ощупь, красивым. Так как лестница испытывает серьезные нагрузки, то из древесных пород подходят лиственница, дуб, красное дерево, орегонская и бразильская сосна. Такие мягкие породы, как ель, использовать не следует. Ступени покрывают ковролином, линолеумом, резиной, отделывают камнем. Место под лестницей обычно оборудуют под подсобные помещения.

При пожарах основным путем эвакуации людей с верхних этажей являются лестницы, поэтому рядом с ними обычно возводят огнестойкие перегородки со всех сторон. Если по эстетическим соображениям они нежелательны, то в крайних случаях ограничиваются огнестойкими перекрытиями в пределах капитальных стен либо (что стало распространено в последнее время) полуогнестойкими или огнестойкими элементами лестничной конструкции.

Конструктивной единицей лестницы независимо от ее назначения и вида выступает лестничный марш – последовательно уложенные ступени. Марш располагается между двумя лестничными площадками, на одну из которых он опирается. В пределах марша есть некоторое количество одинаковых ступеней, при этом начальная и конечная называются верхней и нижней фризовыми ступенями и они особые, поскольку оформляют переход к лестничным площадкам. Последние могут быть этажными и междуэтажными. Недопустимо, чтобы двери открывались на лестничный пролет, это следует учитывать при строительстве. Чтобы взрослый человек мог пройти не наклоняя головы и уж тем более не сгибаясь, расстояние от лестницы до потолка или ската крыши должно быть достаточно большим.

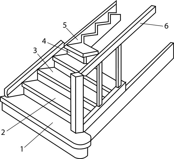
Если лестница находится внутри дома, то опорой для марша служат балки. Те из них, которые стоят под ступенями, называются косоурами, а те, которые по бокам, – тетивами. В ступенях различают проступь (сюда ставят стопу при ходьбе) и подступенку. У первой важной характеристикой является ширина, тогда как у второй – высота. Первая ступень лестницы называется фризовой (рис. 29).

Иллюстрация к книге — Как обустроить мансарду своими руками [r29.jpg]

Рисунок 29. Элементы лестницы: 1 – фризовая ступень, 2 – ступень, 3 – подступенок, 4 – проступь, 5 – тетива, 6 – перила


Часто у ступеньки отсутствует подступенка – в этом случае лестница выглядит менее громоздко. Число маршей может быть разным. Выделяют многомаршевые лестницы, одномаршевые и двухмаршевые. Двухмаршевые характерны для частных домов. Если в одномаршевой лестнице получаются длинные марши с большим количеством ступенек, то предусматривают площадки для отдыха.

Форма лестницы – круглая, извилистая, прямоугольная и т. п. – определяется с учетом местонахождения конструкции, дизайна интерьера дома. Тип лестницы зависит от того, имеется ли свободное место в доме, какова высота помещений, от огнестойкости строения, характера предполагаемого передвижения.

Вход
Поиск по сайту
Ищем:
Календарь