Книга Сделай сам. Все виды работ для домашнего мастера, страница 62 – Майкл Эдвардс

Авторы: А Б В Г Д Е Ж З И Й К Л М Н О П Р С Т У Ф Х Ч Ш Ы Э Ю Я
Книги: А Б В Г Д Е Ж З И Й К Л М Н О П Р С Т У Ф Х Ц Ч Ш Щ Ы Э Ю Я
Бесплатная онлайн библиотека LoveRead.in

Онлайн книга «Сделай сам. Все виды работ для домашнего мастера»

📃 Cтраница 62

Вам понадобится:

• губка

• хороший разводной ключ или водопроводный ключ

• новая мембрана

Для замены мембраны:

Ключевой момент

Можно использовать трубку малого диаметра, чтобы откачать последние 25 мм воды из бачка, либо можно купить маленькую помпу со шлангами, которая работает совместно с электродрелью. Дрель вращается, насос качает, и остававшаяся вода удаляется из бачка. Это немного проще, чем использование губки, но гораздо дороже!

1. Отключите подачу воды в бачок, спустите из него воду и удалите ее остатки губкой.

2. Освободив бачок от воды, разъедините соединение рычага/тяги и смывного механизма.

3. Отвинтите крепежную гайку под бачком и выньте смывной механизм.

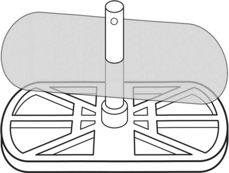
4. Отстегните нижнюю часть соединительного хомута и выньте рамку, на которую опирается мембрана. (На центральном штыре может быть надета пружина — не забудьте вернуть ее на место при сборке.)

5. Отсоедините и снимите мембрану, установите новую и соберите все обратно (мембрана показана ниже).

Иллюстрация к книге — Сделай сам. Все виды работ для домашнего мастера [i_145.jpg]

Смывная мембрана

Основные положения проектов 32–37

• Обеспечьте легкий доступ к главному и другим запорным кранам.

• Время от времени закрывайте и открывайте краны/клапаны, чтобы их не заедало.

• При ремонте отключайте и спускайте воду.

• Ни в коем случае не перетягивайте соединения.

• Всегда закрепляйте трубы с положенными интервалами во избежание шума гидравлических ударов.

• Изучите смотровые колодцы вокруг дома, чтобы точно знать, какие из них относятся к той или иной канализации и куда и откуда они ведут.


Следующий шаг

И в заключение, закончив все основные работы, пора заняться отделкой.

Отделка
38. Покраска или оклейка новой штукатурки

Новая штукатурка — и обычная, и текстурная — очень пористая. Если нанести на нее обычную краску, то влага из краски сразу впитается в поверхность, и краска высохнет слишком быстро и не будет нормально держаться. Вскоре краска начнет отставать и отшелушиваться.

1. В обычном отапливаемом доме дайте штукатурке четыре недели на высыхание, прежде чем красить ее.

2. Сначала закройте поры поверхности, то есть нанесите средство в достаточно жидком состоянии, чтобы состав впитался в поры вместе с эмульсией или жидкостью с которой он смешан. Поэтому, если вы намерены использовать краску на водной основе, например эмульсию, смешайте 4 части эмульсионной краски с 1 частью воды и хорошо перемешайте.

3. Нанесите смесь на поверхность — иногда буквально слышно, как штукатурка впитывает жидкость. Редко бывает необходимо наносить второй слой порозаполнителя, но в любом случае это поверхности не повредит.

4. После высыхания можно красить обычным порядком.

Совет

Влажность в кухнях и ванных позволяет обычной водной эмульсии впитывать водяные пары, что может сделать краску на водной основе нестабильной и вести к отшелушиванию и развитию плесени. Во избежание таких проблем рекомендуется использовать для кухонь и ванных комнат краски на масляной основе. Некоторые компании выпускают специальные краски для кухонь и ванных в большом ассортименте цветов.

Ключевой момент

Плесень в ванной можно предупредить, примешав к краске противоплесенный химикат, если вы не используете специальную краску для кухонь и ванн.

Если вам необходимо побыстрее покрасить стену, то используйте микропористую краску, которая позволяет поверхности штукатурки «дышать» и испарять влагу при высыхании. Эти краски не следует наносить на влажную штукатурку — в обычном отапливаемом доме следует дать штукатурке посохнуть как минимум две недели. Эти краски есть в продаже. Они обычно гораздо более жидкие, чем стандартные краски на водной или масляной основе, и во многих случаях после высыхания стены рекомендуется нанести на них эмульсию. Обязательно прочитайте инструкцию на упаковке с рекомендациями по разбавлению и нанесению первого слоя на новую штукатурку.

Поклейка обоев

Для оклейки обоями новой стены:

1. В обычном отапливаемом доме дайте штукатурке посохнуть четыре недели перед поклейкой обоев.

2. После высыхания загрунтуйте стены. Такая грунтовка — готовый продукт, предназначенный для порозаполнения на поверхностях стен, но в качестве грунтовки можно также использовать и разбавленный обойный клей, которым вы будете клеить обои. В инструкциях большинства клеев есть указания по этому вопросу, но в грубом приближении надо использовать на 25 % больше воды для грунтовочного раствора.

Совет

Если вы будете клеить виниловые обои, то лучше подготовить стены грунтовкой раствором клея с фунгицидом. Виниловые обои воздухонепроницаемы, и, как результат, вся остающаяся под обоями влага не сможет испариться. Это может привести к развитию плесени.

3. Наносите грунтовку или разведенный клей большой малярной кистью.

39. Скрытие пятен перед отделкой

Если у вас на потолке или стене есть пятно от воды, то первое, что надо сделать, это убедиться, что источник протечки ликвидирован. Маскировка неустраненных протечек в любом случае приведет только к дальнейшим проблемам, так как вода найдет себе путь в другом месте. Устранив протечку, можно приступать к следующему проекту.

Если у вас была протечка на окрашенном потолке или влага прошла через старую стену, то, сколько бы слоев эмульсионной краски или обоев вы ни сделали, пятно все равно будет проступать. Единственным вариантом остановить это будет применение сначала непрозрачной грунтовки, масляной краски или краски на основе растворителя. Затем поверх этого можно красить эмульсией или клеить обои.

Вам понадобится:

• «сахарное» мыло для смывания пятен от ожогов, масла в кухне, пятен от сажи или никотина;

• непрозрачная грунтовка, масляная краска или на основе растворителя.

Для скрытия пятна:

1. Убедитесь, что причина пятна устранена.

2. В случае ожога, масляного пятна в кухне, пятен от никотина или сажи затронутые места необходимо тщательно промыть раствором так называемого «сахарного» мыла (специальное моющее средство). Это мыло представляет собой кристаллическую щелочь (которая выглядит в порошковой форме как сахар). Продается и в порошковом, и в жидком виде.

Вход
Поиск по сайту
Ищем:
Календарь