Книга Дом кривых стен, страница 14 – Содзи Симада

Авторы: А Б В Г Д Е Ж З И Й К Л М Н О П Р С Т У Ф Х Ч Ш Ы Э Ю Я
Книги: А Б В Г Д Е Ж З И Й К Л М Н О П Р С Т У Ф Х Ц Ч Ш Щ Ы Э Ю Я
Бесплатная онлайн библиотека LoveRead.in

Онлайн книга «Дом кривых стен»

📃 Cтраница 14

– Да. Но это же второй этаж; даже если решеток нет, залезть трудно. Это я про южное окно. А через западное легко можно забраться. Хотя в комнате ничего ценного не имеется.

– Вот здесь на полу ядра. Они всегда здесь лежат?

– О! Я не обратил внимания.

– Обычно они хранятся в шкафу?

– Необязательно, они могут лежать где угодно.

– Ядра несколько раз перевязаны шнурком, и к ним прикреплены деревянные бирки, так?

– Точно. Ядра бывают двух видов – четыре и семь килограммов. Когда их покупали, к каждому привязали бирку с указанием веса. Купить-то купили, но ими так никто и не пользовался. И дисками тоже. Так и лежат без дела.

– Понятно. Но тут вот какой момент – шнурок с биркой «семь кг» что-то длинноват, мне кажется…

– Серьезно? Развязался, что ли? А я и не заметил.

– Нам кажется, кто-то надставил шнурок, чтобы он был длиннее. Его длина до того места, где привязана бирка, метр сорок восемь сантиметров.

– Что?! Вы думаете, это сделал преступник?

– Вполне возможно. И еще одно. Размеры бирки с надписью: «семь кг» – три на пять сантиметров, толщина – примерно сантиметр. К ее краю приклеена полоска скотча три сантиметра длиной. Скотч, похоже, свежий.

– Ого!

– Вы об этом что-нибудь знаете?

– Понятия не имею.

– Это хитрость? Вы думаете, преступник нарочно скотч прилепил? – спросил Кусака.

– Хм, интересно… А здесь есть еще вентиляционное отверстие, сантиметров двадцать, наверное. Оно выходит на эту лестницу, правильно?

– Все верно. Но из дома, стоя в коридоре, через эту дырку в номер десятый заглянуть не получится. Встаньте перед двенадцатым номером и убедитесь, что вентиляционное отверстие десятого номера выведено в стене слишком высоко. В других помещениях – например, в двенадцатом номере, – может, и можно через вентиляцию что-то разглядеть, если на что-то встать, но только не в десятом…

– Я в курсе. Сам уже успел проверить.

– Так или иначе, нельзя сказать, что это классический случай запертой комнаты. Следов нет, значит, преступник как-то использовал вентиляционное отверстие, – сказал Тогай.

– В такую дырку даже голова не пролезет, – заметил Кусака. – Но как же тогда привязанная к кровати рука и эта хитрость с ядром? Для этого надо было проникнуть в комнату.

– А как же следы?

– Понятия не имею. А вот закрыть дверь изнутри, думаю, совсем не сложно.

– Хм, – оживился Сабуро Усикоси. – Хотелось бы послушать.

– Рассказать? – спросил Кусака. Инспектор кивнул.

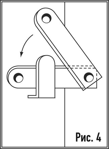
– Все очень просто. Десятый номер обычно используется как кладовая, и, когда в комнате никто не живет, ее закрывают снаружи на висячий замок. Когда приезжают гости, замок снимают, и дверь запирается изнутри на металлическую защелку. Самую простую; ее приделали, чтобы можно было в этой комнате ночевать. От преступника требовалось лишь приподнять защелку, которая поднимается и опускается, как шлагбаум на железнодорожном переезде, подпереть ее, скажем, снежком и уйти к себе. Через некоторое время снежок растаял, и защелка встала на место, заперев дверь изнутри.

Иллюстрация к книге — Дом кривых стен [i_004.jpg]

[Рис. 4]


– Невероятно! Здорово! – раздались восхищенные возгласы со стороны представителей «Кикуока беаринг».

Но удивить Усикоси было не так-то легко.

– Мы тоже думали над этим вариантом. Однако металлическая скоба защелки прикреплена к деревянной панели, и она оказалась совершенно сухой. Никаких следов влаги. Так что крайне маловероятно, что преступник применил этот трюк.

– Значит, он действовал не так? – Кусака явно был ошеломлен.

– Выходит, как-то по-другому.

Все замолчали в задумчивости.

– И все же, мне кажется, с запертой комнатой мы как-нибудь разберемся. Не такая уж это трудная загадка. Меня больше другое беспокоит.

– Что же?

– Похоже, придется поломать голову. И все вы должны нам помочь. Ничего не поделаешь, но надо сказать откровенно: маловероятно, что преступник – кто-то из вас.

Послышался негромкий смех.

– Знаю, что это противоречит всему, что говорил до сих пор, но я не вижу среди вас человека, который мог бы быть убийцей. И это ставит меня в тупик. Я имею в виду мотивы. Кто был знаком с Кадзуя Уэдой до вчерашнего дня? За исключением господ из «Кикуока беаринг» большинство – Хамамото-сан, Эйко-сан, супруги Хаякава, Кадзивара-сан, Тогай-сан, Кусака-сан и Ёсихико-сан – видели его только второй раз. Первый раз – летом. Правильно? Общались с ним накоротке, он был нелюдим и очень молчалив. Чтобы возникла мысль убить человека, нужно как минимум быть хорошо с ним знакомым. Но никто из вас не знал его настолько хорошо.

Снова раздался сухой смешок.

– Вообще-то, убийство – дело совершенно невыгодное. Человек с именем и положением, живущий в таком замечательном доме, совершив убийство, может лишиться всего и оказаться в тюрьме. Не могу себе представить, что он настолько безрассуден. То же самое можно сказать о Кикуоке-сан, Аикуре-сан, Канаи-сан и его жене. Я не вижу здесь никого, кто имел бы повод или причину убить Кадзуя Уэду, человека неприметного, простого шофера. В этом и заключается загадка.

«Все верно», – размышляли про себя Тогай, Кусака и Эйко. До Уэды действительно никому не было дела. Будь он, к примеру, посимпатичнее, у него мог бы возникнуть с кем-то конфликт из-за женщины, и тогда об этом ходили бы разговоры; будь он заносчив, задирист, тоже были бы проблемы. Но в том-то и дело, что Уэду, фигуру настолько второстепенную, убивать не было никакой необходимости. Ни денег, ни положения, ни чего-то такого в характере, что могло бы вызвать у кого-то зависть.

Сабуро Усикоси наблюдал за выражением лиц сидевших за столом людей, и у него мелькнула мысль: а не произошла ли здесь ошибка? Мог ли убийца перепутать Уэду с кем-то другим, кого он собирался убить? Может, Уэда – случайная жертва?

Но ведь все знали, что номер десятый выделен Уэде и именно он там ночует. Комнатами он ни с кем не менялся. У номера десятого есть особенность – войти в него можно только с улицы. Невозможно представить, что кто-то собирался проникнуть в номер девятый и по ошибке оказался в десятом.

Картина не складывалась. Кадзуя Уэда совершенно не подходил на роль жертвы. Оставалось только думать, что убить должны были кого-то другого.

– Если все-таки преступник среди вас, советую сегодня ночью пуститься в бега. Поэтому не будем терять времени. Специально для него.

По тому, как Усикоси произнес эти слова, было похоже, что он не шутит. Как бы разговаривая с самим собой, полицейский продолжил:

Вход
Поиск по сайту
Ищем:
Календарь