Онлайн книга «Путь к трону. Историческое исследование»
|
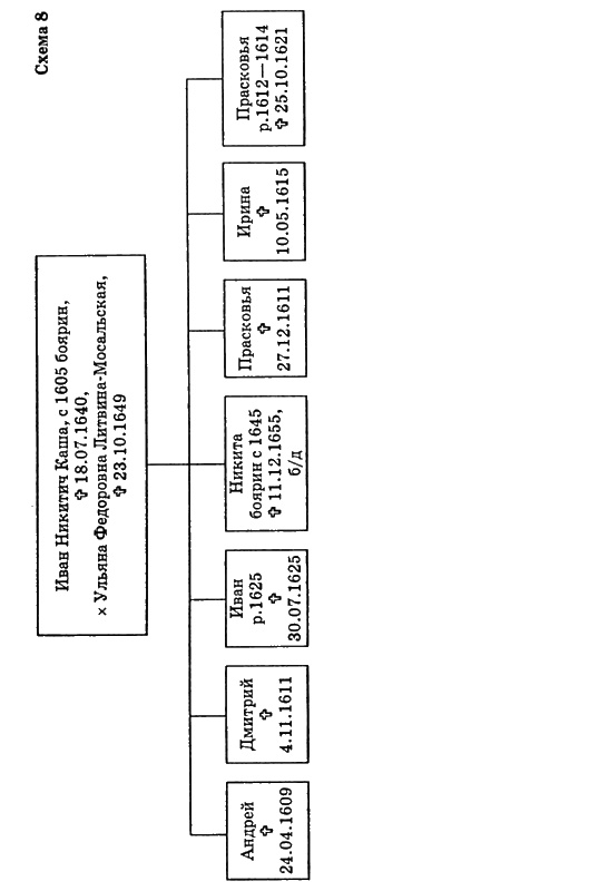
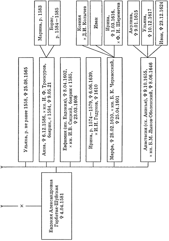
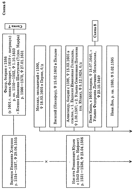
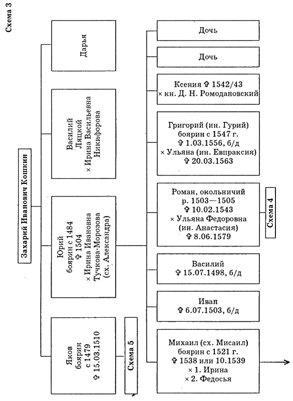
Назаров В. Генеалогия Кошкиных — Захарьиных — Романовых и предание об основании Георгиевского монастыря. — Историческая Генеалогия. Вып. 1. Екатеринбург, Зеркало, 1993. Некрасов С. Предки царя Михаила Федоровича. — Тверь, 1913. Низовский А. Русские самозванцы. — М., Прибой, 1999. Павлов А. Государев двор и политическая борьба при Борисе Гд-дунове. — СПб, Наука, 1992. Пасхалова Т., Станюкович А. Усыпальница прародителей царского дома Романовых в московском ставропигиальном Новоспасском монастыре. — М., Новоспасский монастырь, 1997. Петров П. История русского дворянства. — СПб, Книгоиздательство Германа Гоппе, 1886. Платонов С. Очерки по истории смуты в Московском государстве. XVI–XVII вв. — М., Памятники исторической мысли, 1995. Пыля ев М. Старая Москва. — М., Московский рабочий, 1996. Пятницкий П. Сказание о венчании на царство русских царей и императоров. — М., 1896. Раков Э. Монастырь опальных княгинь. — СПБ, 1995. Рыжов К. Все монархи мира. Россия. — М., Вече, 1998. Савелов Л. Бояре Романовы. — М., 1914. Савелов Л. Лекции по генеалогии. — М., Археографический центр, 1994. Скрынников Р. Борис Годунов. — М., Наука, 1978. Скрынников Р. Великий государь Иоанн Васильевич Грозный. — Смоленск, Русич, 1998. Скрынников Р. История Российская, IX–XVII вв. — М., Весь мир, 1997. Скрынников Р. Лихолетье. — М., Московский рабочий, 1988. Скрынников Р. На страже московских рубежей. — М., Московский рабочий, 1986. Скрынников Р. Опричный террор. — Л., ЛГУ, 1969. Скрынников Р. Святители и власти. — Лениздат, 1990. Скрынников Р. Социально-политическая борьба в Русском государстве в начале XVII века. — Л., 1985. Соловьев С. История России с древнейших времен. — М., Изд-во социально-экономической литературы, 1960. Станиславский А. Гражданская война в России XVII в. — М., Мысль, 1990. Тихомиров М. Российское государство XV–XVII веков. — М., Наука, 1973. Ткаченко В. Московские великие и удельные князья и цари. — М., Поиск, 1992. Филатович Б. Судьба Романовых, 1912. Худяков М. Очерки по истории Казанского ханства. — М., ИНСТАН, 1991. Шамшурин В. Минин и Пожарский — спасители Отечества. — М., Новатор, 1997. Щуцкая Г. Новые данные о палатах Романовых в Зарядье. (Итоги реставрации 1984–1992 гг.) — Забелинские научные чтения. Исторический музей — энциклопедия отечественной истории и культуры. — М., 1997. Яровицкий Д. История запорожских казаков. — Киев, Наукова думка, 1990. ![]() ![]() ![]() ![]() ![]() ![]() ![]() ![]() ![]() ![]() ![]() ![]() ![]() ![]() ![]() ![]() ![]() |
![Иллюстрация к книге — Путь к трону. Историческое исследование [i_008.jpg] Иллюстрация к книге — Путь к трону. Историческое исследование [i_008.jpg]](img/book_covers/081/81715/i_008.jpg)
![Иллюстрация к книге — Путь к трону. Историческое исследование [i_009.jpg] Иллюстрация к книге — Путь к трону. Историческое исследование [i_009.jpg]](img/book_covers/081/81715/i_009.jpg)
![Иллюстрация к книге — Путь к трону. Историческое исследование [i_010.jpg] Иллюстрация к книге — Путь к трону. Историческое исследование [i_010.jpg]](img/book_covers/081/81715/i_010.jpg)
![Иллюстрация к книге — Путь к трону. Историческое исследование [i_011.jpg] Иллюстрация к книге — Путь к трону. Историческое исследование [i_011.jpg]](img/book_covers/081/81715/i_011.jpg)
![Иллюстрация к книге — Путь к трону. Историческое исследование [i_012.jpg] Иллюстрация к книге — Путь к трону. Историческое исследование [i_012.jpg]](img/book_covers/081/81715/i_012.jpg)
![Иллюстрация к книге — Путь к трону. Историческое исследование [i_013.jpg] Иллюстрация к книге — Путь к трону. Историческое исследование [i_013.jpg]](img/book_covers/081/81715/i_013.jpg)
![Иллюстрация к книге — Путь к трону. Историческое исследование [i_014.jpg] Иллюстрация к книге — Путь к трону. Историческое исследование [i_014.jpg]](img/book_covers/081/81715/i_014.jpg)
![Иллюстрация к книге — Путь к трону. Историческое исследование [i_015.jpg] Иллюстрация к книге — Путь к трону. Историческое исследование [i_015.jpg]](img/book_covers/081/81715/i_015.jpg)
![Иллюстрация к книге — Путь к трону. Историческое исследование [i_016.jpg] Иллюстрация к книге — Путь к трону. Историческое исследование [i_016.jpg]](img/book_covers/081/81715/i_016.jpg)
![Иллюстрация к книге — Путь к трону. Историческое исследование [i_017.jpg] Иллюстрация к книге — Путь к трону. Историческое исследование [i_017.jpg]](img/book_covers/081/81715/i_017.jpg)
![Иллюстрация к книге — Путь к трону. Историческое исследование [i_018.jpg] Иллюстрация к книге — Путь к трону. Историческое исследование [i_018.jpg]](img/book_covers/081/81715/i_018.jpg)
![Иллюстрация к книге — Путь к трону. Историческое исследование [i_019.jpg] Иллюстрация к книге — Путь к трону. Историческое исследование [i_019.jpg]](img/book_covers/081/81715/i_019.jpg)
![Иллюстрация к книге — Путь к трону. Историческое исследование [i_020.jpg] Иллюстрация к книге — Путь к трону. Историческое исследование [i_020.jpg]](img/book_covers/081/81715/i_020.jpg)
![Иллюстрация к книге — Путь к трону. Историческое исследование [i_021.jpg] Иллюстрация к книге — Путь к трону. Историческое исследование [i_021.jpg]](img/book_covers/081/81715/i_021.jpg)
![Иллюстрация к книге — Путь к трону. Историческое исследование [i_022.jpg] Иллюстрация к книге — Путь к трону. Историческое исследование [i_022.jpg]](img/book_covers/081/81715/i_022.jpg)
![Иллюстрация к книге — Путь к трону. Историческое исследование [i_023.jpg] Иллюстрация к книге — Путь к трону. Историческое исследование [i_023.jpg]](img/book_covers/081/81715/i_023.jpg)
![Иллюстрация к книге — Путь к трону. Историческое исследование [i_024.jpg] Иллюстрация к книге — Путь к трону. Историческое исследование [i_024.jpg]](img/book_covers/081/81715/i_024.jpg)