Книга Никола Тесла, страница 12 – Олег Арсенов

Авторы: А Б В Г Д Е Ж З И Й К Л М Н О П Р С Т У Ф Х Ч Ш Ы Э Ю Я
Книги: А Б В Г Д Е Ж З И Й К Л М Н О П Р С Т У Ф Х Ц Ч Ш Щ Ы Э Ю Я
Бесплатная онлайн библиотека LoveRead.in

Онлайн книга «Никола Тесла»

📃 Cтраница 12

Проследить деятельность Теслы в этот период просто невозможно. Кажется, будто он одновременно присутствует везде, работая в нескольких перекликающихся и взаимосвязанных областях, но всегда с электричеством — таинственной материей, основой его исследований. Для него электричество было скорее жидкостью с трансцендентными силами, которые «снисходят» до подчинения физическим законам, но никак не потоком дискретных частиц (или волновых пакетов), послушных законам механики, как это принято в современной теории.

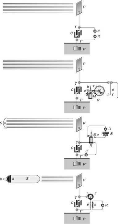
Иллюстрация к книге — Никола Тесла [i_025.jpg]

Патентная схема утилизации потока электрической энергии излучения: Р — приемная антенна; T, Т1, d, R- элементы контура; P1 — заземление; С — конденсатор; а, b, М — элементы реле; В — питание реле; Р, s — обмотки трансформатора; k, S — излучатель.

Иллюстрация к книге — Никола Тесла [i_026.jpg]

Патентная схема Теслы беспроводной передачи электрических сигналов: D1, D2, d1, d2, d3, d4, d5 — антенны; S1, S2, S3, S4, S5, P1, P2, P3 — катушки индуктивности; С — емкость; R — сопротивление; L — индуктивность.


В это же время изобретатель продолжал совершенствовать свои генераторы переменного тока, выпуская их с известным промышленником Вестингаузом на совместном предприятии «Вестингауз Электрик». Тесла также продолжал вести яростную идеологическую войну со сторонниками постоянного тока, возглавляемыми Эдисоном, и разрабатывать уникальные радиоуправляемые модели транспортных средств. Он постоянно участвовал в работе различных форумов и выставок, где его экспозиция с действующими приборами и оборудованием производила фурор.

Магия эфира

Я считаю, что квантовая механика далека от совершенства. Я верю в это, потому что не видел еще интерпретации квантовой механики, которая имела бы какой-то смысл.

Я тщательно изучил большую часть предложенных интерпретаций, много над ними размышлял и все равно внятнее квантовая теория для меня не стала. Кроме того, проблема измерений кажется мне нерешаемой в рамках современной физики. Следовательно, квантовая механика — это приближенное описание более фундаментальной физической теории…

Но как же нам описывать физику, если мы откажемся от терминологии физических тел, движущихся в фиксированном пространстве-времени? Эйнштейн бился над этим всю жизнь и в конце концов нащупал правильный путь: фундаментальная физика должна быть дискретна и ее описание должно быть сделано на языке алгебры и комбинаторики.

Ли Смолин. Три пути к квантовой гравитации

Мир существует независимо от нашего сознания. Ему нет никакого дела до того, как мы, часть этого мира, представляем себе внутренние механизмы его внешних проявлений. Это важно только для нас самих. Все дело в другом: как далеко мы можем продвинуться на этом пути? И до каких пор сможем уточнять наши представления о причинах наблюдаемых явлений? Вместо вопроса о физической реальности мы должны решить вопрос о границах научного метода, который после изобретения квантовой механики стал особенно актуален.

Л. И. Пономарёв. Под знаком кванта
Иллюстрация к книге — Никола Тесла [i_027.jpg]

В глубинах мира квантов.


Ранней осенью 1899 года Тесла вернулся в Нью-Йорк с огромным запасом новых наблюдений, множеством фотографий невиданных в лабораторных условиях разрядов и, как он думал, замечательным открытием «геомагнитных стоячих волн» и «электроэфирных миражей». Как только он рассказал о некоторых из своих открытий знакомым, те, пораженные необычными результатами, сразу же стали настойчиво рекомендовать опубликовать научную статью, обосновывающую возможность осуществления передачи электроэнергии без проводов через Землю на любые расстояния. Так в журнале «Эпоха», редактором которого был друг Теслы Джонсон, в июньском номере за 1900 год появился обширный обзор «Проблема увеличения запасов энергии человечества, со специальными рекомендациями по использованию энергии Солнца».

Сколько замечательных научных пророчеств высказал тогда Тесла! Там обсуждались и значение альтернативной энергетики, и преобразование солнечной энергии, и металлы будущего, и добыча полезных ископаемых, и газовые турбины. Писал изобретатель и об использовании внутреннего тепла Земли, и о вероятности создания «самосовершенствующихся» автоматов, обладающих «электрическим мозгом»; о принципах управления машинами на любом расстоянии, передаче электроэнергии без проводов в любую точку земного шара, а также о возможности межпланетных радиосообщений. Причем среди этого множества инновационных идей Теслы доминировала одна — могущество человеческого разума поистине беспредельно.

Статья вызвала большой общественный резонанс, и имя изобретателя долго не сходило со страниц прессы.

Иллюстрация к книге — Никола Тесла [i_028.jpg]

Патентное изображение турбины Теслы.

Иллюстрация к книге — Никола Тесла [i_029.jpg]

Макет турбины Теслы.


Разработки турбин Теслы дали новый импульс давним проектам изобретателя по созданию летательных аппаратов вертикального взлета и посадки — авиеток. Довольно долго Тесла не мог подобрать для них подходящий двигатель, и вот именно безлопастная турбина со впрыском горючих веществ предоставила ему такую возможность. Раскручивая лопасти геликоптера, газотурбинный агрегат Теслы мог бы в считанные мгновения поднять аппарат в воздух и придать ему очень высокую скорость в горизонтальном направлении.

Иллюстрация к книге — Никола Тесла [i_030.jpg]

Двухтурбинный летательный аппарат Теслы.


В октябре 1899 года опытами ученого неожиданно заинтересовался один из богатейших дельцов Уолл-стрит Морган. Глава всемирно известного банкирского дома не отличался филантропией и не стал бы обращать внимание на беспочвенные прожекты, но опыты Теслы потрясли даже его скептическое воображение. Вскоре ученый был приглашен в дом Моргана, где в беседах родился невиданный проект создания «всемирной энергоинформационной системы с сетью глобальных эфирно-резонансных станций».

Иллюстрация к книге — Никола Тесла [i_031.jpg]

Проект аппарата вертикального взлета.


С 1857 по 1861 год Морган служил в банке «Данкан, Шерман и компания» в Нью-Йорке. После работы в различных компаниях в 1871 году он стал партнером в «Дрекслер, Морган и компания». После смерти партнера в 1893 году фирма была преобразована в банкирский дом «Дж. П. Морган и компания». В союзе с зависимыми от него банками в Филадельфии, Париже и Лондоне дом на то время был крупнейшей финансовой компанией в мире.

Вход
Поиск по сайту
Ищем:
Календарь