Онлайн книга «Хранители гробницы»
|
Число 666 отсутствовало в указателях из Храма Над писей в Паленке, но было зашифровано в ожерелье на его шее — не само по себе, а в виде производных от чисел высшего порядка. В гробнице Пакаля не было места для числа 666. Далее в Книге Откровения сказано: «И после сего видел я четырех Ангелов, стоящих на четырех углах земли [север, юг, запад и восток], держащих четыре ветра земли, чтобы не дул ветер ни на землю, ни на море, ни на какое дерево. И видел я иного Ангела, восходящего от востока солнца и имеющего печать Бога живого. И воскликнул он громким голосом к четырем Ангелам, которым дано вредить земле и морю, говоря: Не делайте вреда ни земле, ни морю, ни деревам, доколе не положим печати на челах рабов Бога нашего. И я слышал число запечатленных: запечатленных было сто сорок четыре тысячи из всех колен Сынов Израилевых». Давайте опять посмотрим на расшифрованное изображения правителя Пакаля с крышки саркофага из Паленке (рис. А52). На его лбу стоит отметина «живого бога», число 144000. Не стоит удивляться современным цифрам, так как Пакаль мог одинаково хорошо видеть прошлое, настоящее и будущее. Это подтверждают слова из священной книги майя «Пополь-Вух»: «Они были наделены проницательностью; они видели, и их взгляд тотчас же достигал своей цели. Они преуспевали в видении, они преуспевали в знании всего, что имеется на свете. Когда они смотрели вокруг, они сразу же видели и созерцали от верха до низа свод небес и внутренность земли… Велика была мудрость их, их зрение достигало лесов, скал, озер, морей, гор и долин. Поистине, они были изумительными людьми…» («Пополь-Вух», ч. III, гл. 2).
Иисус (рис. А53а) проповедовал «чистоту сердца», как и маленький человек, закрывающий лицо правителя Пакаля (рис. А53b). Изображения такого же маленького человека в шляпе были обнаружены в гробнице Виракочи Пачакамака (рис. А33с), где он ассоциируется с числом 144 000. Ожерелье Тутанхамона в виде солнечных лучей (рис. А54) содержит зашифрованную информацию о тайной науке Солнца. Брошь в виде скарабея, одна из 143 украшений, обнаруженных в покровах мумии Тутанхамона, тоже содержит тайное знание (рис. А35 и А56), а сам Тутанхамон был 144-м «объектом» в своем саркофаге. В течение более чем 1250 лет достижения цивилизации майя были недооценены и неправильно поняты. Археологи ошибочно полагают, будто их верования сводились к поклонению языческим богам и кровожадным ритуалам. На самом деле король-жрец майя, правитель Пакаль, использовал этих богов как актеров в грандиозной театральной постановке, которые разыгрывали сцены, отраженные в зашифрованных картинах и раскрывавшие секреты жизни и вселенной. Теперь эти картины вернулись к жизни и повествуют не только об истории майя, но и о тайной науке высокого порядка, объясняющей влияние Солнца на земную жизнь. В историях с крышки саркофага из Паленке говорится о смысле жизни и смерти, о путешествии души через нижний мир и о том, как очищенная душа может вернуться к творцу или впоследствии возродиться для новой попытки духовного очищения. В других историях (не упомянутых в этой книге), интерепретируемых в соответствии с общепринятыми мифологическими верованиями, повествуется о «раях» (различных местах, куда попадают усопшие) и о «пяти солнечных эпохах», четыре из которых закончились катастрофами. Есть также истории, где говорится о периодах бесплодия, вызванных магнитными циклами Солнца. Информация со стелы J из Копана придает новый смысл словам из священной книги «Пополь-Вух»: «Пополь-Вух более нельзя увидеть… Подлинная книга, написанная много времени назад, существует, но зрелище ее скрыто от того, кто ищет и думает». ![]() Рис. А43. Расшифровка происходит в несколько этапов, (а) Обратите внимание на отсутствие двух уголков, обведенных рамкой на нижнем рисунке (b). Из-за этого бордюрные узоры на углах крышки наполовину отсутствуют. Первый шаг заключается в их восстановлении.
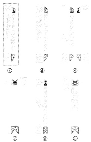
![]() Рис. А44. Следующий этап (d) заключается в выявлении кодовых бордюрных узоров, образованных недостающими углами. Их можно получить с помощью зеркальной слайд-копии оригинала, (е) При совмещении слайда с оригиналом (f) мы получаем верхний бордюрный код с изображением магнитных петель. При дальнейшем сближении слайда и оригинала возникает нижний бордюрный код из пяти точек (g). Для продолжения анализа обе половинки нужно соединить так, как на рисунке (h). ![]() Рис. А45 (а-с) При раскрашивании бордюрных кодовых узоров на рис. А44. появляются секретные картинки: (е) голова птицы, (f) лицо человека с черной повязкой на глазах и крошечными бабочками на губах, (g) тигриная морда и (h) собака с оскаленными зубами и повязкой на глазах. На этом этапе расшифровки рисунки можно считать незавершенными и неубедительными. ![]() Рис. А46. Иконографические кодовые картинки можно обнаружить по всему бордюру крышки саркофага. Некоторые из них показаны наверху: (а) летучая мышь с раскинутыми крыльями, (b) два символа в форме ушей, (с) изображение солнечного бога Тонагиу с «магнитной петлей» на лбу, (d) птицы с раскинутыми крыльями и (е) босой человек с закрытыми глазами, скрестивший руки на груди. Опять-таки на этом этапе расшифровки рисунки можно считать незавершенными и неубедительными. ![]() Рис. А47. Внимательное изучение бордюрного кода на другой стороне крышки (а) позволяет выявить человеческий профиль с необычным дефектом на носу, придающим ему форму банана. Этот дефект можно исправить с помощью уже описанного метода, пользуясь прозрачными слайд-копиями (b-с). ![]() Рис. А48. Исправление дефекта на бордюрном коде привлекает внимание к центральному персонажу на резьбе крышки (а), который имеет сходный дефект, подробно показанный на рисунке (b). Следуя вышеизложенным инструкциям, мы можем устранить этот дефект с помощью наложения слайд-копий. ![]() |
![Иллюстрация к книге — Хранители гробницы [i_140.jpg] Иллюстрация к книге — Хранители гробницы [i_140.jpg]](img/book_covers/079/79275/i_140.jpg)
![Иллюстрация к книге — Хранители гробницы [i_141.jpg] Иллюстрация к книге — Хранители гробницы [i_141.jpg]](img/book_covers/079/79275/i_141.jpg)
![Иллюстрация к книге — Хранители гробницы [i_142.jpg] Иллюстрация к книге — Хранители гробницы [i_142.jpg]](img/book_covers/079/79275/i_142.jpg)
![Иллюстрация к книге — Хранители гробницы [i_143.jpg] Иллюстрация к книге — Хранители гробницы [i_143.jpg]](img/book_covers/079/79275/i_143.jpg)
![Иллюстрация к книге — Хранители гробницы [i_144.jpg] Иллюстрация к книге — Хранители гробницы [i_144.jpg]](img/book_covers/079/79275/i_144.jpg)
![Иллюстрация к книге — Хранители гробницы [i_145.jpg] Иллюстрация к книге — Хранители гробницы [i_145.jpg]](img/book_covers/079/79275/i_145.jpg)
![Иллюстрация к книге — Хранители гробницы [i_146.jpg] Иллюстрация к книге — Хранители гробницы [i_146.jpg]](img/book_covers/079/79275/i_146.jpg)