Книга Справочник мастера отделочных работ, страница 45 – Владимир Захарченко

Авторы: А Б В Г Д Е Ж З И Й К Л М Н О П Р С Т У Ф Х Ч Ш Ы Э Ю Я
Книги: А Б В Г Д Е Ж З И Й К Л М Н О П Р С Т У Ф Х Ц Ч Ш Щ Ы Э Ю Я
Бесплатная онлайн библиотека LoveRead.in

Онлайн книга «Справочник мастера отделочных работ»

📃 Cтраница 45

Выложить плиткой половину комнаты. После того, как клей схватится, рейку снимают и выкладываю плиткой вторую половину комнаты до двери. Так называемые концевые плитки укладывают в последнюю очередь, как только схватится клей и по полу можно будет ходить.

Концевые плитки нельзя ставить в распор к стене. Заканчивать укладку следует швом.

Для того чтобы разметить концевые плитки, применяют метод «трех плиток». Целую плитку кладут на последнюю уложенную плитку, а поверх нее кладут еще одну (у стены помещают крестик). По средней плитке проводят линию, используя верхнюю плитку в качестве направляющей (рис. 114).

Иллюстрация к книге — Справочник мастера отделочных работ [_114.jpg]

Рис. 114. Разметка концевых плиток методом «трех плиток»


Для обрезки плитки используют плиткорез. На лицевой стороне плитки делают надрез, а потом, нажимая на рычаг инструмента, обламывают плитку по насечке (рис. 115).

Иллюстрация к книге — Справочник мастера отделочных работ [_115.jpg]

Рис. 115. Обрезка плитки плиткорезом


Если нужно обрезать плитку по кривой линии, то ее закрепляют на верстаке таким образом, чтобы обрезаемая часть выступала за край верстака. Затем, надев защитные очки и перчатки, плитку обрезают болгаркой с диском для керамической плитки (рис. 116).

Иллюстрация к книге — Справочник мастера отделочных работ [_116.jpg]

Рис. 116. Обрезка плитки по кривой болгаркой


Затирку межплиточных швов начинают через 24 ч после того, как схватится клей (рис. 117).

Иллюстрация к книге — Справочник мастера отделочных работ [_117.jpg]

Рис. 117. Затирка швов резиновым шпателем


Горку затирки выкладывают на поверхность и разравнивают резиновым шпателем. Для заполнения швов применяют резиновый шпатель. Шов нужно не просто заполнить затиркой, а хорошо втереть в него затирочный раствор.

Затирать швы по всей поверхности сразу не стоит. Лучше всего, сначала, распределить затирку на участке площадью 1 – 2 м2, чтобы выяснить, насколько быстро она схватывается.

После того, как будут заполнены все швы, надо удалить лишнюю затирку с помощью терки. Терку держат почти под прямым углом к поверхности плитки.

Двигают инструментом по диагонали, относительно швов, чтобы край терки случайно не попал в шов и не удалил часть затирки.

Если часть затирки все же удалилась, то следует добавить в шов немного раствора и выровнять поверхность шва.

После удаления излишков надо дать затирке время схватиться. Обычно это занимает от 5 до 20 мин или больше. Потом приступают к влажной очистке плитки. На высыхание затирки влияют разные факторы. Это и погодные условия, и типы основания, клея и плитки.

Для того чтобы определить, насколько плитка и затирочные швы готовы к очистке, используют губку, смоченную в воде. Губкой сильно проводят по плитке. Если затирка схватилась слишком сильно, то плитку придется очищать абразивной теркой. Если же за губкой тянется затирка из швов, значит, что она схватилась плохо и нужно подождать еще несколько минут.

Очищать плитку можно тогда, когда затирка в швах не будет размазываться.

Затирка в швах должна быть эластичной и плотной.

Если времени с момента схватывания затирки до очистки прошло много и затирка присохла к плитке, то очистить ее можно, используя терку с зажатой наждачной бумагой или сеткой.

В отличие от других, терка с сеткой не оставляет царапин на поверхности плитки. После того, как плитка будет очищена от затирки, по ней следует пройтись влажной, хорошо отжатой губкой.

На последнем этапе плитку и швы можно покрыть герметиком. Делают это спустя несколько дней после очистки плитки.

Наносят герметик, исходя из указаний производителя.

Для того чтобы покрыть герметиком плитку и швы, подойдет малярный валик. Если покрываться будут только швы, то подойдет небольшая кисточка. Излишки герметика, которые при этом могут попасть на плитку, сразу же удаляют. Дают герметику высохнуть.

Иллюстрация к книге — Справочник мастера отделочных работ [_0c.jpg]

Герметики предназначены для герметизации строительных швов, стыков, соединений. По типу основы герметики делятся на силиконовые, уретановые, акриловые и тиоколовые.

Особенности диагональной облицовки пола

При облицовке пола плитку можно выкладывать не только прямыми, но и диагональными рядами. Порядок плиточных работ будет такой же.

Для создания диагональной облицовки используют квадратную плитку, которую укладывают ромбами, т. е. под углом 45°. Такой способ облицовки целесообразен только для больших помещений.

При диагональной облицовке по периметру выкладывают фриз из треугольных плиток. Расположение фриза зависит от положения рядов основного фона облицовки. Количество треугольных плиток для фриза рассчитывают по следующей формуле:

T = h / (1,4a + 2b),

где T – количество треугольных плиток, шт.,

h – длина фриза, мм,

а – длина стороны квадратной плитки, мм,

b – толщина межплиточного шва, мм,

1,4 – числовой коэффициент, указывающий размер большей стороны треугольной плитки.

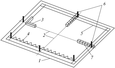
Разметку наносят так же, как для линейной облицовки. Шнурами размечают центральные поперечные оси и продольную ось. Затем отмечают точку их пересечения.

Фриз из треугольных плиток выкладывают насухо. Ориентируясь на него, размечают всю поверхностью пола и укладывают маяки.

Ниже показана разметка пола под диагональную облицовку (рис. 118).

Потом крепят на раствор фризовые плитки и переходят к укладке основного фона. Если проектом предусмотрен заделочный ряд между фризом и основным фоном, его выкладывают по периметру пола линейным рядом из четырехугольных плиток. Работу по облицовке основной поверхности пола ведут от одного или двух углов, расположенных дальше от выхода.

На рисунке 119 изображен промежуточный этап создания диагональной облицовки.

Иллюстрация к книге — Справочник мастера отделочных работ [_118.jpg]

Рис. 118. Разметка пола под диагональную облицовку: 1 – заделочный ряд, 2 – продольная и поперечная ось, 3 – угольник, 4 – фризовый ряд, уложенный насухо, 5 – линия фриза, 6 – гвозди для крепления разметочных

Вход
Поиск по сайту
Ищем:
Календарь