Книга Крейсер «Очаков», страница 26 – Рафаил Мельников

Авторы: А Б В Г Д Е Ж З И Й К Л М Н О П Р С Т У Ф Х Ч Ш Ы Э Ю Я
Книги: А Б В Г Д Е Ж З И Й К Л М Н О П Р С Т У Ф Х Ц Ч Ш Щ Ы Э Ю Я
Бесплатная онлайн библиотека LoveRead.in

Онлайн книга «Крейсер «Очаков»»

📃 Cтраница 26

В январе 1902 г. определился и состав насалки. За неимением установленных нормативов каждый строитель составлял ее самостоятельно. В Севастопольском казенном адмиралтействе, еще ни разу не спускавшем крупные корабли, решили использовать состав, примененный при спуске „Ростислава” в Николаеве: сала говяжьего 57 %, сала слойкового 16 %, масла конопляного 13 % и мыла зеленого 14 %. Общий расход такой насалки при норме 3,52 фунта на 1 кв. фут составил около 470 пудов (7,7 т).

К июлю основные детали спускового устройства были готовы.

Выполненные строителем расчеты спуска были одобрены, и параллельно с завершением корпусных работ начался монтаж спускового устройства.

Напряжение обострялось ожидавшимся „высочайшим присутствием”. Начальство удвоило энергию и неизменно выражало неудовольствие недостаточными, по его мнению, темпами работ. О продвижении их капитан над портом приказал докладывать ему ежедневно. Указания о всемерном ускорении работ поступали и от главного корабельного инженера.

И снова начались хлопоты „по представительству”: показное благоустройство территории, сооружение царского павильона, заказ пригласительных билетов, устройство гирлянд из зелени и цветов, собиравшихся чуть ли не из всех садовых заведений города (для украшения павильона „высочайших особ” были взяты напрокат живые тропические растения и цветы в горшках). Неоднократно уточнялся и церемониал спуска. Окончательную его редакцию просмотрел и откорректировал сам главный командир Черноморского флота вице-адмирал С. П. Тыртов. Он лично распорядился установить на крейсере три флагштока, чтобы можно было одновременно с андреевским и адмиралтейским флагами поднять при спуске и императорский штандарт. Для доставки высоких гостей в Корабельную бухту с Графской пристани отбирались лучшие портовые катера и шлюпки с кораблей.

Торжества начались утром 21 сентября 1902 г. салютом флота, приветствовавшего появление из тоннеля царского поезда. Вслед за традиционным молебном наступила очередь строителя. В парадном мундире офицера корпуса корабельных инженеров, сознавая высокую ответственность момента, Н. И. Янковский, как опытный дирижер1 большого оркестра, уверенно руководил всеми операциями по спуску крейсера — от пересадки его со строительных кильблоков на спусковые полозья до решающей минуты выбивания упорных стрел, задерживающих салазки с кораблем на дорожках. А за ней — всегда волнующий, неуловимый глазом миг начала движения, вот оно нарастает — корабль неудержимо стремится в зовущую его родную стихию!

Глубоко врезалась в воду еще не успевшая всплыть корма „Очакова”, взметнулся пенный гребень воды, и вот, уже поднявшись на ровный киль, задерживаемый сопротивлением воды корабль начинает замедлять свой бег. Загрохотали цепи отдаваемых якорей, и в кружеве пены, под грохот артиллерийского салюта, крейсер остановился. Спуск был завершен благополучно [37].

Глава 4. Достроечный период
§ 16. Местное бронирование и башенные установки

Опередив Петербургский порт чуть ли не на год („Олег” был спущен только 14 августа 1903 г.), севастопольское начальство, обгоняя готовность спущенного ранее (в мае 1902 г.) „Кагула”, рассчитывало ввести „Очаков” в строй первым.

Иллюстрация к книге — Крейсер «Очаков» [pic_7.jpg]
Иллюстрация к книге — Крейсер «Очаков» [pic_8.jpg]

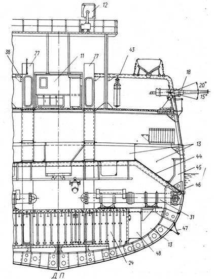
Общее расположение крейсера „Олег", Продольный разрез, вид сверху и план верхней палубы.

1 — салон командира; 2 — 47-мм орудие; 3 — щпиль и приводная брашпильная машина; 4 — щахта злеваторнрй подачи 75-мм патронов; 5 — главный компас; 6 — командирская рубка; 7 — штурманская рубка; 8 — грузовая стрела для подъема парового катера и электролебедка; 9 — коечные сетки; 10 — вентиляционная шахта; 11 — радиорубка; 12 — прожекторы на подвижной тележке на среднем поперечном мостике; 13 — угольная яма; 14 — ходовая рубка; 15 — боевая рубка; 16 — лазарет; 17 — шахта элеваторной подачи 47-мм патронов; 18 — 75-мм орудие; 19 — кран-крамбол;. 20 — мокрая провизия; 21 — цепной ящик; 22 — рефрижераторная мащина; 23 — пародинамомашина; 24 — погреб 152-мм боеприпасов; 25 — погреб 47-мм Латронов; 25 — погреб 64-, 47-и 37-мм патронов; 27 — шахты подачи 152-мм боеприпасов; 28 — центральный пост; 29 — боевой перевязочный пункт (операционная); 30 — котельное отделение; 31 — отделение подводных минных (торпедных) аппаратов; 32 — машинное отделение; 33 — упорный подшипник; 34 — погреб 152- и 37-мм боеприпасов; 35 — погреб 75-мм патронов; 36 — румпельное отделение; 37 — провизионные погреба; 38 — продольный мостик; 39 — 152-мм орудие; 40 — выстрел; 41 — пулемет, установленный на коечных сетках; 42 — горловины для погрузки угля; 43 — ростврные бимсы (для установки шлюпок над верхней палубой) с подвесным рельсом для беседок с патронами; 44 — скос броневой палубы; 45 — коффердам, наполненный пробкой; 46 — положение предполагавшегося по проекту № 5 (1906 г.) броневого пояса толщиной 50,8 мм; 47 — скуловой киль; 48 — коридор для переходов из кормового котельного отделения в среднее.


Первый бронированный крейсер Черноморского флота „Очаков” должен был стать украшением намеченных на осень 1904 г. торжеств 50-летия Синопского боя и Севастопольской обороны, включавших и „высочайший смотр” флота. Эти торжества должны были стать всероссийскими, к ним приурочивалось и открытие ряда памятников севастопольской обороны. Одним словом, опоздать с готовностью крейсера было нельзя!

Теперь все зависело от своевременности поставки плит вертикального бронирования (казематов, боевой рубки, башен, кожухов дымоходов и шахт элеваторов) и самих башенных установок. Если готовые котлы уже были в пути — плыли вокруг Европы к Севастополю, а главные машины монтировались для проведения испытаний на сормовском стенде, то о броне и башнях нельзя было даже сказать, что они существуют хотя бы в проекте.

Лишь в июне 1902 г. МТК установил основные принципы вертикального бронирования крейсеров, распределение поставок брони между заводами и сроки этих поставок. Только в ноябре Янковскому стало известно о представленных Металлическим заводом в МТК чертежах „кораблестроительных работ” по башенным установкам крейсеров; 4 декабря главный командир еще просил МТК о „скорейшем рассмотрении и утверждении” этих чертежей, чтобы дать возможность строителю начать разработку чертежей подачных труб башен.

Иллюстрация к книге — Крейсер «Очаков» [pic_9.jpg]

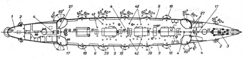
Общее расположение крейсера „Олег”. Поперечное сечение по шп. 68 (см. в нос)


Значительными задержками из-за бесконечных переделок чертежей грозило и сильное опоздание, как это уже не раз случалось, решения МТК (журнал по артиллерии от 22 июня 1902 г.) о руководящих принципах и требованиях „при составлении окончательных чертежей для заказа брони на крейсера”. Как видим, этот важнейший вопрос обсуждался только в июне, хотя был поднят еще в апреле по настоянию главного корабельного инженера Петербургского порта Д. В. Скворцова.

Вход
Поиск по сайту
Ищем:
Календарь