Онлайн книга «Боевые корабли японского флота 10.1918-8.1945 гг. Подводные лодки»
|
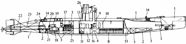
Ro-114 (до декабря 1942 г. заказ № 410) После вступления в строй вошла в состав Одиннадцатои эскадры ПЛ Шестого флота. С 31.12.1943 г. по 14.01.1944 г. она перешла на атолл Трук. 18.02.1944 г. Ro-114 направилась к атоллу Мили (Маршалловы о-ва), имея на борту 20 т продовольствия в палубных контейнерах. 21.02.1944 г. она возвратилась на Трук, не выполнив поставленной задачи, из-за потери контейнеров во время шторма. С 25.02 по 4.03.1944 г. ПЛ доставила на атолл Мили (29.02.1944 г.) 20 т продовольствия, с 14-го по 21.03.1944 г. и с 9-го по 16.05.1944 г. — на атолл Вотье (соответственно 18.03 и 14.05.1944 г.) около 40 т различных грузов (в палубных контейнерах). 9.06.1944 г. Ro-114 направилась в район к востоку от Марианских о-вов для отражения американского наступления в центральной части Тихого океана. 16.06.1944 г. ПЛ (лейтенант Ата) в 300 милях к востоку атаковала одно из американских соединений. По докладу командира корабля, ему удалось двумя торпедами потопить ЛК типа lowa. Фактически атака оказалась безуспешной. 17.06.1944 г. в 80 милях к востоку от о. Тиниан Ro-114 была обнаружена и потоплена американскими ЭМ Melvin и Wadleigh. Ro-115 (до декабря 1942 г. заказ № 411) После вступления в строй вошла в состав Одиннадцатой эскадры ПЛ Шестого флота. С 31.12.1943 г. по 14.01.1944 г. она перешла на атолл Трук. С 8.02. по 14.03.1944 г. Ro-115 патрулировала в районе к западу от атолла Трук. 9.05.1944 г. она направилась к Маршалловым о-вам для борьбы с судоходством противника. 19.06.1944 г. ПЛ (лейтенант Кореедзи) в 300 милях к востоку от Марианских о-вов безуспешно атаковала американский флотский ТН. 5.07.1944 г. она пришла в Йокосуку, где на верфи флота установили РЛС тип 3 мод. 3 модиф. 1 и тип 3 мод. 2 модиф. 2, провели текущий ремонт корпуса и механизмов. С 15.09. по 2.10.1944 г. корабль перешел в Сингапур. С 3.10. по 3.11.1944 г. Ro-115 патрулировала на подходах к о. Цейлон. В ноябре (или декабре) 1944 г. она перешла в Метрополию. 19.01.1945 г. ПЛ направилась в Манильскую бухту для спасения экипажей сбитых самолетов. 31.01.1945 г. в 125 милях к юго-западу от Манилы корабль обнаружили и потопили американские ЭМ Bell, Jenkins, О'Ваnnоn и эскортный миноносец Ulvert М. Мооrе. ![]() ПЛ Ro-109 типа KS после вступления в строй ![]() Эксперемeнтальная ПЛ № 71 ![]() ПЛ Ha-201 типа STS после вступления в строй ![]() Продольный разрез ПЛ типа SТS: 1. ЦГБ; 2. Дифферентные цистерны; 3 Топливные танки; 4. Цистерна пресной воды; 5. 533-мм ТА; 6. Носовой (торпедный) отсек; 7. Центральный отсек; 8. АБ; 9. Центральный пост — боевая рубка; 10. Радиорубка; 11. Отсек вспомогательных механизмов; 12. Отсек насосов главной осушительной системы; 13. Шахта гирокомпаса; 14. Якорный шпиль и его машинка; 15. Пост системы ВВД; 16. Пост ynравления рулями; 17. Дизель; 18. ГЭД; 19. Турбогенератор; 20. Peдуктор турбогенератора; 21. Разобщительная муфта; 22. Кормовой горизонтальный руль; 23. Привод кормовых горизонтальных рулей; 24. Машинка привода кормовых горизонтальных рулей; 25. Цистерна чистых масел; 26. Кранец для хранения 7,7–мм пулемета Ro-116 (до декабря 1942 г. заказ № 412) После вступления в строй вошла в состав Одиннадцатой эскадры ПЛ Шестого флота. 10.03.1944 г. Ro-116 направилась в район к западу от Гавайских о-вов для борьбы с судоходством противника. 25.04.1944 г. она пришла на атолл Трук. 20.05.1944 г. ПЛ направилась в район к северо-западу от о. Новая Ирландия для борьбы с судоходством противника. 24 05.1944 г. в 250 милях к северу от Кавиенга Ro-116 обнаружил и потопил американский эскортный миноносец England. Ro-117 (до декабря 1942 г. заказ № 413) После вступления в строй вошла в состав Одиннадцатой эскадры ПЛ Шестого флота. 19.05.1944 г. Ro-117 должна была направиться к Новой Гвинее для обеспечения операции армии на острове, осталась в водах Метрополии и участия в боевых действиях в южной части Тихого океана не принимала. В конце мая 1944 г. на арсенале флота в Куре установили РЛС тип 3 мод. 3 модиф. 1. 12.06.1944 г. ПЛ направилась в район 300 миль к востоку от Марианских о-вов для противодействия американскому наступлению в центральной части Тихого океана. 17.06.1944 г. в 350 милях к юго-востоку от о. Сайпан ее обнаружили и потопили американские самолеты базовой авиации. В.2. Высокоскоростные № 71
А. Заказана в рамках "Третьей программы по замене" 1937 г. по бюджету на 1937/38 гг. Экспериментanьная. В 1924 г. МТД предложил начать работы над проектом высокоростной ПЛ, способной прорывать сильное противолодочное охранение линейных сил противника. Однако МГШ, включивший этот корабль в программу 1923 г., выделил средства только через шесть лет. В апреле 1930 г. были проведены первые испытания модели лодки, а в декабре в 1937 г. начали ее постройку. Корабль имел обводы легкого корпуса, позволяющие в подводном положении развивать ход свыше 20 узлов. Главные механизмы остались такими же, как и на серийных лодках, но ГЭД был большой мощностью для корабля сравнительно небольших размеров. Вместе с тем, размеры АБ не обеспечивали большую дальность плавания в подводном положении. ПЛ полуторокорпусной конструкции, три отсека, разделенные плоскими переборками, все ЦКБ в прочном корпусе. Два из трех 457-мм ТА располагались в непрочном корпусе под палубной надстройкой в носовой оконечности. После вступления в строй корабль имел два винта, но после первых испытаний один из них демонтировали. Автономность 10 суток. Рабочая глубина погружения 45 м. После двух лет испытаний МТД пришел к выводу о необходимости увеличить объем АБ и мощность ГЭД, но МГШ отказался финансировать дальнейшие работы над проектом высокоскоростной ПЛ. В 1943 г. № 71 использовали при создании кораблей типа STS и ST. Б. ДГ (шестицилиндровый, четырехтактный) — 1200 л. с. (контрактная) + ЭД — 1800 л. с. (контрактная). |
![Иллюстрация к книге — Боевые корабли японского флота 10.1918-8.1945 гг. Подводные лодки [i_091.jpg] Иллюстрация к книге — Боевые корабли японского флота 10.1918-8.1945 гг. Подводные лодки [i_091.jpg]](img/book_covers/077/77684/i_091.jpg)
![Иллюстрация к книге — Боевые корабли японского флота 10.1918-8.1945 гг. Подводные лодки [i_092.jpg] Иллюстрация к книге — Боевые корабли японского флота 10.1918-8.1945 гг. Подводные лодки [i_092.jpg]](img/book_covers/077/77684/i_092.jpg)
![Иллюстрация к книге — Боевые корабли японского флота 10.1918-8.1945 гг. Подводные лодки [i_093.jpg] Иллюстрация к книге — Боевые корабли японского флота 10.1918-8.1945 гг. Подводные лодки [i_093.jpg]](img/book_covers/077/77684/i_093.jpg)
![Иллюстрация к книге — Боевые корабли японского флота 10.1918-8.1945 гг. Подводные лодки [i_094.jpg] Иллюстрация к книге — Боевые корабли японского флота 10.1918-8.1945 гг. Подводные лодки [i_094.jpg]](img/book_covers/077/77684/i_094.jpg)