Книга Боевые корабли японского флота 10.1918-8.1945 гг. Подводные лодки, страница 111 – Юрий Апальков

Авторы: А Б В Г Д Е Ж З И Й К Л М Н О П Р С Т У Ф Х Ч Ш Ы Э Ю Я
Книги: А Б В Г Д Е Ж З И Й К Л М Н О П Р С Т У Ф Х Ц Ч Ш Щ Ы Э Ю Я
Бесплатная онлайн библиотека LoveRead.in

Онлайн книга «Боевые корабли японского флота 10.1918-8.1945 гг. Подводные лодки»

📃 Cтраница 111

В. Надводная: — 15,75 узла (максимальная, контрактная); — 11 узлов (экономическая), подводная: — 19 узлов (максимальная, контрактная); — 3 узла (в течение 15 часов).

Г. 95 т соляра.

Д. Надводная: — 8000 миль (11 узлов); — 5800 миль (16 узлов), подводная: — 18,5 миль (19 узлов); — 135 миль (3 узла).

Е. 10,9%

Ж. 31 человек.

З. 2 (2×1) — 25-мм/60 тип 96 (Д. стр. — 40 кбт./5200 м; от 110 до 260 выстрелов в минуту; 1800 унитарных партронов).

И. 4 носовых ТА 533-мм (10 торпеды).

Л. ПУТС для 533-мм ТА: АПТС тип 93; линейчатый ночной прицел тип 93; командтрский перископ.

М. РЛС обнаружения воздушных целей тип 3 мод. 3 модиф. 1, РЛС обнаружения надводных целей тип 3 мод. 2 модиф. 2.

Иллюстрация к книге — Боевые корабли японского флота 10.1918-8.1945 гг. Подводные лодки [i_083.jpg]

ПЛ I-201 типа ST после вступления в строй

Иллюстрация к книге — Боевые корабли японского флота 10.1918-8.1945 гг. Подводные лодки [i_084.jpg]

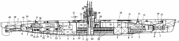
Продольный разрез ПЛ типа ST:

1. ЦГБ; 2. Дифферентные цистерны; 3. Топливные танки; 4. Торпедозаместительная цистерна; 5. Уравнительная цистерна; 6. Цистерны чистых масел; 7. Цистерна циркуляционных масел; 8. Цистерна пресной воды; 9. 533-мм ТА; 10. Торпедный отсек; 11. Торпедопогрузочный люк; 12. Носовая станция ВВД; 13. Носовой горизонтальный руль; 14. Привод носового горизонтального руля; 15. Якорный шпиль и его машинка; 16. Деррик-кран; 17. 25-мм зенитные автоматы; 18. Боевая рубка; 19. Репитер гирокомпаса; 20. Жилой отсек; 21. Центральный отсек (аккумуляторный); 22. АБ; 23. Центральный пост; 24. Шахта гирокомпаса; 25. Погреб артиллерийского боезапаса; 26. Центральный пост управления рулями; 27. Шахта общесудовой вентиляции; 28. Шахта устройства работы дизелей под водой ("шноркель"); 29. Ходовой мостик; 30. Радиорубка; 31. Дизель; 32. ГЭД; 33. Разобщительная муфта; 34. Дейдвудный сальник; 35. Упорный подшипник; 36. Компрессоры системы ВВД; 37. Щит управления ГЭД; 38. Привод кормовых горизонтальных рулей; 39. Машинка приводов кормовых горизонтальных рулей; 40. Привод вертикальиого руля; 41. Машинка привода вертикального руля

I-201 (до ноября 1944 г. заказ № 4501) После вступления в строй вошла в состав 15-го ДПЛ Шестого флота. По техническим причинам корабль к участию в боевых действиях не привлекался. 18.08.1945 г. I-201 передали в распоряжение американских оккупационных властей. Вероятно, ПЛ разобрали на металл в Хариме (бывшей верфи флота в Куре) в конце 1945 г.

I-202 (до ноября 1944 г. заказ № 4502) После вступления в строй вошла в состав 15-го ДПЛ Шестого флота. По техническим причинам корабль к участию в боевых действиях не привлекался. 18.08.1945 г. I-202 передали в распоряжение американских оккупационных властей. 5.04.1946 г. ПЛ затопили в Конго Пойнт.

I-203 (до ноября 1944 г. заказ № 4503) После вступления в строй вошла в состав Одиннадцатой эскадры ПЛ Шестого флота. По техническим причинам корабль к участию в боевых действиях не привлекался. 18.08.1945 г. I-203 передали в распоряжение американских оккупационных властей. Вероятно, ПЛ разобрали на металл в Хариме (бывшей верфи флота в Куре) в конце 1945 г.

I-204 (до ноября 1944 г. заказ № 4504) 2.06.1945 г. во время достройки ПЛ, имевшая 90 % готовность, была потоплена американской базовой авиацией у достроечной стенки верфи флота в Куре. 5.02.1948 г. корабль подняли и в середине 1948 г. разобрали на металл в Хариме (бывшей верфи флота в Куре).

I-205 (до ноября 1944 г. заказ № 4505) 28.07.1945 г. постройку ПЛ, имевшую 80 % готовность, прекратили из-за повреждений, нанесенных в результате налетов американской палубной авиации. В конце июля 1945 г. I-205 затонула у достроечной стенки верфи флота в Куре. 8.05.1948 г. ПЛ подняли и до конца 1948 г. разобрали на металл в Хариме (бывшей верфи флота в Куре).

I-206 (до ноября 1944 г. заказ № 4506) 26.03.1945 г. постройку ПЛ, имевшую 85 % готовность, прекратили. Корабль перевели на рейд порта Кобе. где 25.08.1945 г. он затонул во время шторма. 11.10.1946 г. I-206 подняли и до февраля 1947 г. разобрали на металл.

В. Средние подводные лодки постройки 1923–1945 гг

B.1 серий Ro

Типа L4

1 2 3 4 5 6 7
Ro–60 с. в. ф. "Мицубиси", Кобе декабрь 1921 г. 22.05.1922 г. 17.09.1923 г. 76,2×7,3×3,7/4,84 (12,5 мм) 996 (988)/1322 т
Ro–61 с. в. ф. "Мицубиси", Кобе декабрь 1922 г. 19.05.1923 г. 9.02.1924 г.
Ro–62 с. в. ф. "Мицубиси", Кобе январь 1923 г. 10.09.1923 г. 24.07.1924 г.
Ro–63 с. в. ф. "Мицубиси", Кобе сентябрь 1923 г. 24.01.1924 г. 20.12.1924 г.
Ro–64 с. в. ф. "Мицубиси", Кобе декабрь 1923 г. 19.08.1924 г. 30.04.1925 г.
Ro–65 с. в. ф. "Мицубиси", Кобе декабрь 1924 г. 25.09.1925 г. 30.06.1926 г.
Ro–66 с. в. ф. "Мицубиси", Кобе декабрь 1925 г. 25.10.1926 г. 28.07.1927 г.
Ro–67 с. в. ф. "Мицубиси", Кобе сентябрь 1925 г. 18.03.1926 г. 15.12.1926 г.
Ro–68 с. в. ф. "Мицубиси", Кобе сентябрь 1924 г. 23.02.1925 г. 29.10.1925 г.

А. Заказаны в рамках "Новой программы по замещению" 1923 г. № 59 (Ro-60) строилась по бюджету на 1921/22 гг., № 72 (Ro-61) и № 73 (Ro-62) — по бюджету на 1922/23 гг., № 84 (Ro-63) и Ro-64 — по бюджету на 1923/24 гг., Ro-65 и Ro-68 — по бюджету на 1924/25 гг., Ro-66 и Ro-67 — по бюджету на 1925/26 гг. Предназначались для борьбы с боевыми кораблями и торговым судоходством противника в прибрежных районах и на небольшом удалении от пунктов базирования. Проект разработан МТД на основе типа L3 и, в отличие от него, имел увеличенные размеры и шесть 533-мм ТА. ПЛ имела была полуторокорпусную конструкцию, плоские переборки делили прочный корпус на семь отеков, три группы ЦГБ, топливные танки вне прочного корпуса. Главные механизмы (ДГ, ЭД и компрессоры ВВД) на металлических амортизаторах. Автономность 20 суток. Рабочая глубина погружения 60 метров. ПЛ данного типа к моменту начала войны на Тихом океане морально устарenи и имели ограниченные боевые возможности.

Вход
Поиск по сайту
Ищем:
Календарь