Книга Японские тяжелые крейсера.Том 1: История создания, описание конструкции, предвоенные модернизации., страница 76 – Сергей Сулига

Авторы: А Б В Г Д Е Ж З И Й К Л М Н О П Р С Т У Ф Х Ч Ш Ы Э Ю Я
Книги: А Б В Г Д Е Ж З И Й К Л М Н О П Р С Т У Ф Х Ц Ч Ш Щ Ы Э Ю Я
Бесплатная онлайн библиотека LoveRead.in

Онлайн книга «Японские тяжелые крейсера.Том 1: История создания, описание конструкции, предвоенные модернизации.»

📃 Cтраница 76

Директор типа 14 года

В 1924-25 гг. принята на вооружение модифицированная версия - директор типа 14 года (1925 года), который устанавливался на крейсерах типа “Фурутака” и последующих крейсерах “класса А”. Полное японское название “14 шики хойбан шоджуин сочи”. Этот директор (справа на рисунке) мог использоваться и в качестве зенитного, т.к. его 64-мм телескопы модели “L” (полное название ”6-см полузенитные телескопы”) имели угол возвышения 90°. Цифрами на рисунке обозначены: 1, 2 - телескопы горизонталльного и вертикального наводчиков; 3 - штурвал горизонтальной наводки; 4 - корпус поворотной части устройства; 5 - стрелочный указатель угла возвышения; 6 - то же для угла поворота; 7 - штурвал вертикальной наводки; 8, 9 - градуированные барабаны угла отклонения цели и дистанции до нее.

Иллюстрация к книге — Японские тяжелые крейсера.Том 1: История создания, описание конструкции, предвоенные модернизации. [img_84.jpg]

Директор типа 94

Для замены универсального директора типа 14 Первая (артиллерийская) секция МТД к концу 1933 г. разработала новый, после испытания на линкоре “Нагато” принятый на вооружение 9.10.1934 г. как “тип 94”. С декабря 1934 г. верфь флота Куре выпустила 132 комплекта, которые устанавливались на новых и модернизированных кораблях для'"'управления огнем ГК. Линкоры получали модель 1 с 15-см биноклями, крейсера и линкоры для вспомогательного калибра - модель 2 с 12-см биноклями, новые эсминцы, начиная с типа “Фубуки” после модернизации, для 12,7-см орудий - модель 3 с 12-см биноклями. Директоры этих моделей заключались в башенки. Ширина директора 1 м, высота 1,7 м, вес 2 т. Проектировался для слежения за углами ГН и ВН и имел 2 вычислительных устройства: одно для коррекции угла возвышения и ГН на бортовой качке, второе для коррекции ГН из-за параллакса. Директор типа 94 выдавал на принимающие устройства башен полные углы ВН и ГН, а управляющий стрельбой офицер наводил и стрелял из орудий в соответствие с указателями.Полный угол возвышения получался по дифференциальным добавкам указателя, скорректированными с учетом разницы в высоте расположения орудий, и дополнительному возвышению, получаемому от вычислительного устройства из ЦАП. Полный угол ГН получался из дифференциальных добавок горизонтального указателя, скорректированных с учетом разницы расположения орудий, параллакса и бокового отклонения, получаемых от вычислительного устройства. Обслуживался директор типа 94 одним офицером и пятью операторами. Некоторые из директоров указанных моделей переделывались в универсальные для стрельбы как по надводным, так и по воздушным целям: на новых эсминцах с 12.7- см/50 орудиями устанавливали модель 6 или тип 2 (принята в 1942 г.), а на проектируемых крейсерах ПВО с 12.7- см/40 зенитными планировали ставить модель 5.

В виду постройки линкоров типа “Ямато” фирма Ниппон Оптикал с 1935 г. разработала новый директор, заключенный в броневую башенку для защиты от стрелкового оружия авиации и оборудованный перископами для биноклей, как на подводных лодках. Два комплекта (главный и вспомогательный) этого директора типа 95 с 12-см и 15-см биноклями в 1938 г. установили на линкоре “Хией” для управления стрельбой его 36-см орудий ГК. Эта же фирма разработала улучшенную версию с 18-см биноклями типа 98 модиф.1 (или “улучшенный тип 95”). С 1941 г. для линкоров типа “Ямато” было поставлено 8 комплектов.

Зенитный директор типа 91

В середине 20-х годов по требованию МТД начались работы над специальным зенитным директором и к 1929 г. фирма Аичи разработала вычислительный прибор стрельбы, принятый как “Коша Шагекибан типа 89”. Он мог подсчитывать ВИР про вертикали или горизонтали и использовался для управления стрельбой 8-см и 12-см зениток. Такими приборами оснастили крейсера типа “Миоко”. В октябре 1929 г. фирма Ниппон Оптикал из Нагойя закончила разработку комплекса ПУС для зенитных орудий, прототип которого с июня 1931 г. испытывался на линкоре “Ямаширо”. Этот комплекс типа 91 (91 Шики Коша Сочи) приняли на вооружение 11.06.1932 г. и начали устанавливать на корабли, начиная с линкора “Харуна”, крейсеров “класса А” и авианосцев постройки с 1933 г. Фирма Ниппон Оптикал поставила 50 комплектов, пока этот комплекс не заменили новым типа 94, принятым 9.10.1934 г., который начали устанавливать с 1937 г. Комплекс типа 91 мог подсчитывать, по крайней мере теоретически, различные элементы, необходимые для стрельбы зенитных орудий. Он состоял из механизма наводки (собственно директора) и счетного механизма (вычислительного прибора), скомбинированных на одной тумбе. Очень громоздкий (высота 2 м, вес около 3 т, занимаемое пространство 1 м2), он требовал для обслуживания 11 операторов. Скорость ручной ВН была всего 6°/с, ГН - от 6,5 до 16°/с (экстренная), рабочий диапазон дистанции 1000 - 13500 м, предел скорости цели 90 м/с. Хотя прибор спроектировали главным образом для ведения зенитного огня 12-см и 12,7-см орудий, его можно было использовать и для стрельбы по надводным целям. Главный недостаток: стоящий отдельно дальномер был биаксиальный, а директор - триаксиальный (горизонталь, вертикаль и вспомогательная диагональ), поэтому дальномер было трудно навести на ту же цель, что и директор.

Иллюстрация к книге — Японские тяжелые крейсера.Том 1: История создания, описание конструкции, предвоенные модернизации. [img_85.jpg]

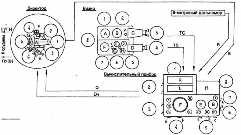
СХЕМА СУАО ГК НА МОДЕРНИЗИРОВАННЫХ КРЕЙСЕРАХ “класса А”

Состав: три 6-метровых дальномера типа 14, два (главный в носу, вспомогательный в корме) директора типа 94, устройство слежения за целью типа 92 (визир) и вычислительный прибор типа 92.

Директор: офицер (1) следит за целью с помощью 12-см бинокулярного корректировочного телескопа (А) и управляет стрельбой орудий; горизонтальный (2) и вертикальный (3) наводчики следят за целью через 12-см телескопы (В и С) и с помощью штурвалов (F) и (Е) придают башне директора нужный угол поворота (выдавая измеренные пеленги Т и В) и возвышения (пределы от -12 до +45°); стабилизаторщик (5), используя 4,5-см телескоп (D), с помощью штурвала (G) обеспечивает коррекцию углов ВН и ГН с учетом бортовой и килевой качки корабля; установщик дистанции и отклонения (6) следит за боковым отклонением (Dt) и дополнительным возвышением (Q), которые передаются от вычислительного прибора и отрабатывает их с помощью штурвалов (Н) и (J) соответственно. С помощью штурвала (Н) слежения за дистанцией дополнительный угол возвышения (Q) через дифференциальный редуктор добавляется к углу, определенному вертикальным наводчиком, корректируется стабилизаторщиком, давая ПУВН, передаваемый в башни. С помощью штурвала (J) боковое отклонение аналогично передается и добавляется к пеленгу, установленному горизонтальным наводчиком, и после корректировки стабилизаторщиком (дифферент и параллакс) в виде ПУГН передается в башни. Устройство слежения за целью: оператор (1) следит за курсом своего корабля по компасу (циферблат А); оператор (2) следит за изменением пеленга на цель (циферблат В); горизонтальный наводчик (3) разворачивает прибор за целью, следя за ней через 12-см телескоп (С); оператор (4) следит за отклонением цепи по инклинометру (D); оператор (5) определяет длину цели; (6) следит за углом отклонения (циферблат Е); (7) следит за настоящей дистанцией (F); (8) передает скорость цели (TS) и ее курс (ТС) на вычислительный прибор; G, Н. J, К, L - циферблаты цели, своего корабля, разницы дистанции, компонента длины цели, компонента гориз. цели; М - хронометр. Вычислительный прибор: (1) офицер, управляющий огнем; оператор (2) ввода дистанции и пеленга на цель (рукоятки L и К); оператор (3) настоящей дистанции (рукоятка и циферблат J) и скорости изменения дистанции (рукоятка и циферблат Н), который подгоняет дистанцию, получаемую от офицера (по данным оператора 8), и скорость ее изменения (по кривой дистанции L); оператор (4) передает будущее значение дистанции, используя рукоятки и циферблаты коррекции дистанции (G) и (F); оператор (5) устанавливает начальный пеленг (В), получаемый от директора (рукоятка и циферблат Е), вводит коррекцию общего отклонения пеленга с помощью рукоятки и циферблата (С) и коррекцию по собственной скорости, скорости и отклонения цели (оба значения поступают с визира), скорости ветра и т.д. с помощью рукоятки и циферблата поправки (D); (6) следит за курсом по компасу (картушка и рукоятка В); (7) следит за скоростью изменения пеленга по кривой (К) с помощью рукоятки и циферблата (А); (8) усредняет дистанцию (R), получаемую с трех 6-метровых дальномеров, обеспечивая поступление данных на график дистанции (L) через офицера из усредняющей дистанцию части прибора (М). Вычислительный прибор передает подсчитанные значения бокового отклонения (Dt) и дополнительное возвышение (Q) в директор для дифференциального (в зависимости от расположения башен) прибавления этих значений к измеренным углам ВН и ГН. N, О, Р - циферблаты цели, собственной скорости и скорости ветра.

Вход
Поиск по сайту
Ищем:
Календарь