Книга Полуброненосные фрегаты «Генерал-Адмирал» и «Герцог Эдинбургский», 1869–1918, страница 4 – Сергей Несоленый

Авторы: А Б В Г Д Е Ж З И Й К Л М Н О П Р С Т У Ф Х Ч Ш Ы Э Ю Я
Книги: А Б В Г Д Е Ж З И Й К Л М Н О П Р С Т У Ф Х Ц Ч Ш Щ Ы Э Ю Я
Бесплатная онлайн библиотека LoveRead.in

Онлайн книга «Полуброненосные фрегаты «Генерал-Адмирал» и «Герцог Эдинбургский», 1869–1918»

📃 Cтраница 4

Мощность паровой машины планировалась в 6300 л.с., что должно было обеспечить крейсеру ход не менее 14 узлов. Запас угля — не менее 700 тонн (по расчетам это должно было обеспечить дальность плавания под парами 1800 миль). Кроме того, для повышения автономности предусматривалось полное парусное вооружение фрегата (3 мачты, общая площадь парусов 2450 м 2).

Вооружение первоначально планировалось из 6 8-дюймовых орудий . Затем его решили уменьшить до 4 8-дюймовок. Однако небольшое число вынесенных на верхнюю палубу орудий компенсировали увеличением углов их обстрела за счет того, что каждая пушка устанавливалась на выступающем за борт спонсоне; кроме того, при необходимости орудия переводились вместе со станками по специальным рельсам и сосредотачивались для стрельбы с одного борта.

Корабль решено было строить на отечественном заводе целиком из материалов, произведенных в России (закупки за границей допускались лишь в виде исключения). Надо отметить, что на стадии проектирования в проект постоянно вносились изменения. Так, в 1869 году “Его Императорское Величество Константин Николаевич” утвердил вооружить корвет “Генерал-Адмирал” 4 8-дюймовыми орудиями и 4 8-фунтового калибра, но в том же году восьмифунтовые орудия решили заменить двумя 6-дюймовками — по одной в носу и корме, на поворотных платформах с возможностью стрелять на оба борта.

Но еще больше изменений было внесено в конструкцию уже непосредственно в ходе постройки. Во многом это объяснялось стремительным научно-техническим прогрессом и желанием конструкторов и военных путем частичных изменений улучшить корабль. К чему это привело — будет рассмотрено в следующей главе, посвященной строительству “Генерал-Адмирала” и “Герцога Эдинбургского".

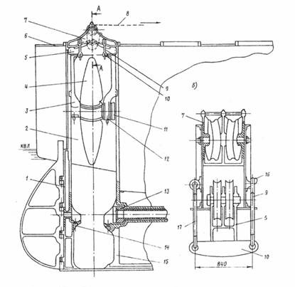
Иллюстрация к книге — Полуброненосные фрегаты «Генерал-Адмирал» и «Герцог Эдинбургский», 1869–1918 [pic_3.jpg]

Устройство для подъема гребного винта на фрегате «Герцог Эдинбургский» (продольный разрез в корме и сечение подъемного блока с траверзой)

I — рудерпост; 2 — бортовая стенка колодца для подъема винта; 3 — подъемная рама винта в направляющих: 4 — двухлопастный гребной винт в обойме рамы; 5- траверза рамы с двумя подвижными блоками талей; 6 — палуба полуюта; 7 — опорная траверза над окном колодца с двумя неподвижными блоками талей для подъема рамы с винтом; 8-ходовой конец талей; 9 — шток-наметка, поддерживавший поперечину для крепления подъемной рамы с винтом в верхнем положении; 10-поперечина, поддерживавшая подъемную раму в верхнем положении; 11 — хвостовик подъемной части гребного вала для ввода в зацепление с дейдвудным валом; 12-обойма подъемной рамы с подшипником вала и нижними штифтами для центровки валов при опускании винта; 13 — концевая часть дейдвудного вала со шлицом для ввода хвостовика подъемной части вала; 14-отверстия в приливах старнпоста и рудерпоста для центрующих штифтов; 15-старнпост; 16-гак для крепления концевого звена шкота- наметки; 17-стационарная тяга, поддерживавшая поперечину


Из отчета Кораблестроительного отделения Морского технического комитета за 1869 г.


(Корветы “Генерал-Адмирал" и “Александр Невский”)

По приказанию управляющего Морским министерством переданы на кораблестроительное отделение, для рассмотрения и поверки вычислений, представленные свиты его императорского величества контр-адмиралом Поповым чертежи корвета для дальних крейсерств.

Кораблестроительное отделение нашло, что очертание линий подводной части проекта соответствует цели предназначаемой корвету службы в океанских плаваниях. Но так как вес назначенной ему машины в 900 нариц. сил, должен доходить до 900 т, а вес броневого пояса при грузовой ватерлинии (с подкладкой), с таковым же поясом на шкафуте, будет иметь около 520 т, что составляет 1420 т постоянного груза, то приняв в соображения эти тяжести вместе с весом полного фрегатного рангоута и парусности, которую корвет должен будет иметь соответственно цели своего назначения в продолжительных океанских плаваниях — снабжение его расходуемым грузом, при данном ему водоизмещении в 4604 т должно заключаться в весьма ограниченном количестве, а именно: провизии по числу 320 порций, он может взять на 2,5 месяца, воды на 3 недели, артиллерийских принадлежностей — как то: зарядов, снарядов и запасов по числу 125 выстрелов на каждое орудие, угля для полного действия машины около 4 суток.

Затем дальнейшее рассмотрение и вычисления проекта, привело к следующему заключению:

1) Так как водоизмещение кормовой части проектированного корвета, на 210 т более водоизмещения носовой части (считая от средины грузовой ватерлинии), то назначено на чертеже помещение паровых котлов и артиллерии, следует изменить, подвинув то и другое к корме, настолько, чтобы восстановить надлежащее равновесие между кормовой и носовой частью; с тем вместе, подвинув также к корме грот и бизань-мачту, для того, чтобы достигнуть известного отношения передних парусов к задним к вертикальной линии, проходящей через центр тяжести судна, ибо в противном случае, момент передних парусов, будучи слишком велик в отношении момента зад них парусов, сделает корвет увальчивым во время хода, отчего он постоянно должен будет иметь руль под ветром, чего не должно быть в мореходном судне.

2) Для того, чтобы устранить и малейшую причину, могущую замедлить ход корвета, кораблестроительное отделение полагало более полезным, приспособить гребной винт подъемным. В противном случае, он, во время хода под парусами, оставаясь на месте, будет буровить ко вреду скорости хода.

3) Из чертежа миделевого сечения видно, что ту часть борта корвета, которая находится под броней, полагается не покрывать наружной обшивкой, но плиты брони накладывать непосредственно в ребрах шпангоутов и на подкладку между ними. Предположение это кораблестроительное отделение нашло неудобоприменимым на практике, потому что шпангоуты, оставаясь не связанными внешней оболочкой (обшивкой) могут, во время качки судна в море, дать движение, которому плиты брони, инерцией своего веса, будут еще содействовать, вследствие чего, произойдет общее расслабление в этой части судна и затем откроется повсеместная течь, возможность которой, при такой системе постройки и без того неизбежна, ибо деревянная подкладка, вставленная между шпангоутами, в соединениях железа с деревом, не может быть прокопчена столь благонадежно, чтобы устранить всякую возможность течи.

4) На том же чертеже миделевого сечения показано крепление бимсов с бортом посредством углового железа, приклепанного одним полем к внутренней обшивке, а другим к бимсу. Такого рода крепление бимсов, по мнению кораблестроительного отделения, не должно быть допускаемо ни в каком мореходном судне, потому что действия разрываемой силы разлагается в таком случае, на одни только шляпки заклепок, которые не принимая участие в своем поперечном отношении, не будут в состоянии выдерживать напряжения, производимого на них силой.

В заключение кораблестроительное отделение дозволило себе объяснить свой взгляд на значение судов, исполняющих крейсерскую службу. По его мнению, достоинство крейсеров, предназначенных собственно для преследования и захвата неприятельских купеческих судов во время войны, независимо от главного условия в достижении наибольшей скорости, должно заключаться также в вооружении сильной артиллерией и в возможности иметь продовольствие и запас топлива на более продолжительное время.

Вход
Поиск по сайту
Ищем:
Календарь