Онлайн книга «Танк Т-80»
|
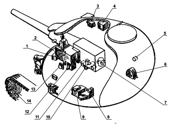
Масса одного контейнера с двумя ЭДС — 5,2 кг. Масса всего комплекса на танке равнялась 1200–1500 кг. Позднее — в середине 1980-х гг. — стал применяться серийный комплекс универсальной встроенной защиты «Контакт-5», который уже обеспечивал защиту не только от кумулятивных, но и от бронебойных подкалиберных боеприпасов. При ударе снаряда в контейнер комплекса его крышка из толстой высокопрочной стали за счёт взрыва ВВ рассыпается, превращаясь в поток высокоскоростных осколков. Воздействие такого потока и движущихся пластин снижает бронепробиваемость кумулятивной струи и снарядов. ![]() Демонстрация возможностей танка Т-80У на испытательной трассе Сибирского полигона. Июнь 1999 г. ![]() Размещение в танке Т-80 аппаратуры системы управления огнём САУ 1А33: 1 — блок разрешения выстрела; 2 — прицел-дальномер; 3 — датчик линейных ускорений; 4 — баллистический вычислитель; 5 — косинусный потенциометр; 6 — датчик ветра; 7 — датчик крена; 8 — электроблок прицела-дальномера; 9 — блок управления; 10 — питающая установка; 11 — блок тахометров; 12 — ограничитель углов; 13 — прибор приведения орудия; 14 — датчик скорости. Контейнер «Контакт-5» состоит из элементов 4С22 массой 1,37 кг и габаритами 252x132x13 мм; в него укладывалось по несколько ЭДЗ сразу. Общая масса элементов, устанавливающихся на танк, — около 500 кг, ещё около 1000 кг составляют конструкции секций и блоков размещения. Этим комплексом начали оснащать танки Т-80У, Т-80УД, Т-72Б (начиная с 1988 г.), а затем и Т-90. Вооружение танка Т-80У состоит из 125-мм гладкоствольной пушки 2А46М-1, 7,62-мм спаренного пулемёта ПКТ, зенитного 12,7-мм пулемёта НСВТ «Утёс», КУВ 9К119 «Рефлекс», системы постановки дымовых завес «Туча» с гранатами 902Б. Боекомплект пушки 2А46М-1 включает 46 выстрелов из бронебойно-кумулятивных снарядов 3БК14М и 3БК27, бронебойных подкалиберных с сердечником из сплава вольфрама 3БМ42, бронебойных с сердечником из обеднённого урана 3БМ32, осколочно-фугасных 2ОФ19 и 3ОФ26. Все выстрелы — раздельно-гильзового заряжания. Основная часть боекомплекта размещается на вращающемся транспортёре механизма заряжания (29 выстрелов); остальные — в механизированных укладках в корпусе и башне (7 снарядов и зарядов в отделении управления, 10 других — в боевом отделении). Снаряд 3БМ42 принят на вооружение в 1986 г. Предназначен для стрельбы по танкам, самоходным артиллерийским установкам и другим бронированным целям, бронеколпакам и заслонкам амбразур долговременных огневых сооружений (ДОС) из танковой пушки 2А46М-1. ![]() Схема современной танковой системы управления огнём. ![]() Схема установки динамической защиты на башне танка Т-80У (слева) и схема башни танка Т-80У (справа). Боеприпас повышенного могущества. Имеет очень сложную конструкцию, включающую в себя сплошной баллистический и бронебойный колпачок, бронебойный демпфер и два сердечника из высокопрочного вольфрамового сплава большого удлинения. Сердечники закреплены в рубашке из легкоплавкого сплава, которая при попадании в цель плавится, позволяя сердечникам войти в броню, не расходуя энергию на отделение от корпуса. Снаряд имеет 5-лопастный стабилизатор; в хвостовой части установлен трассер. Элементы выстрела — боеприпас с дополнительным зарядом 3БМ44 и основной метательный заряд 4Ж63 — упакованы в герметичные оцинкованные металлические пеналы цилиндрической формы. 125-мм осколочно-фугасный снаряд 3ОФ26 с выстрелом 3ВОФ36 предназначен для поражения живой силы, полевых укреплений, инженерных сооружений, огневых позиций артиллерии, миномётов, ракетных установок, пехотных огневых средств противника. Масса выстрела — 33,0 кг, масса снаряда с дополнительным зарядом — 23 кг, начальная скорость — 850 м/с. Комплекс управляемого вооружения 9К119 «Рефлекс» предназначается для стрельбы из 125-мм гладкоствольной танковой пушки. Огонь может вестись с места и с ходу при движении танка. Комплекс разработан в КБ Приборостроения в Туле и принят на вооружение в 1985 г.; позднее был модернизирован и получил обозначение «Рефлекс-М». За время, прошедшие с 1976 г. — с выпуска комплекса 9К112 «Кобра», конструкторы смогли существенно снизить как массу, так и габариты новой ракеты 9М119, доведя их до обводов 125-мм артиллерийского снаряда. Кроме того, соединили в одно целое два раздельных отсека, как это было в «Кобре», оснастили ракету тандемной кумулятивной боевой частью. ![]() Комплект навесной динамической защиты «Контакт» на лобовом листе и башне танка. С 1992 г. танки стали вооружаться более совершенной ракетой 9М119М «Инвар», а с середины 1990-х гг. — 9М119М1 «Инвар-М». В выстреле 3УБК14 (для 9М119М — 3УБК20) объединены ракета и метательное устройство, с помощью которого непосредственно происходит выброс из ствола пушки. Двигатель ракеты — твёрдотопливный с двумя косонаправленными соплами. Боевая часть состоит из двух зарядов — переднего, который обеспечивает преодоление динамической защиты бронетехники, и основного — непосредственно поражающего цель. Разработан также вариант ракеты с фугасной боевой частью. Ракета выполнена по схеме «утка»; четыре пятиугольных крыла в задней части загнуты по часовой стрелке. Схема наведения — полуавтоматическая с ориентированием по лучу лазера; направленный на цель луч поступает и на приёмник, установленный на ракете. Дальность поражения цели — до 5000 м с вероятностью 0,8. Масса выстрела — 24,3 кг, масса ракеты — 17,2 кг, длина — 680 мм, скорость полёта — 350 м/с, время полёта на максимальную дальность — 17 с. В состав комплекса, кроме самой ракеты, входят информационный блок 9С516 и блок автоматики 9С517. В НАТО комплекс 9К119М называют АТ-11 Sniper-C. На танке Т-80У поставлена усовершенствованная система управления огнём СУО 1А45 «Иртыш». В неё входят: цифровой баллистический вычислитель 1В528, комплект датчиков условий стрельбы, двухплоскостной стабилизатор вооружения 2Э42-4, прицелы наводчика и командира. ![]() Стабилизированный дневной-ночной прибор наблюдения командира ТКН-4С «Агат» прицельно-наблюдательного комплекса ПНК-4С. ![]() Прицел-дальномер прибор наведения 1А45Т «Иртыш» с аппаратурой комплекса управляемого вооружения «Рефлекс». |
![Иллюстрация к книге — Танк Т-80 [i_031.jpg] Иллюстрация к книге — Танк Т-80 [i_031.jpg]](img/book_covers/077/77462/i_031.jpg)
![Иллюстрация к книге — Танк Т-80 [i_032.jpg] Иллюстрация к книге — Танк Т-80 [i_032.jpg]](img/book_covers/077/77462/i_032.jpg)
![Иллюстрация к книге — Танк Т-80 [i_033.jpg] Иллюстрация к книге — Танк Т-80 [i_033.jpg]](img/book_covers/077/77462/i_033.jpg)
![Иллюстрация к книге — Танк Т-80 [i_034.jpg] Иллюстрация к книге — Танк Т-80 [i_034.jpg]](img/book_covers/077/77462/i_034.jpg)
![Иллюстрация к книге — Танк Т-80 [i_035.jpg] Иллюстрация к книге — Танк Т-80 [i_035.jpg]](img/book_covers/077/77462/i_035.jpg)
![Иллюстрация к книге — Танк Т-80 [i_036.jpg] Иллюстрация к книге — Танк Т-80 [i_036.jpg]](img/book_covers/077/77462/i_036.jpg)
![Иллюстрация к книге — Танк Т-80 [i_037.jpg] Иллюстрация к книге — Танк Т-80 [i_037.jpg]](img/book_covers/077/77462/i_037.jpg)