Книга Средний танк Panzer III, страница 6 – Михаил Барятинский

Авторы: А Б В Г Д Е Ж З И Й К Л М Н О П Р С Т У Ф Х Ч Ш Ы Э Ю Я
Книги: А Б В Г Д Е Ж З И Й К Л М Н О П Р С Т У Ф Х Ц Ч Ш Щ Ы Э Ю Я
Бесплатная онлайн библиотека LoveRead.in

Онлайн книга «Средний танк Panzer III»

📃 Cтраница 6

Несколько слов об экспортных поставках Pz.III, которые были весьма незначительными. В сентябре 1942 года 10 танков модификации M получила Венгрия. Ещё 10–12 машин передали венграм в 1944 году. В конце 1942 года 11 машин Ausf.N поставили в Румынию. В 1943 году 10 танков заказала Болгария, но в итоге немцы заменили «тройки» на Pz.38(t). Словакия получила 7 Ausf.N в 1943-м. Несколько машин модификаций N и L состояли на вооружении хорватских войск. Турция планировала приобрести 56 машин вариантов L и M, но планы эти реализовать не удалось. Таким образом, в армии союзных Германии государств поступило не более 50 Pz.III.

Иллюстрация к книге — Средний танк Panzer III [i_030.jpg]

После демонтажа башни часть танков переоборудовали в подвозчики боеприпасов Munitionsschlepper III.

ОПИСАНИЕ КОНСТРУКЦИИ

Компоновка танка — классическая, с передним расположением трансмиссии.

Внутри корпус танка делился на три отделения: управления (оно же — трансмиссионное), боевое и моторное.

Отделение управления находилось в носовой части танка. В нём размещались приводы управления, приборы, контролировавшие работу двигателя, главный фрикцион, коробка передач, планетарный механизм поворота, пулемёт в шаровой установке, радиостанция, сиденья механика-водителя и стрелка-радиста.

Боевое отделение занимало среднюю часть танка. В нём размещались вооружение, боекомплект, приборы прицеливания и наблюдения. Здесь же были рабочие места командира танка, наводчика и заряжающего. Над полом боевого отделения проходил карданный вал, закрытый кожухом.

Моторное отделение располагалось за боевым, в кормовой части танка. В нём устанавливались двигатель, масляный бак, топливный бак и радиаторы системы охлаждения.

Иллюстрация к книге — Средний танк Panzer III [i_031.jpg]

Отделение управления:

1 — курсоуказатель; 2 — бортовая передача; 3 — триплекс; 4 — рычаги управления; 5 — панель приборов; 6 — коробка передач; 7 — рычаг переключения передач.


КОРПУС танка сваривался из катаных броневых листов хромоникелевой стали с поверхностной цементацией. Отдельные части корпуса соединялись болтами и угольниками. По обе стороны корпуса над вторым и третьим опорными катками в танках модификаций Е — L имелись эвакуационные люки. На крыше моторного отделения находились четыре люка — два больших и два малых — для доступа к агрегатам силовой установки, а в днище корпуса — люки для спуска воды, бензина и масла и для доступа к двигателю и коробке передач. В передней верхней части бортов корпуса были предусмотрены лючки для наблюдения со стёклами триплекс, закрывавшиеся броневыми заслонками (у танков Ausf.A — D лючок имелся только слева, у места механика-водителя).

В лобовом листе корпуса слева располагались смотровой прибор механика-водителя, включавший в себя стеклоблок триплекс, закрываемый массивной откидной (Ausf.A — D) или сдвижной (Ausf.E — N) заслонкой, и бинокулярный перископический прибор наблюдения KFF 1 (Ausf.A — D) или KFF 2 (Е — N). Последний, если в нём не было необходимости, сдвигался вправо, и механик-водитель мог вести наблюдение через стеклоблок.

БАШНЯ — шестигранная, сварная, размещалась симметрично относительно продольной оси танка. В передней части башни, в маске устанавливались пушка, пулемёт (у модификаций A — G с 37-мм пушкой — два пулемёта) и телескопический прицел. Справа и слева в маске делались лючки для наблюдения со стёклами триплекс (у вариантов L — N лючок только слева). Лючки закрывались наружными броневыми заслонками изнутри башни.

Иллюстрация к книге — Средний танк Panzer III [i_032.jpg]

Схема бронирования среднего танка Pz.III.

Иллюстрация к книге — Средний танк Panzer III [i_033.jpg]

Компоновка танка Pz.III.


Механизм поворота башни — механический, с двойным приводом управления, выведенным к заряжающему (справа от пушки) на отъёмную рукоятку и к наводчику (слева от пушки) на маховичок. Кроме этого, имелся рычаг переключения шестерён механизма для ускоренного или замедленного поворота башни.

В задней части крыши башни устанавливалась командирская башенка с люком, закрывавшимся двухстворчатой крышкой. На части машин Ausf.N поздних выпусков устанавливалась заимствованная у танка Pz.IV Ausf.G командирская башенка, имевшая одностворчатую крышку. Башенка была оборудована восемью (Ausf.A — С) или пятью (D — N) смотровыми щелями со стёклами триплекс.

Для посадки и высадки членов экипажа служили люки с одностворчатыми и двухстворчатыми (начиная с варианта Е) крышками в бортах башни. В крышках люков и бортах башни устанавливались смотровые приборы (у модификаций L, М и N приборы в бортах башни отсутствовали). На кормовом листе башни имелись два лючка для стрельбы из личного оружия.

ВООРУЖЕНИЕ. Основное вооружение танков модификаций А — G — пушка 3,7 cm KwK L/45 калибра 37 мм фирмы Rheinmetall-Borsig. Длина ствола — 45 калибров (1717 мм). Масса — 195 кг. Вертикальная наводка — от -10° до +20°. Затвор — клиновой, вертикальный, полуавтоматический. Спуск — электрический. Скорострельность 15–18 выстр./мин. В боекомплект пушки входили выстрелы с бронебойными PzGr (масса 0,685 кг, начальная скорость 745 м/с), подкалиберными PzGr 40 (0,368 кг, 1020 м/с) и осколочно-фугасными SprGr 18 (0,615 кг, 725 м/с) снарядами. Боекомплект состоял из 150 (Ausf.A), 121 (В — D) или 131 (Е — G) выстрела.

Танки модификаций G — J вооружались пушкой 5 cm KwK 38 L/42 калибра 50 мм, также разработанной конструкторами фирмы Rheinmetall-Borsig. Длина ствола — 42 калибра (2100 мм). Масса — около 400 кг. Углы вертикального наведения от -10° до +20°. Затвор — вертикально-клиновой, с полуавтоматикой копирного типа. Спусковой механизм — электрический, устанавливался на рукоятке маховика поворотного механизма. Скорострельность 15 выстр./мин. Противооткатные устройства состояли из гидравлического тормоза отката и гидропневматического накатника и располагались по бокам ствола: с правой стороны — тормоз отката, с левой — накатник. Для стрельбы из пушки KwK 38 использовались унитарные выстрелы с бронебойными снарядами PzGr и PzGr 39 (масса 2,06 кг, начальная скорость 685 м/с), подкалиберными PzGr 40 (0,925 кг, 1050 м/с) и осколочно-фугасными SprGr 38 (1,823 кг, 450 м/с). Боекомплект танков этих модификаций состоял из 97–99 выстрелов.

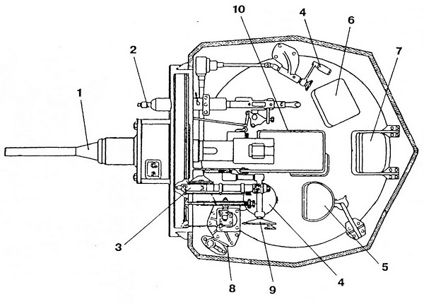
Иллюстрация к книге — Средний танк Panzer III [i_034.jpg]

Компоновка башни танка Pz.III:

1 — 50-мм пушка; 2 — пулемёт MG 34; 3 — телескопический прицел; 4 — маховик поворотного механизма башни; 5 — сиденье наводчика; 6 — сиденье заряжающего; 7 — сиденье командира; 8 — рукоятка стопора башни; 9 — маховик подъёмного механизма пушки; 10 — ограждение пушки.

Вход
Поиск по сайту
Ищем:
Календарь