Онлайн книга «Т-34 История танка»
|
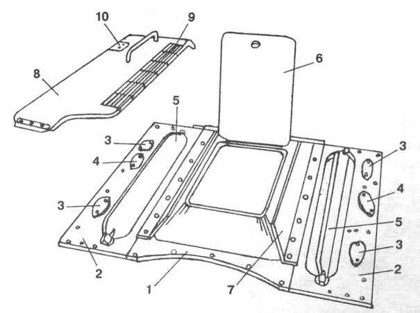
Корма корпуса состояла из верхнего наклонного листа, нижнего наклонного корытообразного листа и двух картеров бортовых передач. Верхний наклонный лист трапециевидной формы крепился петлями и винтами к нижнему и бортовым листам. В нем имелся четырехугольный люк (с 1942 года — круглый, за исключением танков, выпускавшихся на СТЗ), обеспечивавший доступ к агрегатам, установленным в задней части трансмиссионного отделения, и два овальных отверстия для выхлопных труб (снаружи эти отверстия защищались броневыми колпаками). Крыша над боевым отделением представляла собой броневой лист, в котором имелись большой круглый вырез для установки башни и четыре выреза для доступа к верхней части подвесок катков, закрытых сверху крышками. Крыша над моторным отделением состояла из среднего продольного листа с люком для доступа к двигателю, двух боковых листов над радиаторами, двух продольных листов жалюзи и колпаков над радиаторами. Крыша над трансмиссионным отделением состояла из двух броневых листов над баками для топлива, двух броневых листов жалюзи, узкого концевого поперечного листа и сетки над крышей. По сравнению с Т-34, корпус танка Т-34-85 принципиальных изменений не претерпел. Все они в основном сводились к упрощению конструкции. В 1945 году из носовой части была изъята передняя балка, а верхний и нижний лобовые листы соединялись встык. К верхнему лобовому листу приваривались бонки для крепления запасных траков. Было ликвидировано отверстие для ввода антенны в правом верхнем бортовом листе. В кормовой части верхних бортовых листов приваривались крепления наружных масляного и топливных баков, а к верхним кромкам — защитные планки, предохранявшие погон башни от поражения пулями и осколками снарядов. На верхнем кормовом листе устанавливались кронштейны для крепления дымовых шашек МДШ. БАШНЯ сварная, овальной обтекаемой формы, устанавливалась на шариковой опоре над боевым отделением корпуса. В ее переднем лобовом листе имелись три выреза: центральный — для установки пушки; правый —для спаренного пулемета; левый — для телескопического прицела. В боковых листах башни были предусмотрены вырезы для приварки оснований смотровых приборов, а под ними — отверстия для стрельбы из револьвера. ![]() Схема бронирования танка Т-34 ![]() Крыша над двигателем: 1 — средний лист: 2 — боковые листы: 3 — броневые крышки над шахтами подвески: 4 — броневые крышки заливных горловин масляных баков: 5 — броневой лист жалюзи; 6 — крышка люка над двигателем: 7 — броневая планка: 8 — колпак воздухопритока; 9 — решетка колпака воздухопритока: 10 — крышка лючка для заливки масла В заднем листе ниши башни имелся люк для демонтажа пушки, его крышка крепилась четырьмя, а затем шестью болтами. У танков, выпущенных СТЗ в 1942 году, съемным был весь кормовой лист башни (крепился восемью болтами). У сормовских машин этот люк вообще отсутствовал. В крыше башни имелся люк трапециевидной формы, закрывавшийся откидной крышкой, в которой находились два отверстия: левое — для установки прибора кругового обзора; правое — для сигнализации. С осени 1941 года прибор кругового обзора не устанавливался, а его отверстие заваривалось. На танках выпуска 1942 года этого отверстия уже не было. В переднем листе крыши башни имелись два отверстия: слева—для установки перископического прицела; справа, на продольной оси башни, закрытое колпаком, — для вентиляции. С конца 1941 года отверстий для прицелов было два — слева и справа от вентилятора. На танках первых выпусков в заднем листе крыши башни имелось отверстие для ввода антенны с приваренной бронировкой. У машин последующих выпусков это отверстие заваривалось, а позже просто не выполнялось, так как радиоаппаратуру вместе с антенным вводом перенесли из ниши башни в носовую часть корпуса (с правой стороны по ходу танка). Помимо сварных, выпускались литые башни, в которых крыша и днище ниши вваривались после предварительной мехобработки. Основания боковых смотровых приборов отливались заодно с корпусом башни. В остальном литая башня отличий от сварной не имела. В 1942 году была введена башня так называемой "улучшенной" формы, более близкая по своим очертаниям к правильному шестиграннику. Эта башня выполнялась как литой, так и штампованной. Передняя наклонная стенка башни имела прямоугольный вырез для монтажа вооружения. Снаружи вырез закрывался броневым лобовым щитом, крепившимся к башне болтами. На боковых стенках башни были прорезаны две смотровые щели, оборудованные смотровыми приборами. В задней стенке ниши находилось отверстие для крепления приспособления проверки отката и наката компрессора пушки. Отверстие закрывалось заглушкой, которая изнутри башни фиксировалась гайкой. В части танков выпуска 1943 года под смотровыми щелями имелись отверстия для стрельбы из револьвера, закрывавшиеся заглушками. Крыша башни представляла собой плоский броневой лист. В передней левой части крыши находилось отверстие для перископического прицела. На командирских танках в передней правой части крыши предусматривалось отверстие для командирской панорамы. В средней части крыши было оборудовано два круглых люка для входа и выхода экипажа. Между ними размещалась съемная перемычка, позволявшая вынимать через люки бортовые топливные баки, не снимая башни. В задней части крыши находился люк для вентиляции, закрытый броневым колпаком. С лета 1943 года у ряда танков на левом люке устанавливалась командирская башенка цилиндрической формы с пятью смотровыми щелями с защитными стеклами. Во вращавшейся на шариковой опоре крыше башенки имелся люк, закрывавшийся двухстворчатой крышкой с отверстием для смотрового прибора в одной из створок. Танки с командирской башенкой съемной перемычки в крыше башни не имели. ![]() Схема бронирования танка Т-34-85 ![]() Бронировка прицела ПТ-4-7 ![]() Бронировка смотрового прибора. На танках ранних выпусков верхняя крышка крепилась винтами, на поздних (это хорошо видно на соседнем снимке) — приваривалась ![]() Литая башня танка Т-34 выпуска 1942 года. Завод № 183 Башня танка Т-34-85 представляла собой фасонную стальную отливку. В передней ее части имелись амбразуры для установки пушки, спаренного пулемета и прицела. Снаружи к боковым стенкам башни приваривались четыре рыма и три поручня, а на задней стенке — шесть скоб для крепления брезента. |
![Иллюстрация к книге — Т-34 История танка [img_72.jpg] Иллюстрация к книге — Т-34 История танка [img_72.jpg]](img/book_covers/077/77240/img_72.jpg)
![Иллюстрация к книге — Т-34 История танка [img_73.jpg] Иллюстрация к книге — Т-34 История танка [img_73.jpg]](img/book_covers/077/77240/img_73.jpg)
![Иллюстрация к книге — Т-34 История танка [img_74.jpg] Иллюстрация к книге — Т-34 История танка [img_74.jpg]](img/book_covers/077/77240/img_74.jpg)
![Иллюстрация к книге — Т-34 История танка [img_75.jpg] Иллюстрация к книге — Т-34 История танка [img_75.jpg]](img/book_covers/077/77240/img_75.jpg)
![Иллюстрация к книге — Т-34 История танка [img_76.jpg] Иллюстрация к книге — Т-34 История танка [img_76.jpg]](img/book_covers/077/77240/img_76.jpg)
![Иллюстрация к книге — Т-34 История танка [img_77.jpg] Иллюстрация к книге — Т-34 История танка [img_77.jpg]](img/book_covers/077/77240/img_77.jpg)