Онлайн книга «Бронеавтомобили Красной Армии, 1918–1945»
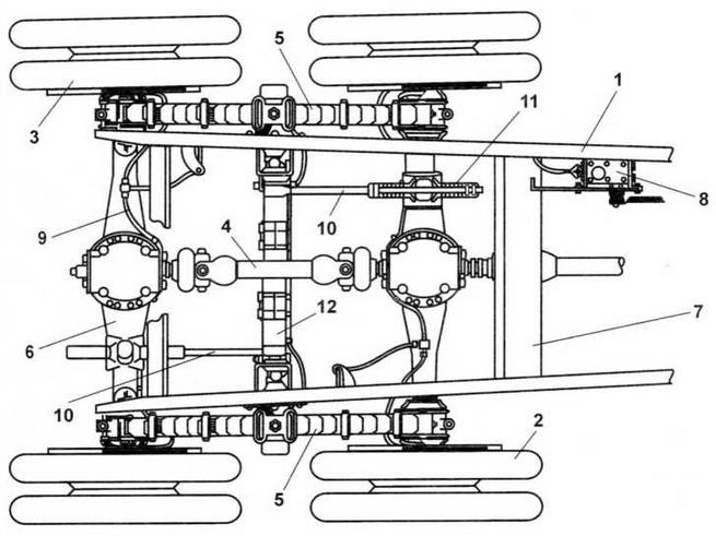
![]() Задние мосты БАИ: 1 — рама автомобиля: 2 — первый задний мост; 3 — второй задний мост; 4 — карданный вал; 5 — рессоры; 6 — кожух моста; 7 — поперечное крепление рамы; 8 — тормозной цилиндр; 9 — тормозной шланг; 10 — тяги против скручивания; 11 — пружина; 12— поперечное крепление В отличие от БА-3, на БА-6 устанавливался отечественный карбюраторный двигатель ГАЗ-АА мощностью 40 л.с. при 2200 об/мин. С 1936 по 1938 год Ижорский завод выпустил 386 бронеавтомобилей БА-6. Было изготовлено и небольшое количество броневиков этого типа в варианте БА-6 жд. При перестановке с обычного на железнодорожный ход на переднем и заднем мостах машины вместо пневматиков устанавливались железнодорожные скаты специальной конструкции. Рулевое управление блокировалось. При массе 5,9 т БА-6 жд развивал по железной дороге скорость до 55 км/ч. В 1936 году был изготовлен опытный образец модернизированного броневика БА-6М с башней в виде усеченного конуса, с увеличенной толщиной брони до 10 мм и 50-сильным двигателем М-1. В связи с установкой конической башни и уменьшением объема боевого отделения боекомплект сократили до 50 выстрелов к пушке и 2520 патронов к пулеметам ДТ. Емкость топливных баков увеличили с 65 до 94 л. Запас хода бронеавтомобиля возрос со 197 км до 250 км. За счет более рациональной компоновки, несмотря на усиление броневой защиты, масса броневика снизилась до 4,8 т. Максимальная скорость по шоссе возросла до 52 км/ч. Одновременно с БА-6М на Ижорском заводе построили его облегченный вариант БА-9, вооруженный 12,7-мм пулеметом ДК вместо пушки. При этом в башне устанавливался только крупнокалиберный пулемет, 7,62-мм пулемет ДТ размещался в шаровой опоре лобового листа корпуса. Боекомплект состоял из 1000 патронов к пулемету ДК и 1512 патронов к пулемету ДТ. Боевая масса сократилась до 4,5 т. Максимальная скорость по шоссе составляла 55 км/ч. Емкость топливных баков увеличилась до 104 л. Запас хода по шоссе возрос еще больше. По указанию наркома обороны К.Е.Ворошилова в 1937 году Ижорский завод должен был изготовить 100 БА-9 для кавалерийских частей. Однако из-за отсутствия нужного количества пулеметов ДК этого сделать не удалось. Бронеавтомобили БА-3 и БА-6 поступали на вооружение разведывательных подразделений танковых, кавалерийских и стрелковых соединений Красной Армии. В 1937 году в Забайкальском военном округе был сформирован мотоброневой полк, вскоре развернутый в бригаду. В нее входили: батальон средних бронеавтомобилей, разведывательный батальон (средние и легкие бронеавтомобили) и стрелково-пулеметный батальон. Всего в бригаде имелось 80 средних и 30 легких бронеавтомобилей. Три таких бригады — 7-я, 8-я и 9-я принимали участие в боях с японскими войсками у р.Халхин-Гол. ![]() БА-6 ![]() Бронеавтомобиль БА-6М Практически одновременно с поступлением новых броневиков в Красную Армию началась и их поставка за рубеж. Из иностранных источников можно почерпнуть сведения о продаже в 1935 году Турции 60 бронеавтомобилей БА-6. Если время продажи указано верно, то речь, скорее всего, идет о машинах БА-3, поскольку выпуск БА-6 начался годом позже. Это предположение представляется автору наиболее вероятным и с точки зрения эксплуатации. Туркам проще было обслуживать американское шасси "Форд-Тимкен", а не советское ГАЗ-ААА. С декабря 1936 года и вплоть до свертывания советской военной помощи в 1938 году в Испанию были поставлены 7 бронеавтомобилей БАИ и 80 БА-6. Одним из первых соединений республиканской армии, получившим эти боевые машины, стала 1-я бронетанковая бригада под командованием Д.Г.Павлова, принимавшая участие в тяжелых боях под Мадридом в январе 1937 года. Экипажи танков и броневиков состояли из советских и испанских танкистов. В боях под Мадридом БА-6 подбили несколько танков противника. К лету 1937 года в составе испанской республиканской армии была сформирована бронеавтомобильная бригада. В декабре 1937 года до 30 бронеавтомобилей БА-6 с испанскими экипажами участвовали в наступлении на Теруэльский выступ — последней крупной и успешной операции республиканцев. После окончания гражданской войны некоторое количество бронеавтомобилей БА-6 состояло на вооружении испанской армии до начала 50-х годов. Бронеавтомобили БА-6 находились на вооружении и Монгольской народно-революционной армии. Укомплектованные ими бронедивизионы 6-й и 8-й монгольских кавалерийских дивизий принимали участие в вооруженном конфликте у р.Халхин-Гол весной — летом 1939 года. В иностранной печати приводились сведения о поставках бронеавтомобилей БА-6 в Афганистан и Китай. По поводу первого трудно сказать что-либо определенное: автор не может ни подтвердить, ни опровергнуть эти сведения. Что же касается Китая, то это маловероятно. Во всяком случае, в опубликованных в отечественной печати данных о поставках в Китай боевой техники и вооружения с 1936 по 1939 год бронеавтомобили БА-6 (как, впрочем, и бронеавтомобили вообще) не значатся. Таким образом, в период с 1935 по 1939 год было экспортировано свыше 150 бронеавтомобилей БАИ, БА-3 и БА-6. Большинство других несло службу в частях Красной Армии преимущественно на Дальнем Востоке. ![]() ![]() На фото вверху и в центре — бронеавтомобиль БА-9 ![]() Бронеавтомобиль БА-6 республиканской армии, подбитый в сражении у р. Эбро. Испания, 1937 год Так, в частности, в составе 57-го Особого корпуса, дислоцировавшегося на территории Монголии и развернутого позже в 1-ю армейскую группу, по состоянию на 1 февраля 1939 года насчитывалось 203 средних бронеавтомобиля. Примерно половина из них были БА-3 и БА-6. Уже в мае боевые машины этого типа приняли участие в первых боях с японцами в районе р.Халхин-Гол. В ходе этих боев три броневика БА-6 были потеряны. Наиболее же массово бронеавтомобили всех типов применялись 3 июля 1939 года в жестоких боях у г.Баин-Цаган. О накале боев можно судить по словам лейтенанта А.А.Мартынова, командира взвода 1-й роты 247-го автоброневого батальона 7-й мотоброневой бригады, записанным сразу после боя 3 июля: "До обороняющегося противника оставалось 150—200 м, он вел огонь справа и с фронта. При обнаружении противника я открыл огонь с хода. Выпустил четыре снаряда и после, когда машину подбили, еще 11. Вижу — справа горят две машины, впереди горит дозорная машина. У меня снарядом заклинило башню. Я дал приказ — вести огонь из лобового пулемета, но тут же снарядом убило водителя и пулеметчика. |
![Иллюстрация к книге — Бронеавтомобили Красной Армии, 1918–1945 [img_44.jpg] Иллюстрация к книге — Бронеавтомобили Красной Армии, 1918–1945 [img_44.jpg]](img/book_covers/077/77239/img_44.jpg)
![Иллюстрация к книге — Бронеавтомобили Красной Армии, 1918–1945 [img_45.jpg] Иллюстрация к книге — Бронеавтомобили Красной Армии, 1918–1945 [img_45.jpg]](img/book_covers/077/77239/img_45.jpg)
![Иллюстрация к книге — Бронеавтомобили Красной Армии, 1918–1945 [img_46.jpg] Иллюстрация к книге — Бронеавтомобили Красной Армии, 1918–1945 [img_46.jpg]](img/book_covers/077/77239/img_46.jpg)
![Иллюстрация к книге — Бронеавтомобили Красной Армии, 1918–1945 [img_47.jpg] Иллюстрация к книге — Бронеавтомобили Красной Армии, 1918–1945 [img_47.jpg]](img/book_covers/077/77239/img_47.jpg)
![Иллюстрация к книге — Бронеавтомобили Красной Армии, 1918–1945 [img_48.jpg] Иллюстрация к книге — Бронеавтомобили Красной Армии, 1918–1945 [img_48.jpg]](img/book_covers/077/77239/img_48.jpg)
![Иллюстрация к книге — Бронеавтомобили Красной Армии, 1918–1945 [img_49.jpg] Иллюстрация к книге — Бронеавтомобили Красной Армии, 1918–1945 [img_49.jpg]](img/book_covers/077/77239/img_49.jpg)