Книга Психология индивидуальных различий, страница 223 – Евгений Ильин

Авторы: А Б В Г Д Е Ж З И Й К Л М Н О П Р С Т У Ф Х Ч Ш Ы Э Ю Я
Книги: А Б В Г Д Е Ж З И Й К Л М Н О П Р С Т У Ф Х Ц Ч Ш Щ Ы Э Ю Я
Бесплатная онлайн библиотека LoveRead.in

Онлайн книга «Психология индивидуальных различий»

📃 Cтраница 223

Существует определенная программа записи на магнитофонную пленку для проведения исследования. Положительным сигналом (на который испытуемый отвечает, нажимая на кнопку рефлексометра и останавливая его) служит звук высотой 800 Гц средней силы. Для изучения последействия положительных раздражителей эти звуки подаются парами. Интервалы между ними составляют 0,5; 0,7; 1,0; 3,0; 5,0 с. Между парами сигналов интервалы постоянные и равны 12 с. Пары повторяются без определенной системы от 8 до 12 раз. Последействие тормозных раздражителей (звук высотой 3000 Гц) изучается при отставлении положительного сигнала от тормозного на 0,1 с. Положительные раздражители идут после тормозных всего 5 раз (на фоне беспорядочного следования друг за другом как положительных, так и тормозных сигналов).

Сначала обследуемый тренируется различать положительные и тормозные сигналы и нажимать на кнопку рефлексометра только при появлении первых.

Критерии для диагностики. Показателем подвижности – инертности нервных процессов служит время реакции на положительные раздражители после предшествования в одном случае положительного сигнала, а в другом – отрицательного. Фоновое время реакции, по которому сравниваются сдвиги, высчитывается как среднее для данного обследуемого на сигнал, отделенный от предшествующего положительного 12 с. В каждом исследовании учитывается не менее 50 фоновых реакций.

Последействие положительного раздражителя высчитывается сравнением времени реакции на второй положительный раздражитель в каждой паре раздражителей (предоставляется 10 попыток). Поскольку между положительными сигналами временные интервалы разные, по сдвигам, выявленным при каждом интервале, можно судить о быстроте нервного процесса, вызываемого положительным раздражителем.

Если последействие длительное, последующий раздражитель вызывает возбуждение на фоне остаточного возбуждения от предшествующего раздражения, и они суммируются. Это уменьшает время реакции. Если последействие имеет среднюю быстроту течения, то при коротких интервалах между двумя положительными сигналами будет наблюдаться суммация возбуждения и укорочение времени реакции, а при длительных интервалах – отрицательная последовательная индукция и увеличение времени реакции. Такая двухволновость изменения времени реакции свидетельствует, что за 5 с (время максимального интервала) следовые процессы прошли уже две фазы, в то время как в предыдущем случае – только одну. Наконец, если отрицательная фаза индукции встречается уже при коротких интервалах между двумя положительными сигналами, то быстрота течения следовых процессов еще больше; в этом случае время реакции увеличивается уже при коротких интервалах между сигналами.

Субъектов с первым типом реакций можно отнести к инертным по возбуждению, а с третьим типом реакций – к подвижным по возбуждению.

Показателем длительности последействия тормозного раздражителя служит отношение времени реакции на положительный сигнал после тормозного к фоновому времени: если это отношение больше 1, можно говорить об инертности торможения, если меньше 1 (вследствие положительной индукции) – о подвижности торможения.

Существенный недостаток данной методики – то, что подвижность возбуждения и торможения определяется в разных временных развертках: для последействия тормозного сигнала используется интервал 0,1 с, а положительного – 0,5 с и больше. Отсюда нельзя сравнить у одного и того же субъекта подвижность возбуждения с подвижностью торможения. Неидентичны и приемы ее определения: если влияние тормозного сигнала на положительный изучать оказывается возможным, то обратное влияние – нет.

Использование методики затруднено еще и по причине громоздкости и сложности аппаратуры, необходимой для исследования.

Кинематометрическая методика (Е. П. Ильин)

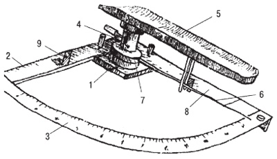
Аппаратура, необходимая для исследования. Используется кинематометр Жуковского (лучше применять разборный вариант для удобства транспортировки, см. рис. П.9), который может быть изготовлен в любой мастерской.

Основание прибора представляет собой металлический прямоугольник 10x10 см (1), к которому крепятся под прямым углом две граненые металлические полосы около 40 см длиной (2). К свободным концам этих полос прикрепляется дуга (из плотной фанеры) со шкалой от 0 до 90 угловых градусов (3). На металлической стойке (4) основания кинематометра помещена деревянная платформа (5), имеющая верхнюю поверхность в виде желоба, чтобы предплечье обследуемого лежало на ней удобнее. Платформа движется в горизонтальной плоскости, вращаясь на металлической стойке без значительного сопротивления, и перемещает за собой стрелку прибора (6), указывающую своим положением на шкале протяженность выполняемого движения.

Иллюстрация к книге — Психология индивидуальных различий [autogen_ebook_id206.jpg]

Рис. П.9. Кинематометр Жуковского (обозначения даны в тексте).

Крепится стрелка на стойке с помощью диска (7), а фиксируется к ложу кинематометра двумя металлическими стержнями, ограничивающими стрелку с двух сторон (8). Вывинтив левый стержень, можно добиться того, что после каждого движения стрелка останется на том месте, куда ее привела рука обследуемого. Это на первых порах облегчает получение показателей обследующему со шкалы кинематометра, но вынуждает возвращать стрелку в исходное положение (на 0). Ограничители, укрепленные с обеих сторон на полосах основания прибора (9), задерживают движение стрелки, а с ней и платформы за пределы шкалы и помогают фиксировать исходное положение руки обследуемого.

Учитывая легкость кинематометра и его возможное смещение при движениях обследуемого, он укрепляется к углу стола за металлические полосы двумя струбцинами.

Процедура исследования. Обследуемый, сидя лицом к столу, помещает предплечье на платформе кинематометра, чтобы воображаемая ось локтевого сустава совпадала с осью вращения платформы. Высоту стула, на котором сидит испытуемый, необходимо отрегулировать в зависимости от роста человека (особенно при обследовании детей), чтобы поза была удобной. Движения рукой (сгибания в локтевом суставе) выполняются плавно, в удобном для человека темпе. Ему предварительно дается возможность освоится с прибором, почувствовать ход платформы, принять удобную позу. После этого объясняется задание.

Закрыв глаза, обследуемый выбирает малую амплитуду движений (в пределах 20—30°) и, согнув руки на выбранную величину, запоминает ее, при этом не открывает глаза и отводит руку в исходное положение. Далее он, не открывая глаз, должен сделать движение с несколько большей амплитудой, чем при первом (эталонном) движении (по инструкции – на 1°), и снова вернуть руку в исходное положение. Для третьего движения дается противоположное задание: уменьшить эталонную (выбранную) амплитуду на 1°. Если, например, в первом движении амплитуда равнялась 24°, то во втором надо сделать движение на 25°, а в третьем – на 23° (в действительности и прибавление амплитуды, и ее уменьшение бывают значительно большими).

На малой амплитуде эта процедура повторяется 4 раза, причем в двух попытках обследуемый после выбора амплитуды сначала прибавляет, а потом убавляет ее, а в двух других сначала уменьшает, а затем увеличивает амплитуду. Важно, чтобы число тех и других попыток было одинаковым.

Вход
Поиск по сайту
Ищем:
Календарь