Онлайн книга «Средний танк PZ.IV. «Рабочая лошадка» Панцерваффе»
|
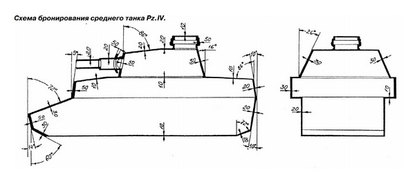
По бортам отделения управления, слева от механика-водителя и справа от стрелка-радиста, имелись смотровые приборы триплекс, закрываемые откидными бронекрышками. ![]() Компоновка танка Pz.IV: 1 — башня; 2 — командирская башенка; 3 — ящик для снаряжения; 4 — вращающийся полик боевого отделения; 5 — вентиляторы; 6 — двигатель; 7 — шкив привода вентиляторов; 8 — выхлопной коллектор; 9 — глушитель двигателя поворота башни; 10 — глушитель; 11 — направляющее колесо; 12 — тележка подвески; 13 — карданный вал; 14 — коробка передач; 15 — кулиса переключения передач; 16 — ведущее колесо. ![]() Между кормовой частью корпуса и боевым отделением находилась перегородка. В крыше моторного отделения имелись два люка, закрытых откидными крышками. Начиная с Ausf.F1 крышки оборудовались жалюзи. В обратном скосе левого борта было окно воздухопритока к радиатору, а в обратном скосе правого борта — окно воздухооттока от вентиляторов. БАШНЯ — сварная, шестигранная, установлена на шариковой опоре на подбашенном листе корпуса. В ее передней части в маске располагались пушка, спаренный пулемет и прицел. Слева и справа от маски имелись лючки для наблюдения со стеклами триплекс. Лючки закрывались наружными броневыми заслонками изнутри башни. Начиная с модификации G, лючок справа от пушки отсутствовал. Башня приводилась во вращение электромеханическим поворотным механизмом с максимальной скоростью 14 град/с. Полный оборот башни осуществлялся за 26 с. Маховики ручного привода башни располагались у рабочих мест наводчика и заряжающего. ![]() Башня танка Pz.IV Ausf.А. Следует отметить, что за время серийного производства конфигурация башни практически не изменилась. ![]() Башня танка Pz.IV Ausf.D без вооружения. В задней части крыши башни находилась командирская башенка с пятью смотровыми щелями со стеклами триплекс. Снаружи смотровые щели закрывались раздвижными броневыми заслонками, а люк в крыше башенки, предназначенный для входа и выхода командира танка, — двустворчатой крышкой (позже — одностворчатой). В башенке имелось устройство циферблатно-часового типа для определения места цели. Второе такое же устройство было в распоряжении наводчика и, получив приказ, он мог быстро развернуть башню на цель. У места механика-водителя размещался индикатор положения башни с двумя лампочками (кроме танков Ausf.J), благодаря которому он знал, в каком положении находятся башня и пушка (это особенно важно при движении по лесистой местности и населенным пунктам). ![]() Башня танка Pz.IV Ausf.J. На передней части командирской башенки установлен кронштейн для крепления зенитного пулемета. Для посадки и высадки членов экипажа в бортах башни имелись люки с одностворчатыми и двустворчатыми (начиная с варианта F1) крышками. В крышках люков и бортах башни устанавливались смотровые приборы. Кормовой лист башни был оборудован двумя лючками для стрельбы из личного оружия. На части машин модификаций H и J, в связи с установкой экранов, смотровые приборы и лючки отсутствовали. ВООРУЖЕНИЕ. Основное вооружение танков модификаций A — F1 — пушка 7,5 cm KwK 37 калибра 75 мм фирмы Rheinmetall-Borsig. Длина ствола пушки — 24 калибра (1765,3 мм). Масса пушки — 490 кг. Вертикальная наводка — в пределах от -10° до +20°. Пушка имела вертикальный клиновой затвор и электроспуск. В ее боекомплект входили выстрелы с дымовыми (масса 6,21 кг, начальная скорость 455 м/с), осколочно-фугасными (5,73 кг, 450 м/с), бронебойными (6,8 кг, 385 м/с) и кумулятивными (4,44 кг 450…485 м/с) снарядами. ![]() Внутренний вид командирской башенки. На верхнем снимке смотровые приборы в открытом положении, а на нижнем — в закрытом. ![]() ![]() Установка 75-мм пушки KwK 37 (L/24). ![]() Интерьер башни танка Pz.IV Ausf.Е. Хорошо видны казенная часть пушки, спаренный пулемет, ограждение пушки и башенный вентилятор. Танки Ausf.F2 и часть танков Ausf.G вооружались пушкой 7,5 cm KwK 40 с длиной ствола 43 калибра (3473 мм), имевшей массу 670 кг. Часть танков Ausf.G и машины Ausf.H и J оснащались пушкой 7,5 cm KwK 40 с длиной ствола 48 калибров (3855 мм) и массой 750 кг. Вертикальная наводка — -8°…+20°. Предельная длина отката — 520 мм. На марше пушка фиксировалась на угле возвышения +16°. С пушкой был спарен 7,92-мм пулемет MG 34. Курсовой пулемет размещался в лобовом листе подбашенной коробки в шаровой установке (кроме модификаций B и C). На командирской башенке позднего типа на специальном устройстве Fliegerbeschützgerät 41 или 42 можно было установить зенитный пулемет MG 34. ![]() Интерьер башни танка Pz.IV Ausf.Е. Хорошо видны ограждение пушки, налобник и окуляр телескопического прицела и маховик подъемного механизма. ![]() Интерьер башни танка Pz.IV Ausf.G. По сравнению с танками, вооруженными короткоствольными пушками, в интерьере башни ничего не изменилось. |
![Иллюстрация к книге — Средний танк PZ.IV. «Рабочая лошадка» Панцерваффе [i_044.jpg] Иллюстрация к книге — Средний танк PZ.IV. «Рабочая лошадка» Панцерваффе [i_044.jpg]](img/book_covers/074/74511/i_044.jpg)
![Иллюстрация к книге — Средний танк PZ.IV. «Рабочая лошадка» Панцерваффе [i_045.jpg] Иллюстрация к книге — Средний танк PZ.IV. «Рабочая лошадка» Панцерваффе [i_045.jpg]](img/book_covers/074/74511/i_045.jpg)
![Иллюстрация к книге — Средний танк PZ.IV. «Рабочая лошадка» Панцерваффе [i_046.jpg] Иллюстрация к книге — Средний танк PZ.IV. «Рабочая лошадка» Панцерваффе [i_046.jpg]](img/book_covers/074/74511/i_046.jpg)
![Иллюстрация к книге — Средний танк PZ.IV. «Рабочая лошадка» Панцерваффе [i_047.jpg] Иллюстрация к книге — Средний танк PZ.IV. «Рабочая лошадка» Панцерваффе [i_047.jpg]](img/book_covers/074/74511/i_047.jpg)
![Иллюстрация к книге — Средний танк PZ.IV. «Рабочая лошадка» Панцерваффе [i_048.jpg] Иллюстрация к книге — Средний танк PZ.IV. «Рабочая лошадка» Панцерваффе [i_048.jpg]](img/book_covers/074/74511/i_048.jpg)
![Иллюстрация к книге — Средний танк PZ.IV. «Рабочая лошадка» Панцерваффе [i_049.jpg] Иллюстрация к книге — Средний танк PZ.IV. «Рабочая лошадка» Панцерваффе [i_049.jpg]](img/book_covers/074/74511/i_049.jpg)
![Иллюстрация к книге — Средний танк PZ.IV. «Рабочая лошадка» Панцерваффе [i_050.jpg] Иллюстрация к книге — Средний танк PZ.IV. «Рабочая лошадка» Панцерваффе [i_050.jpg]](img/book_covers/074/74511/i_050.jpg)
![Иллюстрация к книге — Средний танк PZ.IV. «Рабочая лошадка» Панцерваффе [i_051.jpg] Иллюстрация к книге — Средний танк PZ.IV. «Рабочая лошадка» Панцерваффе [i_051.jpg]](img/book_covers/074/74511/i_051.jpg)
![Иллюстрация к книге — Средний танк PZ.IV. «Рабочая лошадка» Панцерваффе [i_052.jpg] Иллюстрация к книге — Средний танк PZ.IV. «Рабочая лошадка» Панцерваффе [i_052.jpg]](img/book_covers/074/74511/i_052.jpg)
![Иллюстрация к книге — Средний танк PZ.IV. «Рабочая лошадка» Панцерваффе [i_053.jpg] Иллюстрация к книге — Средний танк PZ.IV. «Рабочая лошадка» Панцерваффе [i_053.jpg]](img/book_covers/074/74511/i_053.jpg)
![Иллюстрация к книге — Средний танк PZ.IV. «Рабочая лошадка» Панцерваффе [i_054.jpg] Иллюстрация к книге — Средний танк PZ.IV. «Рабочая лошадка» Панцерваффе [i_054.jpg]](img/book_covers/074/74511/i_054.jpg)