Книга От «Першинга» до «Паттона». Средние танки М26, М46 и М47, страница 11 – Виктор Мальгинов

Авторы: А Б В Г Д Е Ж З И Й К Л М Н О П Р С Т У Ф Х Ч Ш Ы Э Ю Я
Книги: А Б В Г Д Е Ж З И Й К Л М Н О П Р С Т У Ф Х Ц Ч Ш Щ Ы Э Ю Я
Бесплатная онлайн библиотека LoveRead.in

Онлайн книга «От «Першинга» до «Паттона». Средние танки М26, М46 и М47»

📃 Cтраница 11
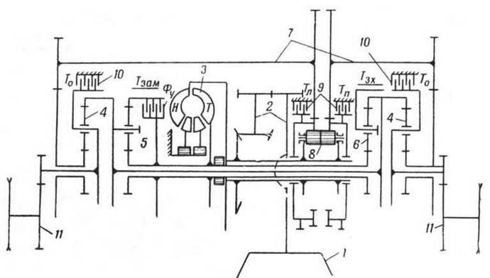
Иллюстрация к книге — От «Першинга» до «Паттона». Средние танки М26, М46 и М47 [img_36.jpg]

Принципиальная кинематическая схема гидромеханической транемиссии «кроссдрайв»:

1 — двигатель; 2 — первичный редуктор; 3 — комплексный гидротрансформатор; 4 — суммирующие планетарные ряды; 5 — планетарный ряд замедленной передачи; б — планетарный ряд заднего хода; 7 — дополнительные передачи; 8 — простой цилиндрический дифференциал; 9 — тормоза поворота; 10 — остановочные тормоза; И — бортовые передачи


Из-за увеличения длины у М46 и М47 гусеница состояла из 86 траков. На М46 обычно ставилась гусеница, набранная из траков Т80Е1, как и на М26 и М45. Однако к началу войны в Корее некоторые танки М26 и М46 получили новую гусеницу Т84Е1 с резиновыми асфальтоходными подушками и резиновыми грунтозацепами. А на М47 эта гусеница стала стандартной, хотя на этих танках использовалась и новая гусеница с металлическим грунтозацепом Т80Е6. Обе они по конструкции были аналогичны Т80Е1.

ЭЛЕКТРООБОРУДОВАНИЕ выполнялось по однопроводной схеме. Напряжение 24 В. Все танки имели по четыре аккумулятора напряжением 12 В.

СРЕДСТВА СВЯЗИ. Рабочие места всех пяти членов экипажа танков М26, М45, М46 и М47 оборудовались индивидуальными переговорными устройствами. На корме танков М46 и М47 был закреплен телефонный аппарат для связи командира танка и пехоты. Если танк стоял на месте, он мог подключаться к полевой телефонной линии.

Связь между машинами осуществлялась с помощью приемо-передающей радиостанции SCR-528, работавшей в диапазоне коротких и ультракоротких волн. Для работы в каждом диапазоне использовалась отдельная антенна, поэтому на танках их было установлено по две.

Боевое применение

Начало серийного производства Т26ЕЗ не означало, что он сразу стал поступать в войска. Предполагалось, что первые серийные танки пройдут нормальную испытательную программу на территории США, в ходе которой выявят их дефекты и подготовят руководство службы. Практически это исключало появление новых машин на Западноевропейском театре военных действий до конца войны.

Однако после Арденн, где американцы впервые столкнулись с большим количеством только что появившихся немецких танков Pz.VIB «Королевский тигр», против которого «Шерман» был абсолютно бессилен, возобладало мнение о необходимости испытания новых машин в условиях военных действий. Кроме того, учитывая, что против «Королевского тигра» орудие Т26ЕЗ было слабовато, в число «подопытных» танков включили и один Т26Е1, вооруженный мощной 90-мм пушкой Т15Е1.

В январе 1945 года 20 Т26ЕЗ и один Т26Е1 были доставлены в Антверпен. Использование их в бою являлось составной частью миссии «Зебра». Под этим названием скрывалась программа испытаний перспективных образцов вооружения в условиях военных действий.

По десять Т26 получили 3-я и 9-я бронетанковые дивизии 3-й американской армии. Т26Е1 попал в 3-ю бронетанковую дивизию. В этой же дивизии по взводу Т26 (5 машин) получили 32-й и 33-й танковые полки, а в 9-й — 14-й и 19-й батальоны. После поступления машин в части назначенные экипажи приступили к освоению новых танков и боевой подготовке, которая закончилась в феврале.

Затем танки перебросили на фронт. Ночью 26 февраля один из Т26 33-го танкового полка был обстрелян и поврежден «Тигром» в районе немецкого городка Элсдорф. Но уже на следующий день американские танкисты сумели подбить один «Тигр» и два Pz.IV, причем дальность, с которой Т26 вели стрельбу, была запредельной для «Шермана» (800 м — для «Тигра» и 1000 м — для Pz.IV).

Иллюстрация к книге — От «Першинга» до «Паттона». Средние танки М26, М46 и М47 [img_37.jpg]

Танки М26 «Першинг» во время выгрузки в порту Антверпена. Январь 1945 года


Танкисты 9-й бронетанковой дивизии вступили в бой 1 марта. И ночью тех же суток один Т26 повредило фугасным снарядом. Вообще, имея полное господство в воздухе, американцы, за редким исключением, старались ночных операций не проводить, и танкистов к ним не готовили. Единственная безвозвратная потеря Т26 имела место в марте 1945 года: танк 3-й бронетанковой дивизии был поражен затаившимся в засаде немецким 88-мм самоходным противотанковым орудием «Насхорн» с дистанции 300 м. В машине возник пожар, и она взорвалась; к счастью, экипажу удалось спастись. Остатки танка разобрали на запасные части.

6 марта в г.Кёльне удачей для Т26 закончился его поединок с немецкой «Пантерой», пораженной тремя выстрелами. 7 марта оперативная группа 9-й бронетанковой дивизии вышла на западный берег р.Рейн, около г.Ремагена. К своему удивлению, американцы обнаружили, что железнодорожный мост Людендорфа через Рейн не подорван и по нему в спешке отступают немецкие части.

К середине дня американцы приблизились к западному концу моста. К тому времени немцы смогли взорвать только въезд на него. Танки Т26, рассредоточившись, открыли огонь фугасными снарядами по противоположному берегу реки, и надо сказать, довольно успешно — близким разрывом снаряда контузило командира немецких саперов. Когда он через 15 минут пришел в себя и сумел получить приказ на взрыв моста, проводка к подрывным зарядам была перебита. Доброволец пробрался на мост и от руки поджег запальный шнур. Но здесь то ли сыграло свою роль хваленое немецкое качество, то ли саперы у Гитлера были уже не те, но взрыв лишь повредил железнодорожные пути на мосту. Американская пехота бросилась на восточный берег по нетронутым пешеходным проходам, попутно перерезая все встречавшиеся на мосту провода и кабели. Огонь Т26 заставил замолчать оборонявшие восточный конец моста пулеметы. Уже за первые сутки на другой берег было переброшено 8 тысяч солдат. Через пять дней по восстановленному настилу на другой берег перебрались и Т26.

В течение 9 дней немцы пытались уничтожить злосчастную переправу с помощью авиации и пусков ракет ФАУ-2. Обрушить мост Людендорфа смогли только американские саперы, приводившие его в порядок! 17 февраля он рухнул в Рейн, унеся с собой жизни 28 саперов.

Т26 зарекомендовали себя в первых боевых столкновениях очень хорошо, технические проблемы оказались также не слишком велики. Поэтому из Америки в конце марта прибыла еще одна партия новых танков. Они поступили в 12-ю армию и были распределены между 2-й (22 танка) и 5-й (18) бронетанковыми дивизиями. В дальнейшем 30 танков получила и 11-я бронетанковая дивизия 3-й армии генерала Паттона. Поставки Т26 в Европу продолжались, но побывать в активных боевых действиях они уже не успели.

Т26Е1 не столько участвовал в боях, сколько подвергался экранировке, из него пытались получить «Королевский тигр» по-американски. Вырезанной из немецких танков броней покрыли лоб башни и корпуса, а потом и вообще обварили башню. В результате эта машина участвовала в бою всего один раз, сумев 4 апреля подбить немецкий танк с расстояния почти в полтора километра. Помериться силами с «Королевским тигром» ему так и не довелось.

Вход
Поиск по сайту
Ищем:
Календарь