Книга Артиллерийские тягачи Красной Армии. Часть 2, страница 16 – Евгений Прочко

Авторы: А Б В Г Д Е Ж З И Й К Л М Н О П Р С Т У Ф Х Ч Ш Ы Э Ю Я
Книги: А Б В Г Д Е Ж З И Й К Л М Н О П Р С Т У Ф Х Ц Ч Ш Щ Ы Э Ю Я
Бесплатная онлайн библиотека LoveRead.in

Онлайн книга «Артиллерийские тягачи Красной Армии. Часть 2»

📃 Cтраница 16
Иллюстрация к книге — Артиллерийские тягачи Красной Армии. Часть 2 [img_49.jpg]

Грузовая платформа (вид сбоку и сзади, с частичным сечением):

1 — поперечные брусья; 2 — доски пола; 3 — передняя стенка: 4 — боковые стенки: 5 — металлические планки: 6 — ящики для ЗИП: 7 — сиденья: 8 — дверь: 9 — угольник: 10 — укосина: 11 — вертикальный угольник

Иллюстрация к книге — Артиллерийские тягачи Красной Армии. Часть 2 [img_50.jpg]

Тент грузовой платформы:

1 — тент: 2 — дуга каркаса: 3 — прижим тента: 4 — кронштейн: 5 — канат: 6 — крюк: 7 — застежка: 8 — откидной клапан


Я-13Ф

Видя острую потребность в более мощном и выносливом, чем ЗИС-5М, двигателе для установки на быстроходные тягачи и легкие бронированные гусеничные машины, Миасский автомоторный завод приступил к созданию его форсированной до 90 — 100 л.с. и более надежной модификации. Этому способствовал и ГАЗ, настойчиво искавший альтернативу своей вынужденной " спарке" ГАЗ-203. Именно военпредом ГАЗа полковником Муравичем была высказана идея максимально форсировать довоенный двигатель ЗИС-16, одновременно доработав его и приспособив к "танковой" службе. Перепроектированием фактически чужого мотора в начале 1943 года занимались конструкторы А.М.Кригер, Н.Г.Мозохин, Г.В.Эварт под общим руководством главного конструктора ГАЗа А.А.Липгарта, двигателиста по образованию и профессиональным наклонностям. И хотя эта работа закончилась неудачей, а ГАЗ к ней больше не возвращался, ему удалось заинтересовать в проведении коренной модернизации мотора ЗИС-5М А.С.Айзенберга, руководителя бюро двигателей Миасского автомоторного завода. Несмотря на малочисленность коллектива КБ, к тому же загруженного работой, связанной с массовым производством, отсутствие экспериментального цеха и нехватки универсальных станков на еще не полностью оборудованном заводе, его сотрудники проделали очень большую работу по созданию фактически нового двигателя ЗИС-МФ ("миасский форсированный").

Уже в ноябре 1943 года выпустили его опытные образцы. На ЗИС-МФ применили термодинамически более совершенную головку блока со степенью сжатия 6,1 (предельную для бензина КБ-70), алюминиевые поршни с иным расположением колец, более жесткие шатуны с усиленными поршневыми пальцами и с заливкой нижних головок (как и коренных подшипников) высококачественным баббитом Б-83, усиленный коленчатый вал с закалкой шеек ТВ4, новый распредвал с расширенными фазами (продолжительность впуска и выпуска — по 276°) и увеличенным подъемом клапанов. Для ЗИС-МФ разработали новые всасывающий (с увеличенными каналами в блоке) и выхлопной коллекторы с регулируемым подогревом рабочей смеси, поставили новый карбюратор МКЗ-10 типа "Зенит" с пневматическим ограничителем максимальных оборотов типа "Солекс". Были усилены маховик и его картер. В систему смазки ввели полнопоточный фильтр "Куно" с ручной очисткой пластин, маслонасос со значительно увеличенной производительностью. К сожалению, дополнительная секция насоса для подачи масла в радиатор (в тяжелых условиях оно перегревалось) так и не была установлена. В какой-то степени это компенсировалось увеличенным на 4 л объемом маслоподдона, позволявшего к тому же нормально работать двигателю на уклонах до 30° без ограничения по времени.

Иллюстрация к книге — Артиллерийские тягачи Красной Армии. Часть 2 [img_51.jpg]

Тягачи Я-12 на одном из послевоенных парадов Войска Польского

Иллюстрация к книге — Артиллерийские тягачи Красной Армии. Часть 2 [img_52.jpg]

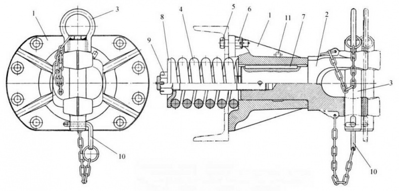
Буксирное приспособление:

1 — кронштейн; 2 — крюк; 3 — шкворень; 4 — пружина; 5 — болт; 6 — гайка; 7 — шпонка; 8 — упорная шайба; 9 — гайка; 10—чека; 11 — масленка


Ввиду значительного форсирования двигателя ввели более теплонапряженные свечи, а также 12-вольтовое электрооборудование с 200-ваттным двухщеточным генератором с реле-регулятором, стартер МАФ-31 мощностью 2 л.с. (у ЗИС-5М — 0,9 л.с.). Двигатель ЗИС-МФ с полным оборудованием устойчиво развивал мощность 95 — 96 л.с. при 2800 об/мин. В связи с возросшим на нем до 30,5 — 31 кгс/м максимальным моментом пружины ГФ соответственно усилили. Все шестерни в КП подвергались термообработке на более высокую твердость (по технологии завода, принятой для изготовления КП СУ-76М). Был сохранен штатный механизм блокировки от самовыключения шестерен. Силовой агрегат ЗИС-МФ предполагалось устанавливать на тягачи Я-13 взамен недостаточно мощного ЗИС-5М. В этом случае максимальная скорость движения с нагрузкой без прицепа по дороге с твердым покрытием возрастала до 24 км/ч, а расчетная сила тяги на крюке увеличивалась на 350 — 590 кгс.

Тем не менее, как и на тягаче Я-13, из-за недостаточного запаса по сцеплению масса буксируемого прицепа по- прежнему ограничивалась 5 т. Тягач с двигателем ЗИС-МФ получил марку Я-13Ф. При установке нового силового агрегата масса машины возросла незначительно. Снова вернулись к главному соединительному валу с упругими шарнирами "Харди". Все остальные отличия Я-13Ф от Я-12 — такие же, как у Я-13. В 1944 году Я-13Ф прошел краткие испытания на полигоне ГБТУ в Кубинке, подтвердившие значительное улучшение тягово-динамических качеств и надежности этой машины в целом, по сравнению с Я-13. Однако в очередной раз стало ясно, что создать легкий быстроходный арттягач с отечественным двигателем для уверенной буксировки прицепов массой до 8 т не удается. Это было возможно только в перегрузку. Из- за малого количества выпускаемых, фактически несерийных двигателей ЗИС-МФ, они, вопреки бытующим представлениям, на ярославские тягачи практически не устанавливались: в 1944 году выпустили три тягача Я-13Ф, в 1945-м—два. К тому же в это время возобновились поставки дизельных агрегатов GMC и одновременно началась подготовка к передаче производства тягачей, в том числе и Я-1ЗФ, на завод № 40. Впоследствии основную массу тягачей с двигателем ЗИС-МФ выпустили именно на этом заводе. Тягачи Я-13 и Я-13Ф, к тому времени,видимо,последние сохранившиеся экземпляры, до 1967 года находились в музее НИИ-21.


М-1ЗА
Иллюстрация к книге — Артиллерийские тягачи Красной Армии. Часть 2 [img_53.jpg]

Колонна артиллерии, движущаяся по ул.Горького на Красную площадь. Москва, 7 ноября 1947 года


Осваивая одновременно с М-12А выпуск тягачей типа Я-13Ф с бензиновым двигателем, завод № 40 в течение 1945 года внес в их конструкцию те же изменения, что и в дизельный М-12А. Отличия заключались в обслуживающих системах двигателя и в трансмиссии. Был установлен сотовый радиатор, подобный СУ-76М. В маслосистему двигателя введен двухсекционный радиатор с параллельным забором масла из магистрали через приоритетный клапан и перекрывной (на зиму) кран. Появилась система вентиляции картера. Благодаря более рациональной регулировке, заложенной в новый карбюратор МКЗ-10МФ, максимальная мощность обкатанного двигателя с полным оборудованием увеличилась до 99 л.с. (без навесного оборудования — до 109 л.с.). Передаточное число ГП осталось прежним — 1,666.

Вход
Поиск по сайту
Ищем:
Календарь