Книга Танки Первой Мировой, страница 40 – Семен Федосеев

Авторы: А Б В Г Д Е Ж З И Й К Л М Н О П Р С Т У Ф Х Ч Ш Ы Э Ю Я
Книги: А Б В Г Д Е Ж З И Й К Л М Н О П Р С Т У Ф Х Ц Ч Ш Щ Ы Э Ю Я
Бесплатная онлайн библиотека LoveRead.in

Онлайн книга «Танки Первой Мировой»

📃 Cтраница 40
Иллюстрация к книге — Танки Первой Мировой [i_085.jpg]

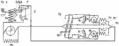
Схема электротрансмиссии танка «Сен-Шамон».

Иллюстрация к книге — Танки Первой Мировой [i_086.jpg]

Установка пушки Mle 1897 в танке «Сен-Шамон».

Иллюстрация к книге — Танки Первой Мировой [i_087.jpg]

Преодоление танком «Сен-Шамон» рва с использованием передних роликов.

Ходовая часть включала на один борт три тележки — передняя несла два, остальные — по три сдвоенных опорных катка. Тележки соединялись с корпусом и друг с другом посредством шарнирных рычагов, рама корпуса опиралась на тележки через вертикальные винтовые цилиндрические пружины. В вилке передней тележки крепилось направляющее колесо с винтовым механизмом регулировки натяжения гусениц. Гусеница состояла из 36 крупных траков. Элементами трака были подушка (башмак) шириной 324 мм и два рельса. Зацепление гусеницы расположенным сзади ведущим колесом производилось за шарнир траков. Длина опорной поверхности гусеницы — 2,65 м. Из-за написания передней части над гусеницами машина часто останавливалась перед невысокими вертикальными препятствиями. Чтобы как-то компенсировать это, впереди и позади гусеничного обвода снизу корпуса установили специальные широкие ролики. Это несколько увеличило ширину перекрываемого рва (скошенная снизу носовая часть корпуса служила при этом передней опорой машины), но никак не помогали в преодолении вертикальных препятствий. На сухом прочном грунте танк переходил рвы шириной до 2,5 м, но на поле боя, особенно на размокшем грунте, редко преодолевал рвы шире 1,8 м. Поворотливость на грунте у «Сен-Шамона» была заметно хуже, чем у «Шнейдера». Перетяжеление носовой части танка приводило к частой деформации передних тележек и спаданию гусениц. В целом можно сказать, что в производство пошел заведомо непригодный танк (это было очевидно даже для начального этапа танкостроения) — увы, в истории танкостроения это был не последний случай.

Упомянутые испытания середины 1916 г. выявили многочисленные изъяны в конструкции «Сен-Шамона». Эта модель сильно уступала тому же «Шнейдеру», также не блиставшему надежностью и проходимостью. Прежде всего танкисты потребовали уширить гусеницы «Сен-Шамона» с 324 сначала до 412, а потом и до 500 мм. Масляный радиатор двигателя оказался слишком хрупким, а ненадежная система смазки приводила к частым поломкам в двигателе или выбросам дыма. Требовалось улучшить изоляцию электрических трансформаторов. Выхлопную трубу провели вдоль крыши в сторону кормы (как на британских тяжелых танках). В октябре 1917 г. уже в ходе выпуска «Сен-Шамон» опять модифицировали с целью повысить защищенность: крыша получила наклон к бортам, чтобы с нее скатывались ручные гранаты, вместо цилиндрических башенок поставили прямоугольные, было также усилено бронирование — 17-мм бронелисты, в отличие от 15-мм, не пробивались бронебойными пулями «SmK». Однако изменения крыши и башенки ухудшили обзор, к тому же пришлось дорабатывать и верхние люки для экипажа.

Первый прототип танка (или его шасси) имел номер 414, а последний «Сен-Шамон» выпущен под номером 813. Серии 400, 500, 600 имели плоскую крышу и овальные башенки (колпаки), с 700-й серии крыша стала наклонной, а башенки — квадратными. В результате многочисленных ремонтов встречались, разумеется, и «смешанные» варианты — квадратные башенки на плоской крыше, машины 700-й серии со специальной артсистемой и т. п.

В апреле 1917 г. началась поставка танков снабжения (Le Char Kesson) — варианта «Сен-Шамон» без вооружения, для подвоза грузов танковым подразделениям и вытаскивания застрявших танков — машина подвоза и тягач в одном лице, французский прототип ремонтно-эвакуационных машин.

«Сен-Шамоны» впервые вышли в бой 5 мая 1917 г. близ мельницы Лаффо — 16 «Сен-Шамонов» в этот день не смогли преодолеть окопы, остановились перед ними и были подбиты вражескими артиллеристами или вышли из строя из-за поломок. Столь же неудачными для «Сен-Шамонов» оказались и другие бои. И только 18 июля 1918 г. под Суассон, когда в бой двинулось 216 «Шнейдеров», 131 «Сен-Шамон» и 220 «Рено», танки «Сен-Шамон» проявили хоть какое-то преимущество перед другими моделями: они оказались более стойкими к ружейно-пулеметному огню и повели за собой пехоту. В последние месяцы войны, впрочем, «Сен-Шамоны» нередко оказывались весьма полезны в качестве самоходных орудий — благодаря длинноствольной 75-мм пушке они удачно боролись с германскими батареями ближнего боя.

Предложения модернизации «боевых» танков «Сен-Шамон» — такие, как установка снизу носовой части дополнительного непривычного гусеничного хода для лучшего преодоления окопов или уменьшение толщины брони для уменьшения веса и увеличения проходимости, — остались нереализованными.

Последняя серийная машина вышла с завода в марте 1918 г. Всего построено 377 танков. Выбывающие из строя танки заменялись легкими «Рено», к перемирию в строю оставалось 72 «Сен-Шамона». Из них 50 переделали в транспортеры. Так закончилась история этих машин.

Тактико-технические характеристики французских средних танков

CA-1 «Шнейдер» «Сен-Шамон»
Боевая масса, т 14,6 22-23
Экипаж, человек 6-7 8-9
Высота, м 2,3 2,36
Длина, м 6,32 7,91 (с пушкой — 8,83)
Ширина, м 2,05 2,67
Клиренс, м 0,4 0,41
Толщина брони, мм:
лоб 11,4 17
борт 11,4 8,5
корма 11,4 8
крыша и днище 5,4 5
Вооружение:
орудие 75-мм пушка 75-мм пушка T.R. или Mle 1897
пулеметы 2×8-мм «Гочкис» Mle 1914 4×8-мм «Гочкис» Mle 1914
Боекомплект:
выстрелов 90 106
патронов 4000 7488
Двигатель:
марка «Шнейдер» «Панар»
тип карбюраторный карбюраторный
число цилиндров 4 4
охлаждение жидкостное жидкостное
мощность, л.с. 55 90
Запас топлива, л 160 250
Трансмиссия механическая электрическая
Коробка передач трехскоростная с реверсом
Механизм поворота дифференциал изменением оборотов ходовых электромоторов
Ходовая часть (на один борт) 7 сдвоенных опорных катков, 5 поддерживающих роликов; ведущее колесо заднего расположения 8 сдвоенных опорных катков, 5 поддерживающих роликов; ведущее колесо заднего расположения
Подвеска блокированная, с винтовыми пружинами блокированная, с винтовыми пружинами
Тип гусеницы металлическая крупнозвенчатая, с открытым шарниром металлическая крупнозвенчатая, с открытым шарниром
Количество траков в цепи 34 36
Тип зацепления зубовое зубовое
Ширина трака, мм 360 324, впоследствии 412 и 500 мм
Максимальная скорость, км/ч 4 8
Средняя скорость, км/ч 2-4 2-3
Запас хода, км 80 60
Удельное давление, кг/см² 0,72 0,79 (при ширине трака 500 мм)
Преодолеваемый подъем, град. 30-35 32
Ширина преодолеваемого рва, м 1,7–1,8 1,8–2,4
Высота стенки, м 0,3–0,4 0,3–0,4
Глубина брода, м 0,8 0,8
Толщина сваливаемого дерева, м 0,4 0,4

Французские средние танки оказались не слишком удачными. Упругая подвеска, конечно, была их преимуществом, но свесы корпуса впереди и сзади гусениц сильно снижали их проходимость, особенно это касалось «Сен-Шамонов» — они не преодолевали даже незначительные вертикальные преграды. Танк «Шнейдер» был достаточно тесен, в том числе для артиллериста и пулеметчиков. В «Сен-Шамоне» артиллеристы сидели несколько более просторно в своей рубке. И все же эти танки сыграли в 1917–1918 гг. немалую роль. «Шнейдеры» побывали в боях 473 раза, «Сен-Шамоны» — 375.

Вход
Поиск по сайту
Ищем:
Календарь