Онлайн книга «He 177 Greif. Летающая крепость люфтваффе»
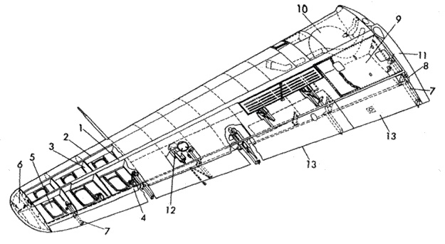
![]() Конструкция фюзеляжа Не 177A-1. В 1944 году на Восточном фронте появился бомбардировочный полк, оснащенный машинами Не 177. Это был Kampfgeschwader 1 «Hindenburg». Полк дислоцировался на территории Восточной Пруссии. Закончив подготовку, в мае 1944 года на аэродромы Провеен и Зераппен в районе Кенигсберга прибыла I./KG 1. К концу месяца обучение завершили и две другие группы полка. Полком командовал подполковник Карл фон Ризен. Первые боевые вылеты полк совершил в начале июня. Немцы действовали с больших высот, поэтому почти не несли потерь от советских истребителей. Полк бомбил Псков, Смоленск, Невель и другие города. 16 июня 1944 года 87 самолетов провели налет на Великие Луки. Бомбометание с большой высоты было хоть и безопасным, но совершенно бесполезным занятием. После того, как советские войска начали наступление в Белоруссии, бомбардировщики из KG 1 часто были единственным фактором, способным сдержать продвижение советских танковых колонн. ![]() Самолеты Не 177А-5 из KG 100 на аэродроме Мюнхен-Рим, весна 1944 года. Хорошо виден камуфляж ночных бомбардировщиков. ![]() Шпангоут № 44. ![]() Остекление кабины Не 177A-1. 1. Боковые окна. 2. Открываемое окно. 3. Лобовые стекла. ![]() Хвостовая часть фюзеляжа Не 177А-3. ![]() Фюзеляж Не 177А-3. 1. Передняя часть фюзеляжа. 2. Места членов экипажа. 3. Бомбоотсеки. 4. Хвостовая часть фюзеляжа. 5. Хвосто — вая огневая точка. 6. Кресло пилота. 7. Система аварийного слива топлива. ![]() Главный лонжерон крыла Не 177A-1. ![]() Расположение нервюр. Конструкция крыла Не 177А-1/А-5. ![]() Расположение мест членов экипажа. ![]() Конструкция крыла Не 177A-1. 1. Главный лонжерон. 2. Вспомогательный лонжерон. 3. Нервюра. 4. Элерон. 5. Вспомогательные поперечные конструкции крыла. 6. Законцовка крыла. 7. Привод элерона и закрылка. 8. Узел крепления консоли к центроплану. 9. Топливный бак. 10. Колесная ниша. 11. Пластина, закрывающая стык консоли и центроплана. 12. Привод элеронов. 13. Закрылки Фаулера. Полк действовал до 28 июля 1944 года. Затем Красная Армия подошла к границе Восточной Пруссии, и налеты пришлось прекратить. Полк отвели в Рейх и сконцентрировали на аэродромах на юге Германии. Во второй половине 1944 года бомбардировочные части, оснащенные Не 177, практически не проявляли активности. KG 1 находилась на юге Германии, некоторые самолеты из KG 40 передали в учебный центр Flugzeugefuehrerschule (В) 16 в Бурге, в районе Магдебурга. Над Северным Морем продолжали действовать только 4. и 5./KG 100, базировавшиеся на голландских аэродромах. Самолеты Не 177 использовались в составе частей метеорологической разведки (Wekusta), в том числе в Wekusta OKL 2. До конца войны лишь отдельные самолеты продолжали летать. Причиной того был острый дефицит бензина, которого не хватало даже для истребителей, тем более для четырехмоторных колоссов. На земле стояли даже новые машины, которые, бывало, так ни разу и не поднимались в воздух. В последние дни войны, стоящие на земле машины стали жертвой авиации союзников. Любопытный эпизод в истории Не 177 связан с захватом французскими «маки» одного Не 177А-5 из KG 40. Англичане давно хотели заполучить хотя бы один целый Не 177, но возможности такой не появлялось. Первую информацию о Не 177 англичане получили 13 июня 1940 года от попавшего в плен пилота из KG 55, который наблюдал в Рехлине облет прототипов. Дальнейшая информация, получаемая от пленных, не позволяла создать цельной картины, а часто была противоречива или явно преувеличена. Так, один из пленных утверждал, что Не 177 маневреннее, чем даже истребительные модификации Ju 88. Другой пленный утверждал, что Не 177 может действовать с коротких полевых аэродромов, и что длина разбега и пробега у него даже меньше, чем у двухмоторного Do 217. Высадившись во Франции, англичане обратили внимание на аэродром Бланьяк в районе Тулузы, где ремонтировались самолеты Не 177. Было решено захватить один экземпляр бомбардировщика. План захвата разработал командующий французским сопротивлением в районе Жер Ж.М. Старр (полковник Илер). Операцию должен был провести смешанный англо-американский отряд, сброшенный на парашютах 17 августа 1944 года. 2 сентября 1944 года поступил сигнал, что удалось захватить один исправный Не 177. Тогда транспортный самолет «Hudson» в сопровождении пары истребителей «Beaufighter» доставил в район Тулузы технический отряд из центра в Фарнборо. Командовал группой А.Ф. Хардз, начальниц центра RAE, который должен был вернуться в Англию на том же самолете, и Роланд Дж. Фолк, который должен был поднять в воздух трофейную машину. Английский самолет благополучно прибыл в Бланьяк, а спустя несколько дней Фолк перелетел на Не 177A-5/R6 Werk Nummer 550219 в Англию. Машина прежде принадлежала II./ KG 40. В Англии самолету присвоили номер TS 439. Потом самолет подвергся всесторонним испытаниям. В полетах на нем участвовал в числе других капитан FAA Эрик Браун. Французам удалось захватить самолет Не 177А-0 Werk Nummer 32013, DR+IU. Это была учебная машина из состава IV./KG 40. Два исправных Не 177 на территории Чехословакии обнаружили советские войска. |
![Иллюстрация к книге — He 177 Greif. Летающая крепость люфтваффе [pic_61.jpg] Иллюстрация к книге — He 177 Greif. Летающая крепость люфтваффе [pic_61.jpg]](img/book_covers/073/73616/pic_61.jpg)
![Иллюстрация к книге — He 177 Greif. Летающая крепость люфтваффе [pic_62.jpg] Иллюстрация к книге — He 177 Greif. Летающая крепость люфтваффе [pic_62.jpg]](img/book_covers/073/73616/pic_62.jpg)
![Иллюстрация к книге — He 177 Greif. Летающая крепость люфтваффе [pic_63.jpg] Иллюстрация к книге — He 177 Greif. Летающая крепость люфтваффе [pic_63.jpg]](img/book_covers/073/73616/pic_63.jpg)
![Иллюстрация к книге — He 177 Greif. Летающая крепость люфтваффе [pic_64.jpg] Иллюстрация к книге — He 177 Greif. Летающая крепость люфтваффе [pic_64.jpg]](img/book_covers/073/73616/pic_64.jpg)
![Иллюстрация к книге — He 177 Greif. Летающая крепость люфтваффе [pic_65.jpg] Иллюстрация к книге — He 177 Greif. Летающая крепость люфтваффе [pic_65.jpg]](img/book_covers/073/73616/pic_65.jpg)
![Иллюстрация к книге — He 177 Greif. Летающая крепость люфтваффе [pic_66.jpg] Иллюстрация к книге — He 177 Greif. Летающая крепость люфтваффе [pic_66.jpg]](img/book_covers/073/73616/pic_66.jpg)
![Иллюстрация к книге — He 177 Greif. Летающая крепость люфтваффе [pic_67.jpg] Иллюстрация к книге — He 177 Greif. Летающая крепость люфтваффе [pic_67.jpg]](img/book_covers/073/73616/pic_67.jpg)
![Иллюстрация к книге — He 177 Greif. Летающая крепость люфтваффе [pic_68.jpg] Иллюстрация к книге — He 177 Greif. Летающая крепость люфтваффе [pic_68.jpg]](img/book_covers/073/73616/pic_68.jpg)
![Иллюстрация к книге — He 177 Greif. Летающая крепость люфтваффе [pic_69.jpg] Иллюстрация к книге — He 177 Greif. Летающая крепость люфтваффе [pic_69.jpg]](img/book_covers/073/73616/pic_69.jpg)
![Иллюстрация к книге — He 177 Greif. Летающая крепость люфтваффе [pic_70.jpg] Иллюстрация к книге — He 177 Greif. Летающая крепость люфтваффе [pic_70.jpg]](img/book_covers/073/73616/pic_70.jpg)