Книга Зодчий из преисподней, страница 29 – Наталья Лапина, Светлана Горбань

Авторы: А Б В Г Д Е Ж З И Й К Л М Н О П Р С Т У Ф Х Ч Ш Ы Э Ю Я
Книги: А Б В Г Д Е Ж З И Й К Л М Н О П Р С Т У Ф Х Ц Ч Ш Щ Ы Э Ю Я
Бесплатная онлайн библиотека LoveRead.in

Онлайн книга «Зодчий из преисподней»

📃 Cтраница 29

— А ты?

— Себе я сейчас раскладушку принесу. Посижу еще на кухне, покурю. Надо бы мозгами пораскинуть.

Боря почувствовал, что надо, обязательно надо рассказать, как именно он с Ольгой Ярыжской до Барвинковцев ехал, но… Вместо этого он сказал:

— Ты бы поменьше курил-то. С пятого класса дымишь. Пожелтел весь.

— Слушаюсь, товарищ командир! Вот раскручу это дело — и брошу. Ей-богу! Честное пионерское!

— Да и спортом пора в конце концов заняться…

— Не мешай думать, Барсук! Не нравится мне их охранник Гапченко… Крутит, нервничает, боится… Очень боится…

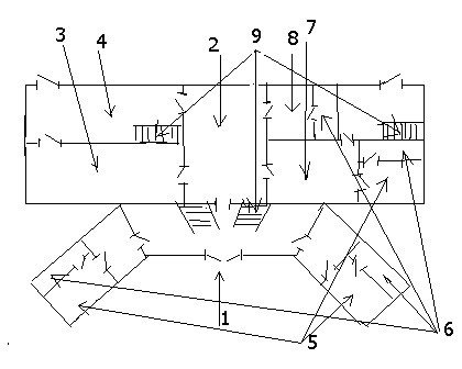
Витя сел за кухонный стол и начал на не очень чистом примятом листке ватмана чертить план дома Ярыжских. Бывшего дома господ Барвиненко, бывшей агрошколы, бывшего музея… Творение славного архитектора, теперь итальянские баронессы едут на него посмотреть. И подивиться. И в самом деле — есть на что.

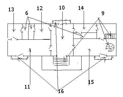
План дома в Барвинковцах, где происходят главные события

План первого этажа

Иллюстрация к книге — Зодчий из преисподней [i_001.jpg]

1 — главный вход

2 — Зеркальный зал

3 — столовая

4 — кухня

5 — спальни для гостей

6 — туалеты

7 — кинозал

8 — комната для прислуги

9 — лестницы

10 — Большой зал

11- маленький зал

12 — спальня хозяев

13 — спальня для VIP-персон

14 — кабинет

15 — библиотека

16 — балконы

План второго этажа

Иллюстрация к книге — Зодчий из преисподней [i_002.jpg]

Он сначала чертил по линейке, дорисовывал от руки, подписывал. Долго пыхтел сигареткой у распахнутой форточки. Потом рассматривал творение своих рук и ерошил негустые короткие волосы. План, конечно, вышел непрофессиональным, архитекторы так не чертят, но для его нужд вполне сгодится. Даже очень.

Спиритический сеанс

Скользило по темно-ореховой полировке стола злополучное блюдечко. Чуть слышно, неприятно поскрипывало. Дрожало, направляемое со всех сторон беззащитными пальцами. Сильнее всех вздрагивали самые длинные и тонкие — с некрасивыми бугорками суставов.

Похожая на стареющую худую грузинку Магнолия Федоровна, медиум этого сеанса, низким загробным голосом провозгласила:

— А теперь скажи нам, кто ты, о дитя тьмы.

Все напряглись и задышали глубже.

Вера некстати вспомнила, как смеялся над ее увлечением старший брат, Иван. Он весело сердился, ходил по комнате, размахивал руками, а она с дивана следила за ним глазами.

— И кто вас только не разубеждал! Ты бы, Верушка, хоть журналы почитала…

— Я читала…начала было она, но Иван не дал договорить:

— Что читала? «Спиритический журнал»? Или газету «Вестник медиумов»?

— Зря ты так…

— Да еще тридцать лет назад при Петербургском университете целая комиссия работала. Во главе — сам Менделеев! Они полностью доказали, что это вы сами двигаете вашу тарелочку.

— Сами?! Ну, во-первых, не тарелочку, а блюдце, а во-вторых, ты хоть раз пробовал?

— И не стану. Есть вполне удовлетворительное научное объяснение. И четкий вывод: спиритизм есть суеверие. Су-е-ве-ри-е.

Вера легким движением сбросила домашние туфельки. Забралась на диван с ногами. Слабо возразила:

— Но оно двигается само. Понимаешь — само.

— Глупости! Это бессознательные движения. Ваши же.

— У всех? У всех участников сеанса?

Он фыркнул:

— Суммируется дрожание пальцев. Или это просто групповой гипноз. Медиумом может быть не всякий, правда? Возможно, человек, обладающий гипнозом. А вы и рады: духи! С того света! Разговаривают с нами!

Ах, как Ваня ошибался. Сейчас она явственно ощущала присутствие… Присутствие зла. Батюшка говорил: бесы. Очень может быть.

Женщина-медиум еще раз пророкотала замогильным голосом:

— Кто ты, пришедший с того света? Назови свое имя!

Она была очень бледной. С темными полукругами под глазами. Немолодая и некрасивая.

Блюдце подпрыгнуло. Замерло.

— Д! — дружно выдохнули сразу три голоса.

Вера почти физически ощущала холодные прикосновения мрака. Спиной, шеей, затылком.

Тьма поработила ее и теперь ни за что не отпустит.

Пальцы дрожали, блюдце шевелилось, как живое, двигалось…

— Е!

И Григорий тоже шутил: «Спиритизм сейчас в моде. Еще бы! Безо всякого телефона, без проводов можно с Наполеоном пообщаться! Живой он на вас и внимания не обратил бы. А тут обязан отвечать на самые глупые вопросы». И он тоже ошибался. Ах, как ошибался!

Склонились в полутьме головы, нависло надо всеми то самое, страшное, неотвратимое.

— М!

Зачем? Зачем нам знать его имя? Кто он? Пришелец из неведомого мрака, из мглы преисподней? Он не скажет правды, он обязательно обманет. И потащит за собою.

Блюдце остановилось. Стрелка указала на черный кружочек с белой дырочкой посредине. Это глаз нечистого или окно в самый ад?

— О! — радостно прошептали все, кроме нее.

Нет, нет, только не это!

Она хотела убрать пальцы, но они словно приклеились к страшному блюдцу и отрывались от него лишь на миллиметрик.

Нет. Они не выпустят. Никогда. Уж если ты попал в когти темных сил…

Блюдце снова замерло.

Вера дико закричала и упала навзничь вместе со стулом еще до того, как медиум и спириты успели произнести «Н».

Вдохновенный чудо-сантехник

В некоторых (очень и очень узких) кругах сантехника Семеныча знали как поэта Эдуарда Путяева, скрывавшегося под давно раскрытым псевдонимом Эдик Семенов. По паспорту он и был Эдуард Семенович Путяев.

Вход
Поиск по сайту
Ищем:
Календарь