Книга Сантехнические работы своими руками. Уроки домашнего мастера, страница 17 – Евгений Симонов

Авторы: А Б В Г Д Е Ж З И Й К Л М Н О П Р С Т У Ф Х Ч Ш Ы Э Ю Я
Книги: А Б В Г Д Е Ж З И Й К Л М Н О П Р С Т У Ф Х Ц Ч Ш Щ Ы Э Ю Я
Бесплатная онлайн библиотека LoveRead.in

Онлайн книга «Сантехнические работы своими руками. Уроки домашнего мастера»

📃 Cтраница 17

Размещение сантехнических устройств по отношению к стояку не уточнено в СНиПах, но тем не менее унитаз предпочтительно расположить на расстоянии не более 1 м от стояка, а другие сантехнические приборы — на расстоянии не более 3 м. В ином случае вода из сифонов засасывается и придется монтировать воздуховод.

Какие же размеры санузлов наиболее приемлемы? Есть ли какие-нибудь нормативы?

Есть, но только для уборной. Ее минимальный размер должен составлять 1,2 м в глубину и 0.8 м в ширину. Для ванных комнат и совмещенных санузлов таких нормативов не предусмотрено. Но нужно учесть, что, по действующим в России правилам, если в вашем доме проживают семьи с инвалидами, то туалет с умывальником должен иметь размеры не меньше чем 1,6 х 2,2 м. а ванная или совмещенный санузел — 2,2 х 2,2 м.

В санузле высоту потолка российские СНиПы регламентируют не менее 2,5 м. а на подходе к санузлу — не менее 2,1 м.

В случае если санузел расположен в мансарде, то расстояние от унитаза до наклонной плоскости мансарды не должно быть менее 105–110 см, чтобы не стучаться головой в потолок, вставая с унитаза.

Строительные нормы запрещают размещение выходов из санузла в комнатах или на кухне. Это значит, что двери санузлов должны открываться строго наружу и вести в прихожую.

Для нормального использования сантехнических устройств нужно оставлять перед приборами и по бокам от них свободное пространство:

• перед ванной или душевой кабиной свободное пространство должно составлять не менее 70 см. а лучше — 105–110;

• перед унитазом или биде стоит оставить не менее 60 см свободного пространства, а по бокам — по 25 см с каждой стороны;

• свободное пространство перед умывальником должно быть не менее 70 см. а если он устроен в нише, то 90 см.


Какой санузел лучше — совместный или раздельный?
Иллюстрация к книге — Сантехнические работы своими руками. Уроки домашнего мастера [i_059.jpg]

Совместный санузел


Стоит ли внимать совету тех дизайнеров, которые рекомендуют объединять раздельные маленькие санузлы? Давайте поговорим о плюсах и минусах совмещенного санузла.

Плюсы от совмещения санузлов очевидны.

Во-первых, становится больше полезной площади, что решает вопрос размещения большего количества санитарно-технических устройств, чем позволял раздельный санузел. В результате мы сможем даже в самые маленькие санузлы дополнительно установить, скажем, стиральную машину.

Во-вторых, повышается гигиеничность: в стандартные туалеты чаще всего не входит даже раковина, и чтобы помыть руки после посещения туалета, нужно выйти из уборной, зайти в ванную, хватаясь при этом за дверные ручки грязными руками, а иногда и слоняться под дверью в ожидании, пока ванная освободится. А совмещенный санузел даст возможность сразу помыть все. что вам нужно, без чего иногда бывает просто невозможно обойтись.

Однако минусы такого слияния тоже достаточно серьезны.

Если вы живете один. то. конечно, совмещенный санузел лучше, ведь основной его недостаток — это невозможность одновременного использования ванной и туалета разными членами семьи.

Решая вопрос, объединять санузел или нет. нужно учитывать:

• сколько человек в семье, какого они пола и возраста.

• родственные отношения между членами семьи.

В расчет придется брать и долговременную перспективу. Если, например, вы сейчас можете принимать ванну, пока ваша трехлетняя дочь посещает уборную, то лет через десять и вам. и дочери это будет проблематично.

Глава 6
Демонтаж и установка сантехники
Демонтаж и установка мойки, раковины, «мойдодыра»

Как демонтировать старую раковину

Первым делом перекрываем вентили горячей и холодной воды. Включаем смеситель, сливаем остатки воды. Убедитесь, что воды не осталось. Берем ведро, чтобы не устраивать лужи, залазим под раковину, ставим его под сифон. Открутив стакан сифона, сливаем воду в ведро и снова прикручиваем стакан, заткнув его тряпкой.

Теперь нужно отсоединить раковину от канализации. Откручиваем гайку, расположенную под дном раковины, против часовой стрелки, придерживая при этом стакан сифона.

Далее отсоединяем сливную трубу от сифона путем раскручивания гайки вверху сифона. Затем снимаем клиновидную шайбу, гайки с обеих сторон сливной трубы и извлекаем саму трубу.

Следующий шаг — извлечение сифона из раструба канализации. Соединение может быть зацементировано, как в случае с унитазом. Поэтому нам нужно аккуратно удалить этот цемент. Взяли зубило, молоток и осторожно по кругу его удаляем. Затем осторожно извлекаем сифон из отверстия канализации, а само отверстие затыкаем тряпкой, дабы ничего к нам из этой канализации не вылилось.

Все сложности позади. Теперь откручиваем гайку под смесителем, отсоединяем его от горячей и холодной воды, снимаем с раковины.

И вот можно снять раковину. Для этого нужно открутить крепление, придерживая раковину, чтобы она не упала, или же просто снять ее с подставки, если таковая имеется.

Для последующей установки нужно подготовить раструб канализации следующим образом: до конца счистить цемент молотком и зубилом, ошкурить поверхность, протереть тряпкой. Вот теперь готово.

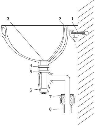
Иллюстрация к книге — Сантехнические работы своими руками. Уроки домашнего мастера [i_060.jpg]

Устройство раковины: 1 — настенное крепление; 2 — кронштейн; 3 — слив; 4 — широкая гайка; 5 — запорная гайка; 6 — стакан; 7 — цемент; 8 — канализация


Как демонтировать старую кухонную мойку

Процедура такая же, как в случае с раковиной. Перекрываем вентили горячей и холодной воды. Включаем смеситель, сливаем остатки воды. Берем ведро, как и раньше, ставим под сифон. Откручиваем стакан, сливаем воду в ведро. Открутим верхнюю гайку с сифона и уберем его в сторону. Вынимаем сливную трубу, для этого снимаем клиновидную шайбу, две гайки. Далее откручиваем гайки, соединяющие смеситель со шлангами горячей и холодной воды. Если у вас вода течет по металлическим трубам, то сворачиваем муфты со сгонов. Для этого сначала открутим контргайки ключом на 29.

Потом откручиваем муфты и отсоединяем трубы.

Теперь снимаем мойку. Старые мойки частенько крепятся к стене кронштейнами. Берем отвертку и ключ на 10. Придерживая отверткой болты, откручиваем ключом гайки. Зачастую болты и гайки бывают покрыты ржавчиной. Так вот. с помощью 8 %-ного раствора уксуса с алюминиевыми квасцами эту ржавчину можно снять. Или же можно использовать винно-каменную кислоту в пропорции 11:1.

Вход
Поиск по сайту
Ищем:
Календарь