Книга Пчеловодство. Первые шаги к прибыльному хозяйству, страница 172 – Василий Королев

Авторы: А Б В Г Д Е Ж З И Й К Л М Н О П Р С Т У Ф Х Ч Ш Ы Э Ю Я
Книги: А Б В Г Д Е Ж З И Й К Л М Н О П Р С Т У Ф Х Ц Ч Ш Щ Ы Э Ю Я
Бесплатная онлайн библиотека LoveRead.in

Онлайн книга «Пчеловодство. Первые шаги к прибыльному хозяйству»

📃 Cтраница 172
Иллюстрация к книге — Пчеловодство. Первые шаги к прибыльному хозяйству [i_060.jpg]

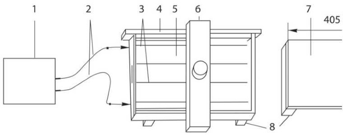
Рис 40. Простой термостат с подогревом (в центре – лампочка на 60–75 Вт) (к стр. 226)

Иллюстрация к книге — Пчеловодство. Первые шаги к прибыльному хозяйству [i_061.jpg]

Рис 41. Изолятор маточный

(к стр. 227)

Иллюстрация к книге — Пчеловодство. Первые шаги к прибыльному хозяйству [i_062.jpg]
Иллюстрация к книге — Пчеловодство. Первые шаги к прибыльному хозяйству [i_063.jpg]

Рис 42. Шпатели для переноса личинок

(к стр. 228)

Иллюстрация к книге — Пчеловодство. Первые шаги к прибыльному хозяйству [i_064.jpg]

Рис 43. Прививочная рамка

(к стр. 234)

Иллюстрация к книге — Пчеловодство. Первые шаги к прибыльному хозяйству [i_065.jpg]

Рис 44. Шаблон для изготовления маточных мисочек (к стр. 228)

Иллюстрация к книге — Пчеловодство. Первые шаги к прибыльному хозяйству [i_066.jpg]

Рис 45. Маточный колпачок

(к стр. 228)

Иллюстрация к книге — Пчеловодство. Первые шаги к прибыльному хозяйству [i_067.jpg]

Рис 46. Маточная клеточка (клеточка Титова) (к стр. 228)

Иллюстрация к книге — Пчеловодство. Первые шаги к прибыльному хозяйству [i_068.jpg]

Рис 47. Приспособления для мечения маток: а – булавка, б – колпачки, в – клеточка (к стр. 220)

Иллюстрация к книге — Пчеловодство. Первые шаги к прибыльному хозяйству [i_069.jpg]

Рис 48. Поилки общие (к стр. 230)

Иллюстрация к книге — Пчеловодство. Первые шаги к прибыльному хозяйству [i_070.jpg]

Рис 49. Пыльцеуловитель:

а, б, в – возможная форма отверстий пыльцеотбирающей решетки (к стр. 231)

Иллюстрация к книге — Пчеловодство. Первые шаги к прибыльному хозяйству [i_071.jpg]

Рис 50. Электронаващиватель:

1 – трансформатор, 2 – провода с наконечниками, 3 – проволока, 4 – рамка, 5 – вощина, 6 – планка с грузом, 7 – лекало, 8 – бруски (рейки)

(к стр. 233)

Иллюстрация к книге — Пчеловодство. Первые шаги к прибыльному хозяйству [i_072.jpg]

Рис 51. Солнечные воскотопки: а – металлическая, б – деревянная (к стр. 235)

Иллюстрация к книге — Пчеловодство. Первые шаги к прибыльному хозяйству [i_073.jpg]

Рис 52. Устройства для получения пчелиного яда:

а – комплект приборов для получения яда, б – детали ядоприемной рамки, с – бокс для счистки яда со стекол (к стр. 237, 238)

Иллюстрация к книге — Пчеловодство. Первые шаги к прибыльному хозяйству [i_074.jpg]

Рис 53. Пчеловодный фонендоскоп (к стр. 240)

Иллюстрация к книге — Пчеловодство. Первые шаги к прибыльному хозяйству [i_075.jpg]

Рис 54. Схема расширения гнезда по Лысову:

1 – подъемный винт, 2 – стойка, 3 – поднятый корпус с пчелами,

4 – подставляемый корпус, 5 – дно улья, 6 – ручки корпуса (для захвата подъемником), 7 – опора подъемника (к стр. 243–248)

Иллюстрация к книге — Пчеловодство. Первые шаги к прибыльному хозяйству [i_076.jpg]

Рис 55. Полурамки скреплены с помощью скобочек:

А – полурамка в исходном положении, нижняя полурамка имеет гвоздики (1) вместо плечиков, Б – полурамки в собранном положении, гвоздики удалены, скобочки (2) скрепляют полурамки

Иллюстрация к книге — Пчеловодство. Первые шаги к прибыльному хозяйству [i_077.jpg]

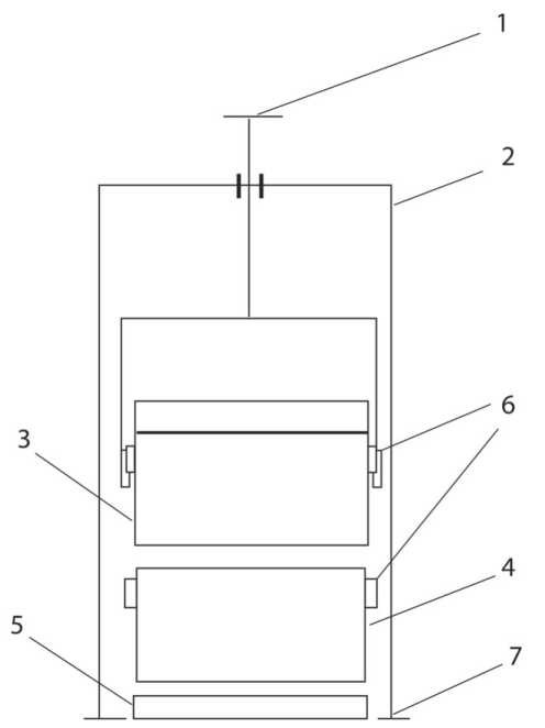
Рис 56. Двухматочный улей Полякова, схема:

1– бруски, 2 – дно, 3 – леток и прилетные доски, 4 – 1-й корпус, 5 – 2-й корпус, 6 – 3-й корпус, 7 – подкрышник, 8 – крыша, 9 – рамки (к стр. 257)

Иллюстрация к книге — Пчеловодство. Первые шаги к прибыльному хозяйству [i_078.jpg]

Рис 57. Примерно так пчелы должны покрывать рамки при сборке зимнего гнезда (к стр. 269)

Иллюстрация к книге — Пчеловодство. Первые шаги к прибыльному хозяйству [i_079.jpg]

Рис 58. Маткоуловитель с верандочкой:

1 – верандочка, 2 – уголок, 3 – усеченная пирамида, 4 – отверстие, 5 – маткоуловитель, 6 – прозрачные окна, 7 – съемные решетки (к стр. 258)


Лучшие медоносные растения средней полосы России (к стр. 110, 395)
Иллюстрация к книге — Пчеловодство. Первые шаги к прибыльному хозяйству [i_080.jpg]

Рис 59. Акация белая

Иллюстрация к книге — Пчеловодство. Первые шаги к прибыльному хозяйству [i_081.jpg]

Рис 60. Акация желтая

Вход
Поиск по сайту
Ищем:
Календарь