Книга Строительство дома быстро и дешево, страница 48 – Евгений Симонов

Авторы: А Б В Г Д Е Ж З И Й К Л М Н О П Р С Т У Ф Х Ч Ш Ы Э Ю Я
Книги: А Б В Г Д Е Ж З И Й К Л М Н О П Р С Т У Ф Х Ц Ч Ш Щ Ы Э Ю Я
Бесплатная онлайн библиотека LoveRead.in

Онлайн книга «Строительство дома быстро и дешево»

📃 Cтраница 48
Иллюстрация к книге — Строительство дома быстро и дешево [_184.jpg]

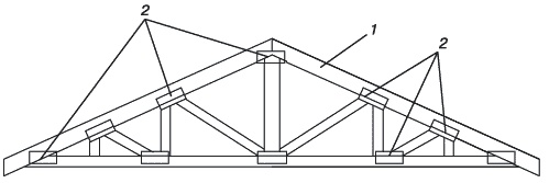
Рис. 7.4. Треугольная ферма с соединениями на металлических зубчатых (просечных) пластинах: 1 — стропила; 2 — пластина


Для сопряжения деталей ферм обычно используют металлические накладки с отверстиями, через которые вворачивают шурупы или забивают гвозди. При этом в каждую деталь необходимо вворачивать как минимум два шурупа или забивать два гвоздя на глубину не менее 2/3 толщины деревянного бруска.

Гвоздевое соединение самое слабое, так как теряет прочность и надежность по мере высыхания древесины. Более надежны соединения с помощью болтов, но просверленные для них отверстия ослабляют стропила. Поэтому строители предпочитают скобы и хомуты, которые соединяют детали ферм прочно, надежно и надолго, при этом не оказывая отрицательного воздействия на стропила.

Однако самые надежные соединения получаются, если воспользоваться услугами промышленного производства — разместить заказ на изготовление стропильной системы достаточно просто. В заводских условиях стропила соединяются в фермы при помощи стыковых планок, которые не только обеспечивают прочность соединения, но и препятствуют смещению деревянных элементов в процессе естественной усушки. Кроме того, деревянные детали обрабатываются биозащитными составами и антипиренами, причем пропитки глубоко проникают в древесину, тем самым удлиняя срок службы всей конструкции. И наконец, гарантируется точность соблюдения расчетных размеров. На стройплощадку доставляются уже готовые фермы, которые сразу собираются в стропильную систему, благодаря чему сроки монтажных работ существенно снижаются.

Стропильная система для дома с мансардой. В наше время дома с мансардой стали практически нормой. Это неудивительно: мансарда позволяет увеличить жилую площадь здания и уменьшить его теплопотери, хотя ее возведение обходится дороже, чем сооружение простого холодного чердака. Однако надо помнить, что в доме с мансардой увеличивается и нагрузка на несущие деревянные конструкции крыши. Для компенсации такого увеличения нагрузки применяют балки большего сечения, а шаг стропил уменьшают.

Чтобы жилой объем мансарды не уменьшился, в стропильных фермах обходятся без нижнего пояса, а нижние концы стропил упирают в мауэрлат. Вертикальные стойки укрепляют подкосами, которые зарезают в стойки. Места соединений укрепляют болтами и скобами.

Вверху стропильные ноги соединяют вполдерева на болтах. Поскольку отсутствует затяжка (нижний опорный брус для стропил), возрастает значение ригеля. Его делают более прочным, большего сечения, крепят на болтах и чаще всего даже не зарезают, чтобы не снижать прочность несущей системы. Центр ригеля подтягивают к верхнему соединению стропил стойкой, которая также крепится на болтах. Соединение укрепляют стальными пластинами на саморезах или болтах.

Чтобы воспрепятствовать сдвигу брусьев, их концы (при вязке стропильных ног, углов срубов, углов оконных и дверных коробок) соединяют способом, который называется вязкой вполдерева (рис. 7.5).

Иллюстрация к книге — Строительство дома быстро и дешево [_185.jpg]

Рис. 7.5. Вязка вполдерева


Готовые стропильные фермы получаются жесткими, прочными и достаточно легкими, так что их можно без особого труда поднять к месту установки несущей конструкции.

И обычные стропильные фермы, и облегченные монтируют по одной схеме. Нижние концы стропильных ног устанавливают на мауэрлаты. Затем, привязав веревку к месту верхнего соединения стропил, ферму поднимают и устанавливают в вертикальное положение. Правильность установки проверяют по уровню. В этом положении закрепляют стропила с помощью бруска, прибитого к верхней части соседней фермы. Это временное крепление впоследствии необходимо убрать, когда будет набиваться обрешетка.

Обычно такие ответственные соединения, как места установки стропил на стены, «врубают», то есть на концах стропильных ног делают «зуб» или «двойной зуб» (рис. 7.6), а в опоре выдалбливают гнездо, чтобы части плотно соединялись между собой. Соединения дополнительно скрепляют металлическими скобами.

Иллюстрация к книге — Строительство дома быстро и дешево [_186.jpg]

Рис. 7.6. Врубка с «двойным зубом»


Для облегченных конструкций используются пиломатериалы минимального профиля, и, чтобы они не смещались друг относительно друга, их фиксируют длинными гвоздями.

Порядок установки стропильных ферм следующий: сначала устанавливают крайние фермы, затем все промежуточные. Верхний край установленных стропил должен лежать в одной плоскости по обоим скатам.

Обрешетка

Обрешетка — это брусья, лежащие на стропильных ногах и расположенные по отношению к ним перпендикулярно. Сплошной настил под кровлю также во многих случаях называют обрешеткой, только «сплошной», в отличие от обычной «разреженной» обрешетки. Для изготовления сплошного настила используются не только деревянные бруски, но и доски (тес). Назначение обрешетки — поддержка кровельного покрытия и равномерное распределение его веса и прочих нагрузок, в частности ветровой или снеговой.

Сплошная обрешетка применяется при таких кровельных покрытиях, как асбестоцементная плитка, бесасбестовый шифер (еврошифер) или рулонные материалы (рис. 7.7). Разреженная обрешетка используется для кровельных покрытий из черепицы, дерева и шифера. Для металлочерепицы подойдет как сплошная, так и разреженная обрешетка, но первая все же предпочтительнее. Кроме того, сплошная обрешетка используется на пересечениях скатов (ендовы, ребра, конек) и на свесах карнизов.

Иллюстрация к книге — Строительство дома быстро и дешево [_187.jpg]

Рис. 7.7. Устройство стропильной системы со сплошной обрешеткой, гидро- и пароизоляцией


Доски и бруски для обрешетки должны быть не ниже второго сорта, обрезные, без сучков и не шире 140 мм. Более широкие доски подвержены короблению, а это, в свою очередь, приводит к повреждению кровли и дорогостоящему ремонту. Дерево должно быть выдержанным и хорошо высушенным, в противном случае обрешетка покоробится, а рулонная или стальная кровля придет в негодность. Кроме того, при высыхании досок гвоздевые соединения ослабляются и становятся ненадежными. Как уже неоднократно говорилось, любые детали из дерева, используемые при строительстве, в том числе доски и бруски для обрешетки, должны быть обработаны биозащитными и антипиренными составами.

Обрешетку под рулонные материалы выполняют сплошной или двойной.

При монтаже сплошной обрешетки доски укладывают на стропила горизонтально, параллельно коньку, либо сначала на стропила параллельно коньку кладут бруски или доски с шагом 0,5–1 м, а уже на них настилают доски вдоль спуска, от конька к свесу.

Вход
Поиск по сайту
Ищем:
Календарь