Книга Современный экономичный ремонт, страница 22 – Максим Жмакин

Авторы: А Б В Г Д Е Ж З И Й К Л М Н О П Р С Т У Ф Х Ч Ш Ы Э Ю Я
Книги: А Б В Г Д Е Ж З И Й К Л М Н О П Р С Т У Ф Х Ц Ч Ш Щ Ы Э Ю Я
Бесплатная онлайн библиотека LoveRead.in

Онлайн книга «Современный экономичный ремонт»

📃 Cтраница 22
Иллюстрация к книге — Современный экономичный ремонт [_150.jpg]

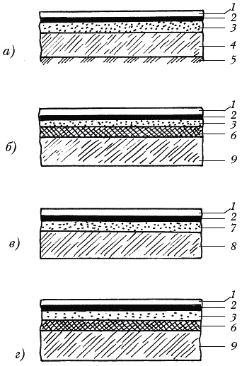
Рис. 24. Варианты конструкции полов из линолеума: 1 – покрытие; 2 – мастика; 3 – стяжка из легкого бетона или древесно-волокнистых плит; 4 – бетонный подстилающий слой; 5 – грунт основания; 6 – тепло– и звукоизолирующий слой; 7 – цементно-песчаная стяжка; 8 – плита перекрытия с неровной поверхностью; 9 – плита перекрытия


Прежде чем приступить непосредственно к работе, основание под цементно-песчаную стяжку необходимо тщательно очистить от мусора, затем смочить водой. При начале работ важно правильно измерить геометрическую форму поверхности, т. е. установить, насколько ровны углы и стены. Дело в том, что даже профессионалы не всегда могут на глазок точно уложить и выровнять раствор; желательно использовать вспомогательные приспособления и оборудование.

Одним из наиболее простых способов точного замера является применение маяков и выкладывание марок, представляющих собой деревянные рейки любого сечения, с помощью которых обозначают заданный уровень пола, т. е. поверхность наносимого раствора.

Делается это следующим образом. Первый маяк размещают у стены, а уже от него с по мощью уровня и рейки с интервалом в 1,5–2 м поочередно устанавливают все другие маяки. После того как будут установлены угловые и промежуточные маяки, между ними надо выложить направляющие рейки. В образуемое между ними пространство и следует укладывать цементно-песчаный раствор.

После заполнения всего объема раствором рейки необходимо удалить, а возникающие промежутки заделать тем же самым раствором. Таким образом можно обеспечить совершенно гладкую поверхность без трещин и раковин.

Для достижения максимальной гладкости поверхности можно провести следующую процедуру. После того как раствор начнет понемногу схватываться, его поверхность необходимо затереть большой теркой либо штукатурной лопаткой.

Далее в течение 4–5 дней после заливки раствора поверхность необходимо поливать водой 2–3 раза в день. Это нужно для того, чтобы обеспечить наиболее прочную стяжку, на поверхности которой не будет никаких трещин, а также для того, чтобы раствор не стал отслаиваться и крошиться. Затем необходимо оставить поверхность на некоторое время, чтобы она могла полностью затвердеть и просохнуть.

Степень ровности и горизонтальности поверхности определяется при помощи линейки или прямой рейки, длина которой должна быть равна ширине всего помещения. Допустимым считается просвет до 3 мм, но не более. В случае обнаружения заметных дефектов поверхность необходимо повторно выровнять цементным раствором. Мелкие дефекты вполне можно исправить шпателем. Последнюю шлифовку обычно выполняют с помощью пемзы, наждачного бруска или шлифовальной шкурки.

Устройство основания из древесно-волокнистых плит. Следуя правилам осуществления работ с линолеумными покрытиями, их следует наклеивать исключительно на прочные и отлежавшиеся деревянные основания. В том случае, если какие-то доски повреждены либо прогибаются, их необходимо перестелить заново. При этом надо предусмотреть установку новых лаг под ними. Однако новые лаги следует устанавливать с промежутками меньшими, чем были раньше, что уменьшит вероятность прогиба нового настила.

Заново настилаемые доски нужно прижимать друг к другу максимально плотно. В том случае, если все-таки остаются какие-либо щели и трещины, в них следует забить рейки и клинья.

Перестеленное деревянное покрытие необходимо заново острогать. Узкие щели и трещины, которые невозможно заделать деревянными «заклепками», надо зашпаклевать, а после полного высыхания зашлифовать зашпаклеванные места.

Если линолеум стелют на старый паркет, то предварительно следует оценить его прочность: плохо держащиеся элементы закрепить, трещины и щели зашпаклевать, а после их просыхания зашлифовать.

После того как старые дощатые или паркетные поверхности отремонтированы, а также устроены цементно-песчаные стяжки на бетонных основаниях там, где они нужны, на полы следует уложить древесно-волокнистые плиты. Плинтусы перед началом этих работ надо удалить.

В случае с деревянными поверхностями эти плиты можно просто прибить гвоздями с плоскими шляпками, причем делать это в шахматном порядке вдоль всей кромки с интервалом от 50 до 150 мм. Важно, чтобы шляпки гвоздей оказались утопленными в самом настилаемом листе, иначе в последующем они могут порвать линолеум. Швы между плитами необходимо тщательно зачистить, проолифить, зашпатлевать и отшлифовать после просыхания.

На основания других типов древесно-волокнистые плиты необходимо наклеивать на дисперсионный клей «вразбежку», гладкой поверхностью кверху.

На резиново-битумную и масляно-меловую мастики листы необходимо укладывать шершавой поверхностью наружу. Если плиты укладывают в два слоя, то для первого (нижнего) слоя необходимо использовать мягкие листы, а для второго (верхнего) следует брать полутвердые. Если же плиты укладывают в один слой, то используют только полутвердые.

Плиты надо разложить на подготовленную поверхность и подрезать их таким образом, чтобы они укладывались максимально плотно относительно друг друга. В случае необходимости их можно пронумеровать. Большие по своим габаритам листы способны деформироваться; чтобы этого избежать, их можно пропилить в нескольких наиболее опасных местах – сделать небольшие надрезы там, где листы изгибаются больше всего. Раскроенные таким образом плиты необходимо снять с пола, а его поверхность загрунтовать, тогда мастика будет максимально плотно прилегать к поверхности. В таком случае прочность линолеумного покрытия значительно повысится.

Грунтовку изготавливают на основе битума, который нужно развести бензином в пропорции 1 : 2 или 1 : 3. Битум необходимо нагреть в прочном сосуде до температуры 160–180°С, а затем дать остыть до температуры 80°С. После этого в него маленькими дозами надо добавить обычный автомобильный бензин, пока не образуется однородная масса.

Всегда следует помнить, что грунтовку наносят исключительно на очищенную и высохшую поверхность тонким слоем, после чего она разравнивается и просыхает в течение суток. Той же самой грунтовкой необходимо промазать древесно-волокнистые листы с внутренних сторон, иначе они будут впитывать в себя бензин из мастики.

Покрытые грунтовкой и достаточно просохшие плиты накладывают на горячую битумную мастику: ее заливают на основание и разравнивают с помощью шпателя до образования слоя толщиной не более 2–3 мм.

На мастику накладывают огрунтованные листы в том же самом порядке, в каком они были нарезаны.

Листы нужно плотно прижать к поверхности, что можно сделать с помощью кирпичей либо мешков с песком.

При надавливании выступают излишки мастики, которые необходимо удалить до ее застывания. Сам же груз можно будет снять через двое суток.

Оставшиеся дефекты плит можно удалить с помощью шпатлевания и шлифовки зазоров, а неровности просто состругать.

Вход
Поиск по сайту
Ищем:
Календарь