Книга Благоустройство территории вокруг коттеджа, страница 34 – Юрий Казаков

Авторы: А Б В Г Д Е Ж З И Й К Л М Н О П Р С Т У Ф Х Ч Ш Ы Э Ю Я
Книги: А Б В Г Д Е Ж З И Й К Л М Н О П Р С Т У Ф Х Ц Ч Ш Щ Ы Э Ю Я
Бесплатная онлайн библиотека LoveRead.in

Онлайн книга «Благоустройство территории вокруг коттеджа»

📃 Cтраница 34

К полу гаража также предъявляются определенные требования: покрытие должно быть стойким к длительным механическим нагрузкам и воздействию машинного масла и горючего.

К задней стенке рекомендуется прикрепить на высоте бампера деревянную или резиновую прокладку, чтобы смягчить случайные удары при въезде в гараж. Машину лучше ставить выхлопом в сторону ворот.

В ряде случаев гараж устраивают в подвале, ниже уровня земли. Это возможно, если подвальное помещение используется полностью, а его потолок изготовлен из огнестойкого материала.

Для подземного гаража особое значение имеет въездная рампа. Ее уклон должен составлять 10-12°, максимум – 15°.

Площадка перед воротами устраивается с обязательным уклоном от постройки, но не более 1 м. В самом низком месте размещают сток для воды с отводом в канализационную сеть – это позволит избежать излишней влажности площадки в дождливую погоду и заснеженности зимой. В верхней части рампы можно сделать укрепленный откос, чтобы улучшить обзор.

Если вы планируете использовать загородный дом только как сезонную дачу, строительство капитального гаража необязательно. Можно ограничиться навесом высотой 2-2,5 м с односкатной крышей. Для устройства навеса используют брусья или балки с опорой на стойки. Стойки располагают по периметру площадки на расстоянии 1,5 м друг от друга. Для балок годятся бревна диаметром 10-12 см или брусья сечением 10×10 см. Можно также использовать металлические трубы диаметром 3-4 см и асбестоцементные трубы диаметром 10-15 см. Стойки закапывают на глубину от 80 см до 1 м, землю уплотняют и бетонируют. Перед установкой концы стоек обмазывают битумом и обертывают толем. Стойки из металлических труб наиболее долговечны; для крепления в них обвязок сверлят сквозные отверстия под болты.

Если стойки обшить досками и снаружи обить листовой сталью, а из досок, обитых металлическими уголками, сделать простейшие ворота, навес превратится в подобие гаража, вполне достаточное для временной стоянки автомобиля.

Отдельно следует сказать о материалах для гаражной постройки. Несмотря на многочисленные достоинства древесины, использовать ее для гаража нежелательно: велика вероятность пожара. Металл тоже не рекомендуется, но по другим причинам: летом в металлическом гараже жарко, а во влажную погоду на стенах внутри образуется конденсат. И то и другое вредно для автомобиля. Целесообразно использовать бетон и кирпич.

Оборудование гаража включает освещение, вентиляцию, стеллажи для хранения различных деталей. По возможности в гараже оборудуют и водопровод.

Помещение должно быть сухим, с температурой от +5 до -10 °С и относительной влажностью от 60 до 70 %.

Порядок строительства гаража

После того как оптимальное место для гаража выбрано, необходимо подготовить рабочую площадку. Почву удаляют на глубину 10-20 см, затем проводят разметку так, чтобы углы были прямыми. У каждого угла вбивают колышки, натягивают разбивочные шнуры. По разметке роют котлован под фундамент (рис. 4.38). Глубину котлована устанавливают в зависимости от качества грунта: в сухом песчаном грунте достаточно 60-80 см, а в глинистом – 80-100 см. Для закладки цоколя поверх котлована снаружи и внутри укладывают доски или брусья по размеру планируемой постройки. В котлован заливают бетонную массу (можно – с добавлением битого кирпича, щебня) и хорошо утрамбовывают. Крепежные элементы устанавливают до того момента, как затвердеет бетон.

Иллюстрация к книге — Благоустройство территории вокруг коттеджа [i_068.jpg]

Рис. 4.38. План фундамента под гараж: 1 – деревянные колышки; 2 – разбивочный шнур; 3 – банкет


Следующий этап строительства гаража – устройство пола. Площадка засыпается 10-сантиметровым слоем песка. После его утрамбовки поверх укладывают слой толя или промасленной бумаги. Для бетонного пола необходим слой бетона толщиной 10-12 см. Добиться равномерного распределения и уклона в сторону ворот можно, если вдоль стены на расстоянии 60 см от стены уложить две деревянные планки с нужным наклоном. Доской, поставленной на ребро, по этим планкам выравнивают поверхность бетонной массы. После завершения работ планки убирают, поверхность затирают теркой.

Стены гаражной постройки лучше всего делать кирпичными. Кладку выполняют в 1/2 кирпича, с угловыми и промежуточными столбами в 1 кирпич. Такой вид кладки дает возможность использовать ниши между столбами внутри гаража для оборудования стеллажей, полок и т. д.

Крышу гаража обычно делают односкатной, пологой. Материалом могут послужить деревянные балки, поставленные на ребро, с опорой на столбы. Обшивку выполняют сплошной из досок толщиной 4-5 см. В качестве гидроизоляции применяют рубероид: материал настилают в три слоя и проливают горячим битумом, а затем обсыпают песком.

Иногда гаражи строят с двускатной крышей, что позволяет использовать чердачное помещение для хранения различных вещей.

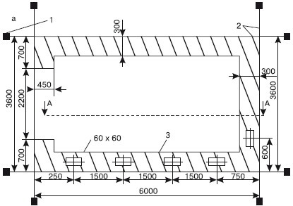
Бывают гаражи с двумя воротами (рис. 4.39). В таком случае вторые ворота часто используются для выезда на площадку для мойки и профилактики машины, расположенную со стороны двора. Внутренние размеры гаража (9,5×5,2 м) позволяют разумно использовать пространство вдоль стен.

Иллюстрация к книге — Благоустройство территории вокруг коттеджа [i_069.jpg]

Рис. 4.39. Гараж с двумя воротами

Готовые гаражные ворота

Существует множество вариантов устройства гаражных ворот (рис. 4.40). И весьма важно выбрать оптимальную конструкцию, поскольку ворота – это деталь, от которой зависит и безопасность, и теплоизоляция, и удобство всей постройки. Можно остановить свой выбор на импортной модели, но и российские производители предлагают неплохие разработки, адаптированные к отечественным условиям.

Иллюстрация к книге — Благоустройство территории вокруг коттеджа [i_070.jpg]

Рис. 4.40. Гаражные ворота


Итак, какие же требования предъявляются к воротам гаража? Конечно, они должны быть удобными, надежными, долговечными и, наконец, красивыми.

Удобство ворот определяется следующим условием: они не должны требовать много пространства при открывании и должны занимать как можно меньше места в распахнутом положении. Что касается надежности, то здесь важны два момента: устойчивость к низким температурам и основательная защита от взломов. Кроме того, имеет значение качество привода и подвижных частей. Материалы, используемые в изготовлении гаражных ворот, должны обладать высокой степенью антикоррозийной защиты. Профессионально выполненные ворота из хороших материалов должны безотказно прослужить 5-10 лет.

Специалисты используют классификацию, в соответствии с которой ворота для гаражей относятся к одному из семи типов: подъемно-перекатывающиеся, подъемно-поворотные, раздвижные, распашные, рулонные, секционные и складывающиеся. Нельзя сказать, какая из этих категорий лучше: каждая из них обладает особыми свойствами, необходимость которых зависит от конструкции, условий местонахождения и эксплуатации гаража.

Вход
Поиск по сайту
Ищем:
Календарь