Книга Пэчворк и квилтинг, страница 19 – Мария Кольская

Авторы: А Б В Г Д Е Ж З И Й К Л М Н О П Р С Т У Ф Х Ч Ш Ы Э Ю Я
Книги: А Б В Г Д Е Ж З И Й К Л М Н О П Р С Т У Ф Х Ц Ч Ш Щ Ы Э Ю Я
Бесплатная онлайн библиотека LoveRead.in

Онлайн книга «Пэчворк и квилтинг»

📃 Cтраница 19

К сожалению, мы пока что лишены подобной роскоши и в этой главе будем учиться стегать одеяла с помощью скромных средств, которыми располагаем.

Предварительно оговорюсь, что одеяла и панно стегают до того, как к ним пришита кайма, а все фигурные изделия (грелки, жилетки и т. д.) – раскраивают после стежки. При этом заготовки полотен для изделий делают на 3–4 см больше, заранее закладывая в размер усадку на стежку.

Виды стежки

По способу исполнения стежка делится на машинную и ручную. И оба эти способа мы рассмотрим ниже.

А сейчас поговорим о месте стежки на лоскутном лице нашего будущего изделия. К геометрическим квилтам относятся:

1. Стежка «в раскол шва». В этом случае стегальный шов точно совпадает со швом стачивания между двумя деталями. В процессе стегания на машинке детали для этого чуть растягиваются руками, и шов стежки впоследствии практически не заметен на изделии, хотя придает отдельным деталям искомую рельефность и выполняет все свои скрепляющие функции. Поскольку стежка – мощный художественный инструмент, которым можно как украсить, так и испортить готовый квилт, новичкам лучше придерживаться именно этого демократичного способа стежки, подбирая нитки точно в тон лицевой части изделия или чуть темней.

2. Стежка вдоль шва. Эта стежка повторяет очертания деталей и прошивается на одинаковом расстоянии от их контура (рис. 77). Желательно перед этим сделать стежку «в раскол», иначе швы стачивания деталей будут не слишком красиво выпирать между двумя стегальными швами. Взяв контрастные нитки, ею можно выделить отдельные элементы в орнаменте. Но делать это нужно очень аккуратно! Не полагайтесь на глазомер – полагайтесь на ширину лапки Вашей верной машинки! (У современных машин этот момент можно варьировать путем изменения положения иглы.) При ручной стежке лучше нарисовать линии заранее.

Иллюстрация к книге — Пэчворк и квилтинг [i_106.jpg]

Рис. 77


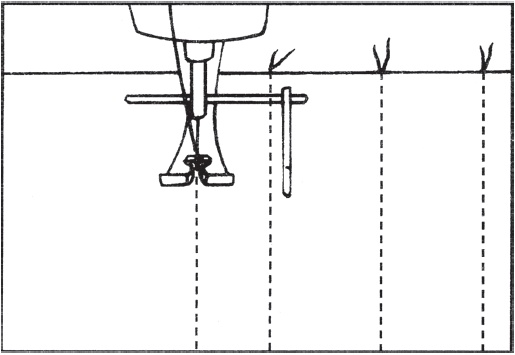
3. Параллельная стежка. Геометрические орнаменты лоскутного шитья иногда сами подсказывают узоры стежки (рис. 78). Если детали лоскутного полотна у Вас достаточно крупные, можно простегать их несколькими параллельными швами, как на машинке, так и вручную. Нитками в тон или контрастными. В каждом из этих случаев визуальный эффект будет разный. Параллельные линии стежки, например на однотонной широкой кайме, могут образовывать самостоятельный узор, пересекаться, складываться в ромбы или квадраты, извиваться. Для большой поверхности (в случае, например, с каймой) такую стежку размечают заранее и шьют по разметке. Практически в любой машинке есть в комплекте приспособление для параллельной стежки (рис. 79) – внимательно изучите инструкцию!

Иллюстрация к книге — Пэчворк и квилтинг [i_107.jpg]

Рис. 78

Иллюстрация к книге — Пэчворк и квилтинг [i_108.jpg]

Рис. 79


4. Свободная стежка. В квилтерском просторечии такая стежка именуется кратко – «мозги» (рис. 80). Ее очень выгодно использовать для заполнения больших кусков фона или объединения отдельных элементов. Свободная стежка придает любому, даже самому простенькому квилту авторский шарм, а любой, даже однотонной поверхности, оригинальную фактуру. Делается она практически исключительно на машинке. Для этого нужно убрать зубцы транспортера, как для машинной вышивки, поставить лапку – колечко или лапку-рамку с пружинкой для штопки или вышивки и, слегка растягивая полотно руками, строчить, равномерно двигая ткань в разных направлениях. Чтобы достичь в этом деле заметных результатов, нужно немало потренироваться.

Иллюстрация к книге — Пэчворк и квилтинг [i_109.jpg]

Рис. 80


5. Точечная стежка. Сшив красивое покрывало из джинсовых полос и сметав его с подкладкой и прокладкой, Вы с опозданием поймете, что Ваша белошвейная машинка такую толщину просто «не потянет». Но и простегать его целиком вручную под силу только сумасшедшей Золушке… Что же делать?? Вдевать в иголку толстую нитку (нейлоновую или акриловую, не принципиально, главное – толстую) и закреплять ключевые моменты узора точечно. Можно оформлять это на лицевой стороне квилта как узелки, можно как крестики, можно как пятиконечные звездочки, главное, чтобы точка не занимала у Вас больше одного-двух движений (рис. 81).

Иллюстрация к книге — Пэчворк и квилтинг [i_110.jpg]

Рис. 81


6. Второй, более древний вариант точечной стежки применяется в изделиях с толстой, мягкой прокладкой. Сделайте очень маленький стежок по лицевой стороне изделия, выньте иглу с изнанки, перпендикулярно сэндвичу. Затем введите иглу с изнанки рядом с точкой выхода и направьте внутрь прокладки. Выведите иглу налицо через некоторое расстояние от первого стежка и сделайте второй крошечный стежок, опять вертикально прокалывая иглой все три слоя. Смысл в том, что на поверхности с лица и с изнанки видны только крошечные стежки-точки, а промежуточные стежки проходят внутри прокладки. Нить после каждого стежка слегка натягивайте, но не очень сильно, так, чтобы притянуть слои друг к другу, но не стянуть и не покоробить все изделие.

Подготовка изделия к стежке

Для того чтобы простегать изделие (в нашем случае одеяло), нужно сначала произвести с ним некоторые подготовительные операции. В первую очередь еще раз как следует отутюжьте и даже отпарьте лоскутную часть. Утюгом можно убрать (сутюжить или чуть растянуть) небольшие погрешности сборки.

Затем нужно выкроить прокладку и подкладку. Прокладка – синтепон, ватин или флис – выкраивается примерно на 5 см по каждой стороне больше лоскутной части. Если стандартной ширины прокладочного материала Вам не хватает, нужно дотачать ее вручную, уложив нужную полосу встык и соединив с основным полотном широкими, свободными стежками через край, чтобы на месте стыка не было заметного утолщения.

Размер подкладки должен превышать размер лоскутной части на 8—10 см по каждой стороне. Многовато? Ну, можете попробовать обойтись 6–8 см, но лучше в конце спокойно обрезать лишнее.

Изнаночную ткань для одеял лучше брать хлопчатобумажную, она приятна в использовании и не скользит. Подбирают ее, конечно, в тон лоскутному верху. В случае, если у Вас остались значительные куски тканей, из которых собран верх, можно сделать подкладку из этих остатков.

Для панно допустимо и даже удобно использование синтепона, уже состеганного с нейлоновой подкладкой.

Итак, наступает торжественный момент сметывания вместе трех слоев – подкладки, прокладки и лоскутного верха будущего одеяла.

На чистом полу расстилаем отутюженную подкладку изнанкой наверх, тщательно разравниваем ее и крепим к полу скотчем. Затем аккуратно расстилаем прокладку, тоже разравниваем и накрываем все это лоскутным верхом так, чтобы подкладка и синтепон равномерно выступали из-под него с каждой стороны. Последнюю операцию очень желательно делать вдвоем, стоя по разные стороны квилта и держа лоскутную часть за противоположные углы. И чем больше Ваше изделие, тем нужнее помощник. В результате у Вас получится следующая картинка (рис. 82).

Вход
Поиск по сайту
Ищем:
Календарь