Книга Справочник. Правильный ремонт от пола до потолка, страница 19 – Владимир Онищенко

Авторы: А Б В Г Д Е Ж З И Й К Л М Н О П Р С Т У Ф Х Ч Ш Ы Э Ю Я
Книги: А Б В Г Д Е Ж З И Й К Л М Н О П Р С Т У Ф Х Ц Ч Ш Щ Ы Э Ю Я
Бесплатная онлайн библиотека LoveRead.in

Онлайн книга «Справочник. Правильный ремонт от пола до потолка»

📃 Cтраница 19
Иллюстрация к книге — Справочник. Правильный ремонт от пола до потолка [i_001.jpg]

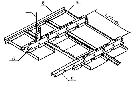
Рис. 1. Схема обшивки потолка гипсокартоном: а — декоративная планка; б – пристенный кант; в — удлинитель направляющего профиля; г – подвес с тягой; д – направляющий профиль


Что касается цвета, то чаще всего плиты подвесных потолков однотонно белые, классическая фактура – гладкая, но могут быть и с шероховатой поверхностью, «червячками», точками, зазубринами, рельефными геометрическими рисунками и т. д. При желании плиты можно покрасить водоэмульсионными или латексными красками.

Подвесные потолки на основе деревянного каркаса. Основные составляющие элементы такого подвесного потолка – каркас из деревянных брусьев, металлические держатели и обшивка. Для соединения каркаса подвесного потолка с базовым применяются потолочные держатели. Это металлические элементы, изготовленные методом штамповки из стальной полосы и состоящие из двух частей. Одна часть крепится к базовому потолку и затем сгибается под прямым углом. Вторая часть (она несколько шире) свободно передвигается относительно первой до достижения необходимого расстояния между базовым и подвесным потолками.

Оба элемента имеют швеллерообразные части, которые стыкуются друг с другом. В их полках выполнены ряды отверстий, интервалы между которыми в верхней части (крепящейся к потолку) и в нижней (крепящейся к каркасу) немного не совпадают. Через отверстия наискось пропускается металлический штырь (например, гвоздь), и таким образом фиксируется необходимая длина потолочного держателя. Общая длина держателя может изменяться с точностью до миллиметра.

Верхняя часть потолочного держателя крепится к потолку при помощи шурупов и дюбелей. В комплект держателей обычно входят оцинкованные гвозди для фиксации элементов. Один такой гвоздь, пропущенный через отверстия частей держателя, позволяет нести конструктивную нагрузку до 250 кг, два гвоздя – до 350 кг.

Деревянный каркас, укрепленный на потолочных держателях, называется обрешеткой. Она выполняется либо одинарной (простой), либо двойной (контровой). Простая обрешетка состоит из деревянных брусьев, подвешенных к потолку параллельно друг другу с шагом 600 мм. Шаг держателей – 800 мм.

В том случае, когда выполняется двойная обрешетка, перпендикулярно брусьям, закрепленным на потолочных держателях, монтируются контрбрусья, что дает дополнительную жесткость деревянному каркасу. Контрбрусья крепятся шурупами к основным брусьям с шагом 600 мм с помощью шуруповерта или электродрели с соответствующей насадкой.

Для того чтобы ускорить этот процесс, используется деревянный шаблон. Он имеет длину, соответствующую требуемому расстоянию между контрбрусьями, и изготовляется из обрезка деревянного бруска. При облицовке подвесного потолка гипсокартонными листами стыки между ними должны находиться на контрбрусьях. Сами же листы крепятся к обрешетке шурупами с шагом 150–200 мм.

Подвесные потолки на основе металлического каркаса. Эта система представляет собой каркас из металлических профилей, обшитый листами гипсокартона. Металлические профили изготавливаются из стальной ленты (толщина 0,55—0,8 мм) методом холодной прокатки и имеют швеллерообразное сечение. Поверхность таких элементов покрыта слоем цинка для предотвращения последствий негативного воздействия внешней среды.

Для монтажа подвесного потолка применяются два вида профилей – потолочные и направляющие. Потолочные профили служат для формирования металлического каркаса подвесного потолка. Спинка профиля имеет ширину 60 мм, ширина полки – 27 мм. Для облегчения центровки крепежных шурупов и для придания элементу дополнительной жесткости спинка и полки профиля имеют по три канавки.

К базовому потолку профиль крепится с помощью специальных подвесов. Основные виды подвесов – подвес прямой и подвес с зажимом. Края полок профиля загнуты внутрь и служат упором для подвесов с зажимом. Прямой подвес скрепляется с потолочным профилем с помощью шурупов-саморезов. Спинка профиля служит для крепления к ней гипсокартонных листов.

Потолочный направляющий профиль ПН 28/27 – это направляющая основа для каркаса из потолочных профилей ПП 60/27. Он имеет спинку шириной 28 мм и две полки шириной по 27 мм. В процессе монтажа подвесного потолка направляющий профиль ПН закрепляется на стенах по периметру помещения. Для установки на несущее основание (в данном случае – стену) направляющий профиль имеет отверстия диаметром 8 мм, расположенные с шагом 250 мм. Крепление производится шурупами с дюбелями.

Существует два типа каркасов для подвесных потолков на основе металлических профилей. В одном случае основные профили, которые крепятся к базовому потолку с помощью подвесов, и несущие профили, на которых располагаются листы обшивки, находятся на разных уровнях.

При этом вес 1 м2 потолка составляет 13 кг. Максимальное расстояние между подвесами – 900 мм. Наибольший шаг между основными профилями – не более 1000 мм, расстояние между несущими профилями – не менее 500 мм, зазор между стеной и крайним основным профилем – 100 мм. Для скрепления основных и несущих профилей используют ПП-соединитель профилей двухуровневый.

Другой вариант каркаса для подвесного потолка выглядит следующим образом. Основные и несущие профили находятся на одном уровне. В этом случае расстояние между местами крепления подвесов к основному потолку может достигать 1000 мм, а расстояние между основными профилями – 1200 мм. Остальные параметры такие же, как и для разноуровневого каркаса. Между собой основные и несущие профили скрепляются с помощью ПП-соединителей одноуровневых.

Монтаж подвесных потолков следует начинать на той стадии работ, когда закончено применение жидких растворов, способных повысить влажность в помещении.

Порядок монтажа подвесных потолков следующий. Прежде всего следует определить необходимое расстояние между основным и подвесным потолками. В соответствии с этим производится разметка и монтаж направляющих профилей. Далее намечаются места установки подвесов и основных профилей. С помощью анкеров подвесы крепятся к базовому потолку, и к ним саморезами привинчиваются основные профили. Регулируя длину подвесов, основные профили выравнивают в одной плоскости, после чего к ним крепятся несущие профили.

Затем с использованием специальных подпорок листы гипсокартона устанавливаются в необходимое для монтажа положение и закрепляются на несущих профилях саморезами с шагом не более 170 мм. Листы гипсокартона располагают перпендикулярно к несущим профилям, причем их стыки должны находиться на несущих профилях. Швы в местах стыков заделываются специальной шпаклевкой и армирующей лентой.

Обшивка гипсокартонными листами может производиться в два слоя. Шурупы необходимо вворачивать перпендикулярно листам и углублять в профиль не менее чем на 10 мм. Головки шурупов утапливаются в толщу гипсокартона на 1 мм. После проведения вышеописанных мероприятий поверхность подвесного потолка готова для дальнейшей декоративной отделки.

Вход
Поиск по сайту
Ищем:
Календарь