Книга Своды Славянской гимнастики, страница 38 – Владислав Мешалкин

Авторы: А Б В Г Д Е Ж З И Й К Л М Н О П Р С Т У Ф Х Ч Ш Ы Э Ю Я
Книги: А Б В Г Д Е Ж З И Й К Л М Н О П Р С Т У Ф Х Ц Ч Ш Щ Ы Э Ю Я
Бесплатная онлайн библиотека LoveRead.in

Онлайн книга «Своды Славянской гимнастики»

📃 Cтраница 38

Итак, напомним вам, дорогие читатели, две предыдущие формы упражнения «Окрест».

Плоскостная форма (упражнение «Окрест I»)

Прочерчиваем последовательно в вертикальной плоскости круг, вертикальную и горизонтальную планки креста.

Объемная форма (упражнение «Окрест II»)

Каждую из фигур, составляющих оберег «Окрест», выполняем с одновременным разворотом на 360°.

Теперь рассмотрим волхвовскую форму упражнения.

За время выполнения объемной формы упражнения «Окрест» необходимо успеть развернуть и свернуть Коло Сварги. Направление спирали выбирается в зависимости от времени суток. В первой половине дня – посолонь (по часовой стрелке), во второй – коловрат (против часовой стрелки).

Чтобы выполнить данное упражнение, сформируйте идеомоторно (то есть мысленно, в воображении) или прочертите на земле соответствующую спираль. Она должна вписаться в площадь не более 1,5 м2. Встаньте в центр спирали, лицом на Солнце или Восток. Начинайте выполнять первую фигуру – круг.

Делая круг, вы совершаете поворот на 360° вокруг своей оси. Кроме того, вы начинаете центробежное движение по спирали посредством «танко́в», то есть мелковибрационных шажков с акцентом на пятки.

Выполняя первую половину фигуры «Вертикальная планка креста», вам необходимо выйти на внешний обруч спирали и перейти к центростремительному движению по ней. Постарайтесь закончить упражнение точно в центре спирали.

В конце нужно обязательно выполнить «отщелкивание» образа.

Если у вас есть возможность создать компьютерную модель этого упражнения, то вы сможете наблюдать со стороны весьма интересное зрелище.

6. Упражнения-маятники
Введение

Для начала давайте немного порассуждаем. Попробуем подобрать ключевой термин для всех явлений, процессов, событий, личностей, объектов и всего-всего, что может себе представить наш пытливый Разум.

На наш взгляд, таким термином является «вибрация». Вселенная, планеты, люди – все движется и поэтому вибрирует. Статики нет, есть только движение. Остановка может произойти только в нашем сознании, да и то на какой-то определенный момент, дальше – снова в путь. Бесконечные разночастотные вибрации составляют волны. Волны, закрученные временем в спирали, являются конструкционным субстратом всего сущего.

Естественно, что и человек, как Микрокосмос, существует по законам Макрокосмоса. Чтобы научиться осознанно встраиваться в вибрации огромного мира, то есть свести до минимума их губительное действие, необходимо определить условную составляющую волн-спиралей.

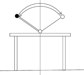
Представьте себе стол и на нем метроном, используемый на музыкальных занятиях. Что мы видим: опору, точку опоры и некий рычаг, двигающийся в одноплоскостном пространстве относительно центральной оси. Совершенно справедливо эту периодично двигающуюся конструкцию можно назвать маятником (рис. 16).

Иллюстрация к книге — Своды Славянской гимнастики [_54.jpg]

Рис. 16. Маятник «Метроном»


Допустим, что этот стол с маятником находится в каюте лайнера, совершающего трансатлантический переход. У нашего маятника получается более сложная траектория движения.

Идем дальше. Атлантический океан, по которому плывет лайнер, находится на планете Земля, вращающейся вокруг своей оси и несущейся с космической скоростью вокруг Солнца. Какова теперь динамика нашего маятника? Дух захватывает, как только пытаешься себе представить. А если подумать, как Солнечная система пульсирует внутри нашей Галактики, которая в свою очередь крохотной свастикой вибрирует во Вселенной? И сама Вселенная крохотным пузырьком витает среди других «вселенских пузырьков» в невообразимом пространстве материального творения. И как теперь обстоят дела с траекторией нашего маятника? Сложновато представить, но можно.

Тело человека, появившегося на Земле, отображает строение Солнечной системы и нашей Вселенной. И в нас находятся такие же маятники. Узнав методы проработки самых основных из них, мы получаем в пользование ключи-камертоны, которые способны регулировать состояние нашего здоровья.

Итак, задача упражнений-маятников состоит в том, чтобы почувствовать, как расслабленный корпус при небольшом отклонении возвращается в исходное положение без участия нашей воли, естественным образом. А при некотором развитии внутренних энергетических «натягов» – за счет инерции дает качок в противоположном направлении.

Это динамическое состояние мышц-антагонистов, где F сгибателя = F разгибателя, называется оптимальным физиологическим положением и использует всего до 30 % нашей энергии при любой деятельности.

Здесь необходимо ввести принцип алертности, то есть расслабленной гибкости или интуитивной правильности движений. Этот принцип обеспечивает включение энергии правого полушария мозга, то есть подсознания, которое составляет около 80 % энергоинформационного потенциала личности.

Алертность раскрывает еще один принцип гармоничного сосуществования – комплементарности, или «ключ в замке». Он обеспечивает точно выверенную адекватную реакцию личности на постоянно меняющуюся внешнюю среду. Другими словами, нам больше не нужно тратить физическую энергию, беспрецедентные усилия сознания, амплитудные метания чувств; можно точно, без лишних слов и движений решать задачи, которые ставит перед нами Судьба. Мощный объем энергии, высвободившейся в процессе гармоничной жизнедеятельности, пойдет на поддержание крепкого личного здоровья, а в особых случаях – и на исцеление окружающих.

Эти принципы широко используются спортсменами. Многие из нас слышали о «маятниках» легендарного СМЕРШа. [5] Нам нужно запомнить, что упражнения-маятники не только развивают психосуггестивные способности, но и являются мобилизующими, усиливающими для нашего Ведогона.

Упражнение «Подвес»

Прежде чем перейти к описанию упражнений «Балагаяри», рассмотрим очень важное подготовительное упражнение «Подвес». Оно принципиально похоже на упражнение «Мыски» из комплекса «Палестра». В «Подвесе» чуть усложняется идеомоторная «картинка» и не обязательно вставать на мыски (рис. 17).

Иллюстрация к книге — Своды Славянской гимнастики [_55.jpg]

Рис. 17. Упражнение «Подвес». Мыслеобраз энергосфер

На вдохе (удары пульса можно не учитывать) представляем, что над макушкой появился крюк, который тянет вверх наш центральный энергоканал. Далее поочередно подсоединяем к этому «крюку» Золотое Царство, Медное, Серебряное. Затем, через центральный канал, туда же подвешиваем энергосферы плечевых суставов, тазобедренных, коленных.

Вход
Поиск по сайту
Ищем:
Календарь