Книга Онтогенез. От клетки до человека, страница 78 – Джейми Дейвис

Авторы: А Б В Г Д Е Ж З И Й К Л М Н О П Р С Т У Ф Х Ч Ш Ы Э Ю Я
Книги: А Б В Г Д Е Ж З И Й К Л М Н О П Р С Т У Ф Х Ц Ч Ш Щ Ы Э Ю Я
Бесплатная онлайн библиотека LoveRead.in

Онлайн книга «Онтогенез. От клетки до человека»

📃 Cтраница 78

Красной нитью через почти все рассмотренные события проходит межклеточное взаимодействие. На каждом этапе развития «механизмы», построенные из белковых молекул, регистрируют сигналы клеточного окружения – механические (напряжение, свободная поверхность) или биохимические (молекулы, секретируемые клетками других тканей). Эти сигналы в сочетании с внутренним состоянием клетки определяют ее дальнейшие действия. Это тесное взаимодействие совсем не похоже на связи в обычных механизмах. Реле и транзисторы не обращают друг на друга внимания на этапе конструирования, и даже если взаимодействуют в работающей машине, например в компьютере. Тесное взаимодействие между компонентами – это тот аспект живой природы, который разительно отличает ее от неживой. С него и можно начать поиск новой модели эмбрионального развития, которая должна описывать его гораздо лучше, чем уже отвергнутые нами модели.

Обмен межклеточными сигналами, описанный в предыдущих главах, служит двум задачам: увеличению сложности и исправлению ошибок. Биологическую сложность трудно выразить численно, [369] но в случае эмбриона ее можно примерно оценить как число разных типов клеток и анатомических структур (без учета внутриклеточных структур). [370] Тогда эмбрион начинает с низкого уровня сложности (один тип клеток, одна структура) и приходит к высокому уровню (сотни типов клеток, тысячи внутренних структур). Более того, во время самой активной фазы развития число структур возрастает практически экспоненциально (рис. 85).

Иллюстрация к книге — Онтогенез. От клетки до человека [_85.jpg]

Рис. 85. На ранних этапах развития мыши число типов тканей экспоненциально увеличивается. На двух графиках показаны одни те же данные. Слева – линейный график с экспоненциальной кривой в качестве примера; справа – логарифмический график, на котором экспоненциальные взаимоотношения выглядят как прямые линии. По мере дальнейшего развития скорость увеличения числа типов ткани выравнивается. Список тканей, использованных при построении графика, приведен в Проекте эдинбургского атласа мышей (Edinburgh Mouse Atlas Project), www.emouseatlas.org (информация по состоянию на 6 июля 2013 г.)


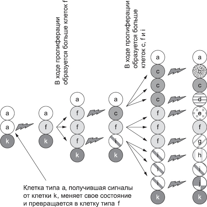
Экспоненциальный рост характерен для систем, в которых уже достигнутый рост придает системе повышенную способность к росту. Классическим примером является численность бактерий в культуре. Одна бактерия растет и делится на две, и каждая из двух теперь может расти и делиться, в результате получаются четыре бактерии, затем восемь, затем шестнадцать и так далее. Приращение численности увеличивается с каждым делением. Сходный эффект наблюдается при экспоненциальном росте сложности: достигнутый уровень сложности повышает способность эмбриона усложняться на следующем этапе. Мы уже видели, как обмен межклеточными сигналами приводит именно к этому. Как только между клетками двух областей эмбриона возникает различие и, соответственно, граница, клетки, находящиеся на границе, могут ее детектировать и использовать как сигнал к дифференцировке в клетки третьего типа. Тогда возникнут две новые границы между клетками разных типов, и на каждой из них может произойти то же самое. Этот процесс схематично изображен для простого ряда клеток в ткани на рис. 86, а реальный пример того, как различия в сигналах от эктодермы и от нотохорда используются для возникновения сложного чередования разных типов клеток в сомитах и нервной трубке, обсуждался в главе 7. В реальной жизни, как и на схеме, различия порождают различия. Используя этот эффект, эмбрион поднимается от скучной однородности до удивительного внутреннего разнообразия – так сказать, вытягивает сам себя за волосы из болота. И по-видимому, как я говорил в главе 3, затравкой для запуска этого сложного процесса служат простые различия физических параметров.

Во-вторых, межклеточное взаимодействие используется для обеспечения правильного соотношения разных типов тканей и исправления неизбежных ошибок, проистекающих из присущего биохимическим реакциям случайного теплового шума. Запрос о более интенсивном росте, который одна ткань посылает другой, например, когда требуется усилить кровоснабжение (глава 9), подстраивание размера клеточной популяции под потребности организма (глава 16), «самоубийство» клеток, оказавшихся не там, где надо (глава 14), контроль над пролиферацией стволовых клеток за счет сигналов от клеток, которым они сами же и дают начало (главы 16 и 18), – вот лишь некоторые примеры удивительной гибкости нашего развития.

Эта гибкость возможна благодаря существованию сигнальных петель. Подчеркну, что речь идет не просто о сигналах, а о петлях обратной связи. Смысл в том, что результат процесса как бы передается в обратном направлении, то есть контролирует сам процесс. Мы уже рассматривали пример такой обратной связи в главе 9: кислород, поступивший в ткань в результате роста капилляров, снижает производство сигнальной молекулы VEGF, которая в противном случае способствовала бы дальнейшему росту капилляров. Благодаря петлям обратной связи межклеточные взаимодействия действительно напоминают разговор: клетки отвечают на сигналы другими сигналами, которые прямо или косвенно достигают цели. Поэтому поведение клеток в высшей степени взаимообусловлено. Это, вероятно, и является ключом к пониманию того, как может происходить биологическое конструирование при отсутствии внешнего «строителя», сверяющегося с планом и графиком работ. Кирпичи не могут почувствовать, на какой стадии находится строительство дома, и внести изменения в кладку в зависимости от того, что почувствовали. А вот клетки могут. В отличие от строителя, который может отойти и окинуть взглядом строящийся дом, они не способны «видеть» весь эмбрион, зато способны почувствовать все, что нужно, чтобы действовать в верном направлении.

Иллюстрация к книге — Онтогенез. От клетки до человека [_86.jpg]

Рис. 86. Граница между двумя типами клеток может способствовать дифференцировке на этой границе третьего типа клеток. При этом формируются две новые границы, которые могут способствовать следующим раундам дифференцировок и появлению новых типов клеток. Эта схема показывает общую идею, а не относится к какой-то конкретной области эмбриона. Примеры похожих процессов, протекающих в нервной трубке и сомитах, были приведены выше (глава 7)

Вход
Поиск по сайту
Ищем:
Календарь