Книга Искусство столового этикета, страница 27 – Хелен Спраклинг

Авторы: А Б В Г Д Е Ж З И Й К Л М Н О П Р С Т У Ф Х Ч Ш Ы Э Ю Я
Книги: А Б В Г Д Е Ж З И Й К Л М Н О П Р С Т У Ф Х Ц Ч Ш Щ Ы Э Ю Я
Бесплатная онлайн библиотека LoveRead.in

Онлайн книга «Искусство столового этикета»

📃 Cтраница 27

Обед

В этой главе, однако, мы ограничимся обедом за столом, поскольку именно такой обед, организованный умело, изящно и по надлежащим правилам, является прекрасным развлечением гостей. Строго говоря, его следует назвать полуофициальным, поскольку классическая, стандартная процедура сервировки и обслуживания требует соблюдения твердых правил и определенного протокола. При полуофициальном приеме гости могут надевать либо дневные, либо вечерние костюмы, как просит хозяйка. Если текст приглашения частично отпечатан, частично написан от руки (как на рисунке в конце главы 10), это автоматически подразумевает смокинг и вечернее платье. Хозяйка может выбрать любые блюда (лишь бы они составляли хорошее меню) и сервировать стол в соответствии с собственными вкусами и по своему замыслу.

Обед этого типа, однако, требует довольно много предметов, причем высокого качества. Даже с одной горничной такой обед устроить трудно, он требует достаточно квалифицированного состава. Если вы не имеете такой возможности, вам лучше организовать шведский стол, о котором я уже рассказала.

Сервировка стола

Сервировка вашего стола может сыграть важную роль во всей вечеринке. Стол с отраженным в стекле светом, блеском серебра, мерцанием свечей представляет собой великолепную картину.

Согласно традиции, «официальный» сервированный стол должен соответствовать определенным характеристикам: белый фон, высокие свечи в больших канделябрах, стеклянная посуда с длинными ножками.

Возможно, при сервировке полуофициального стола вы будете исходить не из традиций, а из собственного вкуса. Это дает вам много больше свободы в том, что использовать и каким образом, и в конечном счете в результате долгих усилий часто появляется хороший традиционный стол.

Например, с точки зрения дизайна большому длинному столу должны соответствовать высокие предметы для его общей сбалансированности. Это автоматически подразумевает использование высоких свечей. Вы вправе решить, следует ли вам использовать очень длинные свечи с низкими подсвечниками или же следует предпочесть свечи умеренной высоты с высокими подсвечниками. Должный вид можно придать столу, расположив их в одном-двух местах, вовсе не обязательно по всей длине стола.

Украсьте стол чем-то действительно исключительным. Не ограничивайте себя одной лишь вазой с розами и канделябрами на каждой стороне. И при этом не забывайте, что весь стол должен представлять единую картину. Скатерть и «подставки места» также входят в общую цветовую гамму.

С каждым новым подаваемым на стол блюдом следует использовать новые тарелки, которые должны отличаться от предыдущих, однако всегда гармонировать с украшениями стола. Может ли обед воодушевлять и располагать к разговору, если на столе все время стоит все тот же мертвенно-бледный фарфор! Не следует менять только мейсенский фарфор или какие-нибудь другие особо изысканные сервизы, которые сами по себе могут служить темой для разговора. Как уже говорилось, посуда должна гармонировать: например, к тяжелым глиняным тарелкам не подходят блестящие бокалы с высокими ножками.

Не перебирайте с украшениями, не бойтесь оставлять свободные места: они могут эффектно вписываться в общую картину. Стоимость украшений еще не гарантирует их хороший вид на столе. Придайте сервировке определенный характер, пусть она говорит о вас и о ваших интересах. Простота, чувство меры, воображение могут сделать неотразимыми недорогие вещи. Так вместо множества цветов можно поставить на стол доставшийся по наследству старый серебряный предмет, пару изысканных статуэток, а также старинную вазу из уотерфордского стекла с одним-единственным большим цветком. Украсит стол даже небольшая кучка хурмы, если, конечно, ее цвет соответствует общей цветовой картине.

Помните о том, что огонь от свечей не должен быть на уровне глаз обедающих. Это значит, что если ваши подсвечники имеют небольшую высоту, то свечи должны быть высокими. Высокие свечи придают столу весьма привлекательный вид.

Карточка с указанием места приглашенного

Организация индивидуального места при сервировке стола практически такая же, как и в остальных случаях (за подробностями следует обратиться к главе 9). Если стол сервируется более чем на девять человек, следует использовать карточки места. Такие карточки – самый простой и удобный способ размещения за столом большой группы. Тонкие кусочки картона с серебряными краями или карточки из легкой бумаги размером примерно 7,5x8 см складываются пополам, чтобы они могли стоять на столе. Имя пишется на нижней половине. Сложенные карточки ставят на столе прямо над тарелкой. Односторонние же карточки обычно кладут на верхнюю часть салфетки. Не следует использовать цветные карточки, даже если они вписываются в общую схему. Подобные карточки уместны только для особых случаев, на приемах с участием близких людей. Надписывая карточки, вы можете указывать лишь имена, если устраиваете вечер только для близких друзей, однако, если на обеде должны присутствовать посторонние или малознакомые, лучше указывать фамилию.

П роцедура рассаживания

Если хозяйка не использует карточки, то она сама рассаживает гостей. Мужчины обычно ждут, когда за стол сядут дамы. Хозяин, конечно, опускается на стул последним.

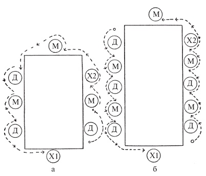
Рассаживание большой группы гостей и последующее ее обслуживание представляют для хозяйки сложную проблему. Обычно принято сажать мужчин и дам попеременно. Когда число сидящих кратно четырем (восемь, двенадцать, шестнадцать, двадцать), хозяин или хозяйка могут отказаться от своего привычного места в конце стола ради того, чтобы сохранить принцип чередования. Это уместно только тогда, когда на конце стола может поместиться только один человек. Эти места оставляются для хозяев на протяжении многих поколений, поэтому хотя бы хозяин должен остаться на этом месте, тогда как хозяйка может переместиться на стул, находящийся слева от ее обычного места. Это позволит посадить на конце стола мужчину, сохранив, таким образом, чередование. За круглым столом или столом с широкими сторонами вам беспокоиться не о чем.

Иллюстрация к книге — Искусство столового этикета [pic_9.jpg]

M – мужчина, Д – дама, X1 – хозяин, Х2 – хозяйка

Иллюстрация к книге — Искусство столового этикета [pic_10.jpg]

M – мужчина, Д – дама, X1 – хозяин, Х2 – хозяйка, ПГ – почетная гостья


Когда число участников равняется четырем, десяти, четырнадцати и т. д., более современным будет вообще отказаться от мест по краям стола. Все чаще хозяин и хозяйка садятся в центре широкой части стола. Чтобы получилось именно так, число сидящих по одну сторону должно быть нечетным – три, пять, семь. Положение хозяина и хозяйки в центре всей вечеринки позволяет им направлять разговор, если в этом возникнет необходимость, и присматривать, все ли в порядке.

На обычную дружескую вечеринку «почетные гости» приглашаются редко. Однако, если вы даете званый обед в честь какой-то особы, ее следует посадить с правой стороны от хозяина дома. Если же это мужчина, его место – справа от хозяйки. Обслуживание как почетных гостей, так и обычных описано в главе 11. Обслуживание начинается с дамы, сидящей с правой стороны от хозяина (как показано на рисунке). Второй помощник обычно начинает с дамы, сидящей через стол по диагонали. Неплохо менять порядок обслуживания на обратный с каждым новым блюдом, так чтобы одного и того же человека не обслуживали всегда последним. На небольших званых вечерах, когда обслуживанием занимаются два человека, первый обычно начинает с самого важного блюда, такого как жаркое, тогда как второй идет за ним с подливой или овощами, следующими в меню.

Вход
Поиск по сайту
Ищем:
Календарь