Книга Деньги, страница 19 – Сергей Розвадовский

Авторы: А Б В Г Д Е Ж З И Й К Л М Н О П Р С Т У Ф Х Ч Ш Ы Э Ю Я
Книги: А Б В Г Д Е Ж З И Й К Л М Н О П Р С Т У Ф Х Ц Ч Ш Щ Ы Э Ю Я
Бесплатная онлайн библиотека LoveRead.in

Онлайн книга «Деньги»

📃 Cтраница 19

Единственный способ достижения состояния, называемого «счастье», – это принятие личной ответственности за контроль выбора, а также отношение к жизни и к происходящему со мной сейчас.

Путь свободы, к которой так стремится любой живущий на земле человек, напрямую связан с его навыком «бить клин» здесь и сейчас. Если дело касается денег – конкретной, точной, измеримой величины материального мира, – необходимо получить простое и ясное понимание, какие же действия и стратегии, стоящие за термином «бить клин» сделают тебя богачом. Об этом более подробно ты сможешь прочитать в моей книге «8 навыков богатых людей».

Иллюстрация к книге — Деньги [i_022.jpg]
Резюме

1. Люди не богаты, потому что усложняют понятия, действия и системы и от сложности останавливаются. Не осознают, что деньги – это средство обмена. Не продают.

2. Люди не богаты, потому что не «бьют клин» или же тратят столько, сколько зарабатывают, не инвестируя в активы.

3. Хочешь быть богатым – создавай обмен, ускоряй обмен, упрощай обмен и, отложив часть полученных вследствие обмена денег, вкладывай в активы.

4. Хочешь быть еще богаче, делай так, чтобы активы создавали новые активы.

5. Единственный способ достижения состояния называемого «счастье», – это принятие личной ответственности за контроль выбора, а также отношение к жизни и к происходящему со мной сейчас.

Для справки

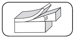
При действии малой силы на торец клина возникает гораздо большая сила, перпендикулярная скользящей поверхности. Выигрыш в силе, даваемый клином, – расклинивающее действие клина – тем больше, чем острее «рабочий» угол клина (на рисунке на с. 90 он обозначен символом β).

Клин, как и всякий простой механизм, нужно заставить двигаться в нужном направлении. Только тогда он выполнит свою роль, например расколет полено (см. рисунок на с. 83).

Второй закон развития и богатства. УМНОЖАЙ!


Исполняется он путем двух последовательных шагов:

Шаг к свободе и деньгам № 3. ОТКЛАДЫВАЙ. Откладывай, тратя меньше, чем заработал.


Шаг к свободе и деньгам № 4. ОТЛОЖЕННОЕ ИНВЕСТИРУЙ В АКТИВЫ. Больше зарабатывай. Создавай и умножай активы.

Иллюстрация к книге — Деньги [i_023.jpg]
Задание

Повторение – мать учения! Для того чтобы ты стал богатым, необходимо тщательно разобраться в сути и значении терминов.

1. Сейчас возьми листок с ручкой и запиши слова:

• «Бить клин»

• «Актив»

• «Обогащение»

• «Богатый человек»

• «Счастье»


2. Захлопни книгу, изложи своими словами, что означают эти понятия.

3. Расскажи на этой неделе пяти разным людям об усвоенных тобой терминах и понятиях: «бить клин», «актив», «обогащение», «богатый человек», «счастье».

Приложение 1

С древних времен для облегчения своего труда человек использует различные механизмы (греч. «механэ» – машина, орудие). Клин – это разновидность простого механизма «наклонная плоскость». Он состоит из двух плоскостей, которые сходятся под острым углом.


Взгляните на рисунок.

Иллюстрация к книге — Деньги [i_024.jpg]

Вы видите клин, который удерживает дверь силой трения между нижней частью двери и клином.

Небольшой силы, с которой мы вставляем клин под дверь, достаточно, чтобы возникла гораздо большая сила, с которой клин удерживает тяжелую дверь.

Иллюстрация к книге — Деньги [i_025.jpg]

Клин (как механизм) используют для разделения на части какого-либо предмета (см. рисунок).

Глава 7. Умножай

Первый шаг к свободе и деньгам: ОБНАРУЖЬ ПОТРЕБНОСТЬ – ПРЕДОСТАВЬ ПРОДУКТ!


Второй шаг к свободе и деньгам: ПРОДАВАЙ! – Деньги – это средство обмена.


Третий шаг к свободе и деньгам: ОТКЛАДЫВАЙ!


Четвертый шаг к свободе и деньгам: ОТЛОЖЕННОЕ ИНВЕСТИРУЙ В АКТИВЫ!


Сейчас самое время еще глубже и детальней разобраться в понятии «бить клин». Наибольшая ясность возникнет, если мы обратимся к бухгалтерским азам. В основу понимания, как «бить клин», заложены вполне точные, всем известные бухгалтерские модели. Деньги «любят» бухгалтерию, потому как бухгалтерия – это наиболее простая и точная наука о деньгах. В свою очередь, большинство людей бухгалтерию недолюбливают, считая ее скучной и неинтересной. Для многих бухгалтерия – это «темный лес», сложная и не очень-то привлекательная профессия. На самом же деле, бухгалтерия – это просто, интересно и легко.

Думаю, что после прочтения этой главы боязнь бухгалтерии исчезнет раз и навсегда:), а осознание бухгалтерских азов сделает ясными и доступными шаги к свободе и деньгам – № 3 и № 4.

Бухгалтерские таблицы

Существуют две основные бухгалтерские таблицы:

1. Учетная

2. Балансовая


1. Таблица учетная

Иллюстрация к книге — Деньги [i_026.jpg]

Первой рассмотрим учетную таблицу, любимицу классического бухгалтера. Специалист-бухгалтер как таковой – человек учета. Он, как правило, не обладает личной силой умножать деньги, но любит за ними следить и учитывать их. Любимое размышление бухгалтера: «Как бы сократить расходы?». На любом совещании и при первой удобной возможности бухгалтер станет горячо убеждать: «Давайте будем меньше тратить! У нас слишком большие расходы».

Личная объективность представлений бухгалтера о том, что улучшение процессов в сфере денег связано с уменьшением затрат, основана на том, что взгляд бухгалтера почти всегда обращен в прошлое. Он анализирует то, что уже произошло на оси времени, сравнивая цифры и выявляя прибыль или убытки. Поэтому, с его точки зрения, чем меньше расходы, тем больше шансов на успех. Почему? Доход – не его специальность. Также учетная таблица – это еще и главный фокус налоговых служб: «Есть прибыль?:) Будьте добры, заплатите налоги! Нет прибыли? :( Будьте добры, все равно заплатите, уж больно есть хочется».


2. Таблица балансовая

Иллюстрация к книге — Деньги [i_027.jpg]

Актив – это то, что постоянно генерирует и приносит вам деньги.

Вход
Поиск по сайту
Ищем:
Календарь