Книга Интеллектуальная собственность в бизнесе: изобретение, товарный знак, ноу-хау, фирменный бренд..., страница 58 – Микаэл Дашян

Авторы: А Б В Г Д Е Ж З И Й К Л М Н О П Р С Т У Ф Х Ч Ш Ы Э Ю Я
Книги: А Б В Г Д Е Ж З И Й К Л М Н О П Р С Т У Ф Х Ц Ч Ш Щ Ы Э Ю Я
Бесплатная онлайн библиотека LoveRead.in

Онлайн книга «Интеллектуальная собственность в бизнесе: изобретение, товарный знак, ноу-хау, фирменный бренд...»

📃 Cтраница 58
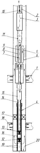
Иллюстрация к книге — Интеллектуальная собственность в бизнесе: изобретение, товарный знак, ноу-хау, фирменный бренд... [_54.jpg]

Рис. Устройство для добычи нефти из обводненного продуктивного пласта


Патент № 65563 на полезную модель «Клапанное устройство для освоения скважины» (патентообладатель: ОАО «Самара-нефтегаз»; приоритет от 7 февраля 2007 г.)

Извлечения из реферата изобретения

Клапанное устройство для освоения скважины, состоящее из корпуса с входными и выходными каналами, дополнительными радиальными каналами, упругого элемента в виде сильфона, установленного в верхней части корпуса и образующего с ним камеру, заполненную сжатым газом и оборудованную узлом зарядки, седла, размещенного в нижней части корпуса, штока, жестко связанного верхним концом с упругим элементом, а нижним с затвором, установленным под седлом, пропускным каналом для жидкости в нижнюю камеру, отличающееся тем, что оно снабжено пластиной с уплотнительным элементом, диаметр которой равен контактному диаметру затвора с седлом, жестко посаженной на штоке и перемещающейся в полости стакана, имеющего опорный бурт в нижней части и расположенного между затвором с покрытием из нефтестойкой резины и сильфоном, образующей две не связанные между собой камеры, обеспечивающей точную посадку затвора в седло и герметичное закрытие пропускного канала для жидкости.

Иллюстрация к книге — Интеллектуальная собственность в бизнесе: изобретение, товарный знак, ноу-хау, фирменный бренд... [_55.jpg]

Рис. Клапанное устройство для освоения скважины


ГЛАВА 19
СПОРТ

В ближайшие 7 (семь) лет на территории государств – стран СНГ пройдут два крупнейших спортивных соревнования Чемпионат Европы по футболу и Олимпиада. В этой связи вопросы охраны интеллектуальной собственности в сфере спорта становятся весьма актуальными. Особенно если отметить тот факт, что в этой сфере пока почему-то не наблюдается особой активности.

19.1
Патентование

Охрана интеллектуальной собственности – как промышленной собственности, так и авторских прав в сфере российского спорта находится, скажем корректно, в стадии становления. То есть основные «игроки» еще по большей мере, наверное, не заинтересовались тем, что в спорте интеллектуальный капитал тоже присутствует и может приносить прибыль.

Однако, по моему мнению, в ближайшие годы может произойти бум в данной области. Мы рискуем столкнуться с проблемой создания ажиотажа вокруг патентования любых усовершенствований олимпийских видов спорта. Приведем в качестве примера три, уже зарегистрированных в России патента:


Патент РФ № 2107532 на изобретение «Способ определения положения «вне игры» в футбольных матчах» (патентообладатель: Рыченков Ю.А., Барсукова Э.Г.; приоритет от 9 марта 2003 г.)

Формула изобретения

Способ определения положения «вне игры» в футбольных матчах, заключающийся в том, что фиксируют момент удара по мячу игроком нападающей команды в сторону ворот защищающейся команды и пространственное взаиморасположение игроков нападающей и защищающейся команд и подают сигнал арбитру футбольного матча в случае ситуации, соответствующей положению «вне игры» путем поднятия флажка одним из судей на линии, отличающийся тем, что обоих судей на линии оснащают малогабаритными приемопередатчиками, фиксирование момента удара по мячу игроком нападающей команды в сторону ворот защищающейся команды производят путем подачи вторым судьей на линии сигнала о моменте удара по мячу с помощью его приемопередатчика, настроенного в данный момент на режим «Передача», на приемопередатчик первого судьи на линии, настроенный на режим «Прием», а фиксирование взаиморасположения игроков производят в момент получения этого сигнала.


Патент РФ № 2258076 на изобретение «Способ временного разграничения регулирующих дистанций в спорте и применение пенящейся водной композиции» (патентообладатель: Шемикер Ду Бразил Продутус Аутомотивус Лтд. (Бразилия), Виларинью Диас Эйне Алемагне (Бразилия); приоритет от 30 марта 2001 г.)

Извлечения из описания изобретения

Цели изобретения

В спорте, например в футболе, существуют правила, ограничивающие дистанцию барьера («стенки»), образуемой игроками противоположной команды при приеме свободного удара. Такая «стенка» должна находиться на регулируемом расстоянии от мяча и не должна сдвигаться, сокращая данное расстояние. Поскольку судья матча, ограничивая дистанцию, не имеет точки отсчета, он практически не может проверить движение/приближение игроков, образующих «стенку», к мячу и, следовательно, не может применить нужные санкции.

Кроме того, необходимо отметить, что подобные ситуации являются спорными во всем мире и, поскольку отсутствует их общий контроль, многим командам наносится ущерб, и матч или соревнование теряет свою артистичность или талант, превращаясь в небрежность и удачу [156].

Ввиду данных проблем и с целью их преодоления была разработана пенящаяся водная композиция, подходящая для временной разметки и разграничения регулирующих дистанций на спортивных площадках и полях, применение которой ограничивается не только спортом, но она также может быть использована для нанесения сообщений и поздравлений на стенах, траве, деревьях, автомобилях, мостовых, асфальте как проявление свободы речи.

Извлечения из формулы изобретения

Способ временного разграничения регулирующих дистанций в спорте, заключающийся в том, что он включает стадию распыления на месте спортивной площадки или поля пенящейся водной композиции, содержащей в качестве активатора пены по меньшей мере одно неионное поверхностно-активное вещество, представляющее собой этоксилированные растительные масла, или амфотерное поверхностно-активное вещество, представляющее собой оксид алкилдиметиламина, и в качестве регулятора пены по меньшей мере одно амфотерное поверхностно-активное вещество, представляющее собой бетаины, в сочетании с по меньшей мере одним пропеллентом.


Патент РФ № 2060048 на изобретение «Способ формирования граничной линии для размещения игроков при выполнении штрафных и свободных ударов в спортивных играх»

(патентообладатель: Есаулов В.В.; приоритет от 20 мая 1993 г.)

Извлечения из описания изобретения

Предлагаемое изобретение позволяет установить «стенку» игроков на расстояние строго 9,15 м и, следовательно, повысить эффективность использования штрафных ударов.

Вход
Поиск по сайту
Ищем:
Календарь