Книга Бизнес-процессы. Моделирование, внедрение, управление, страница 10 – Владимир Репин

Авторы: А Б В Г Д Е Ж З И Й К Л М Н О П Р С Т У Ф Х Ч Ш Ы Э Ю Я
Книги: А Б В Г Д Е Ж З И Й К Л М Н О П Р С Т У Ф Х Ц Ч Ш Щ Ы Э Ю Я
Бесплатная онлайн библиотека LoveRead.in

Онлайн книга «Бизнес-процессы. Моделирование, внедрение, управление»

📃 Cтраница 10

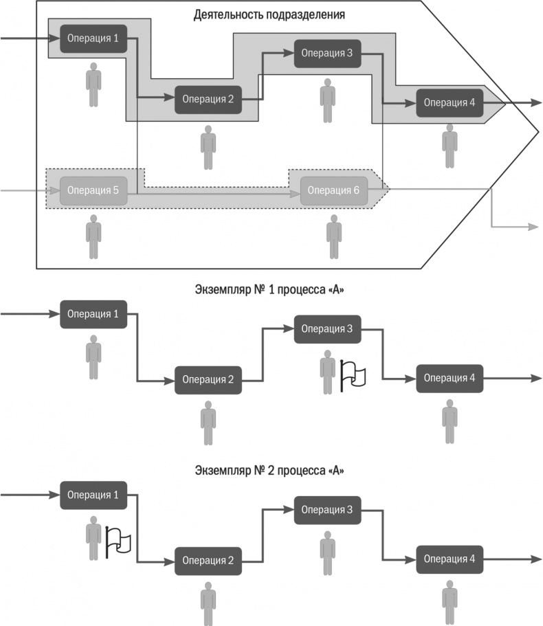
Рис. 1.2.5. Экземпляры процесса

Иллюстрация к книге — Бизнес-процессы. Моделирование, внедрение, управление [i_009.jpg]

Экземпляр процесса – деятельность по выполнению совокупности операций процесса, обеспечивающая получение единичного результата процесса [27].

За день бывает запущено и выполнено несколько экземпляров процесса. Если процесс автоматизирован, то его владелец может в течение рабочего дня оперативно отслеживать (проводить мониторинг) каждый экземпляр процесса, выявляя возникшие узкие места, проблемы и т. п. С точки зрения управления процессом в целом больший интерес представляют интегральные показатели оценки процесса (за день, неделю, месяц), а не результаты выполнения его отдельных экземпляров.

Оперировать понятием «экземпляр процесса» целесообразно только на уровне операционных процессов. Для более высокого уровня это понятие практически неприменимо.

Использование понятия «экземпляр процесса» является важным при автоматизации операционных процессов при помощи систем Work Flow, BPMS.

Обсудив некоторые подходы к классификации процессов, я введу такое важное понятие, как архитектура (система процессов) организации.

Архитектура (система процессов) – совокупность всех взаимосвязанных и взаимодействующих процессов организации.

На мой взгляд, внедрение процессного подхода возможно только в том случае, когда руководители научились видеть процессы, построили систему процессов организации.

С практической точки зрения система процессов может быть оформлена в виде таблицы, где представлены:

• процессы различных уровней (три – пять уровней в зависимости от размеров организации);

• участники процессов;

• владельцы процессов;

• границы процессов (по входам/выходам и событиям).


Подчеркну, что построение системы процессов не подразумевает их комплексного описания на всех уровнях в виде графических схем. Важно понять структуру процессов, их границы и взаимосвязи. На этапе построения системы процессов детальное описание и регламентация нецелесообразны. Подробно о методике построения системы процессов будет говориться в главе 3.

Постепенно, по ходу внедрения процессного подхода процессы из системы процессов могут быть описаны и занесены в электронный репозиторий процессов организации. Часто такой репозиторий называют комплексной моделью организации.

Модель – графическое, табличное, текстовое, символьное описание процесса либо их взаимосвязанная совокупность.

Моделирование (описание) процессов – отражение в виде модели субъективного ви́дения реально существующих в организации процессов.

Методика (формат, нотация) создания модели процесса – совокупность способов, при помощи которых объекты реального мира и связи между ними представляются в виде модели.

Сейчас термин «моделирование процессов» вполне устоялся, хотя по большей части в компаниях выполняют не реальное моделирование [28], а простое описание процессов. В книге термины «моделирование процессов» и «описание процессов» рассматриваются в качестве синонимов.

1.2.8. Показатели для управления процессом

Чтобы управлять процессами, нужны показатели. В рамках процессного подхода для каждого процесса определяется группа показателей, которые необходимы владельцу процесса для управления.

Показатель – количественный или качественный параметр, характеризующий объект управления.

Как правило, для каждого показателя определяют:

• наименование и код в системе показателей организации;

• перечень должностных лиц и организаций, получающих показатель в составе планов (отчетов);

• должность лица, ответственного за достижение целевого значения показателя;

• должность лица, ответственного за расчет показателя;

• периодичность расчета показателя и отчетный период;

• текстовое описание;

• единицу измерения;

• методику расчета;

• перечень документов, содержащих информацию, необходимую для расчета показателя;

• перечень плановых (отчетных) форм, включающих показатель.


Можно выделить три категории показателей, необходимых для управления процессами.

Показатель процесса – показатель, характеризующий процесс как объект управления.

Показатель выхода (продукта) процесса – показатель, характеризующий выход (продукт) процесса как объект управления.

Показатель удовлетворенности потребителя процесса – показатель, характеризующий степень удовлетворенности потребителя процесса выходом (продуктом) процесса.

На практике зачастую показатели могут относиться сразу к нескольким категориям. Это вполне нормально. Важна не формальная классификация (она только помогает выявить нужные показатели), а реальный набор показателей для управления.

Пример. Организация продает автозапчасти. За прошлый месяц было реализовано 200 амортизаторов для определенной модели автомашин. Объем продаж амортизаторов является показателем процесса. Какой же показатель в данном случае может характеризовать продукт? Например, доля амортизаторов (из числа реализованных за месяц), которые вышли из строя в течение трех месяцев с момента продажи [29]. На основе анализа данного показателя можно принять решение о соответствии цены эксплуатационным характеристикам товара, чтобы обеспечить удовлетворенность клиентов его качеством.

С точки зрения удовлетворенности клиентов полезно подсчитать количество рекламаций по качеству амортизаторов и других запчастей.

Качество результата процесса – степень соответствия результатов процесса требованиям и ожиданиям потребителей.

С точки зрения практики важны еще два определения:

Вход
Поиск по сайту
Ищем:
Календарь