Книга Головоломки профессора Головоломки: сборник загадок, фокусов и занимательных задач, страница 38 – Михаил Гершензон

Авторы: А Б В Г Д Е Ж З И Й К Л М Н О П Р С Т У Ф Х Ч Ш Ы Э Ю Я
Книги: А Б В Г Д Е Ж З И Й К Л М Н О П Р С Т У Ф Х Ц Ч Ш Щ Ы Э Ю Я
Бесплатная онлайн библиотека LoveRead.in

Онлайн книга «Головоломки профессора Головоломки: сборник загадок, фокусов и занимательных задач»

📃 Cтраница 38

Я забыл рассказать, что мы тут целыми днями с другими ребятами упражняемся в стрельбе из лука. И мишени рисуем все разные, как на ум взбредет.

Одну мишень выбрал я. Вот она, я приложил к ней записочку:

«Меня позвали на состязание в стрельбе из лука. Но я опоздал, пришел, когда уже все было кончено. Каждый выпустил по шесть стрел. Победил, конечно, Витя – он стреляет лучше, чем Таня и Семенов. Витя выбил 120 очков. Таня – 110 очков, а Семенов – 100 очков.

– Кто же куда попал? – спрашиваю я.

А Семенов говорит:

– Сам догадайся. Я тебе только скажу, что все стрелы попали в мишень, ни одна не пролетела мимо. И еще скажу, что в яблочко, в сорок, было лишь одно попадание.

– Как же я могу догадаться?

– А ты присмотрись к мишени получше и посчитай.

Иллюстрация к книге — Головоломки профессора Головоломки: сборник загадок, фокусов и занимательных задач [i_185.jpg]

Если в Москве жара спала, попробуйте, посчитайте, дорогой профессор Головоломка!»

Семенов выбрал другую мишень. Написал он совсем коротко:

«Пятеро стрелков стреляли в эту мишень. Каждый выбил ровно по 100 очков. Попадания, конечно, у всех были разные, то есть не сами попадания, а их комбинации. Кто куда попал?» Пришлось склеить большой конверт для наших мишеней, в обыкновенный не лезли.

Ответы

Голос в темноте

«Дорогой профессор Головоломка! Посылаем вам ответ на задачу про поезд с двумя паровозами. Мы теперь уже можем точно ответить, почему тягач и толкач не мешают друг другу. Поезд просто делится на две части: передние вагоны тащит тягач, и сцепка у них натянута, а задние вагоны толкает впереди себя толкач, и сцепка у них болтается.

Когда мы ехали в лагерь, рядом с нашим поездом как раз шел такой состав, и мы целый час следили, как разделяется поезд на две части. Сперва тягач вез 12 вагонов, а толкач толкал 10. Потом у тягача осталось только 9, а у толкача стало 13. Оказывается, один или даже несколько вагонов «сидят на двух стульях» – то пристанут к передней части поезда, то к задней. Семенов назвал эту часть поезда «нейтральной» и очень гордится, что придумал такое ученое слово».

Вскоре ребята получили большое письмо от профессора Головоломки. В этом письме он писал: «Здравствуйте, ребята! Ваш ответ на задачу про два паровоза я получил. Он совершенно правильный».

О канарейках и хитром шофере Вагон канареек

Вес герметически закрытого вагона, груженного канарейками, складывается из трех слагаемых: 1) вес вагона, 2) вес заключенного в нем воздуха, 3) вес заключенных в нем канареек. И каковы бы ни были перемещения внутри вагона, сумма этих трех слагаемых не изменится.

Грузовик в пустыне

Вот чертеж, который нарисовал Головоломка:

Иллюстрация к книге — Головоломки профессора Головоломки: сборник загадок, фокусов и занимательных задач [i_186.jpg]

Расстояние ABC равняется прямой ABD, значит, это кратчайший путь к воде и от воды к самолету. Если шофер был неглуп, он, конечно, выбрал точку В.

Логическая задача

– Вы обратили внимание, что в задаче с мелками есть одна неточность? – спросил Головоломка. – Шура догадался, что у него зеленая полоска, потому что ты, Семенов, не опустил руку сразу. А если бы ты опередил его и сам догадался, что у тебя зеленая полоска, что было бы тогда? Ты мгновенно опустил бы руку, и Шура решил бы, что у него белая полоска!

Ответ сразу

– А все равно, с кого из ребят начинать решение задачи? – спросила Альфа.

– Все равно, – сказал Головоломка. – Мы вот начали с Васи. А теперь попробуй начни с Коли.

Альфа стала рассуждать:

– Коля утверждает, что он пришел третьим. Допустим, что это верно. Тогда неверно, что Сережа пришел вторым, и неверно, что Надя пришла третьей. Зато верно, что Толя пришел последним. А он говорит, что пришел первым. Значит, это его утверждение ложное, и правда, что Надя пришла второй. Насчет Васи мы тоже знаем: если неверно, что первое место занял Коля, значит, верно, что Вася пришел четвертым. Остается Сережа – ему досталось первое место. Вот все и сошлось правильно.

«Моя сестра спешила в театр»

Только три чулка нужно было взять «моей сестре»: из трех два всегда окажутся одного цвета!

Конкурс

Кондуктор прошел всю длину поезда, значит, он прошел один километр. Но передвинулся он за это время из города А в город В, то есть на четыре километра. Значит, проехал он три километра.

Если бы кондуктор прошел километр вдоль состава по полотну и потом вскочил не на заднюю площадку, а на паровоз, ничего не изменилось бы в этой задаче. Только ее было бы слишком легко решить.

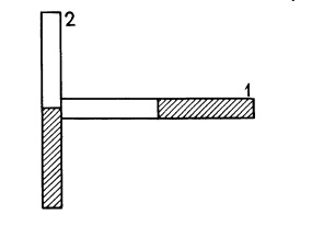
Простой брусок или магнит?

На середине магнита находится «безразличная линия». Если ты поднесешь к ней кусок железа, то не почувствуешь притяжения.

Иллюстрация к книге — Головоломки профессора Головоломки: сборник загадок, фокусов и занимательных задач [i_187.jpg]

Поднеси конец бруска 1 к середине бруска 2. Если не почувствуешь тяги, значит, брусок 2 – магнит. Почувствуешь тягу, значит, магнит – брусок 1.

Рассказ о «дне леса»

– Это которые же из вас будут «чапаевцы»? – спросил милиционер. – Которые вторыми пришли?

– Ну да.

– Значит, вы «кировцев» на шесть деревьев обогнали. Вот посчитайте. Скажем, в каждом ряду по двадцать деревьев. Вы, стало быть, «чапаевцы», в своем ряду посадили семнадцать липок да еще шесть у кировцев. Всего, значит, двадцать три.

А «кировцы» три посадили у вас, а у себя сколько? Двадцать без шести – четырнадцать. Четырнадцать да три – это будет семнадцать, стало быть, на шесть меньше. Так они ведь и сами, гляди, против вас какие маленькие! Как комар против мухи.

– А у нас ведь в ряду не двадцать, – говорит Костя, – у нас в ряду восемьдесят деревьев.

– Ну и что? – сказал милиционер. – Сколько б у вас ни было в ряду деревьев, все равно, если станешь считать, получится то же самое.

Семенову не понравился этот ответ. Он пустил в ход свою любимую алгебру.

– Обозначим число деревьев в каждом ряду буквой n.

«Чапаевцы» посадили в своем ряду n – 3 и в чужом ряду 6 деревьев.

Вход
Поиск по сайту
Ищем:
Календарь