Книга Заготавливаем птицу, мясо, рыбу. Копчение, консервирование, вяление, приготовление колбас, страница 2 – Анна Кобец

Авторы: А Б В Г Д Е Ж З И Й К Л М Н О П Р С Т У Ф Х Ч Ш Ы Э Ю Я
Книги: А Б В Г Д Е Ж З И Й К Л М Н О П Р С Т У Ф Х Ц Ч Ш Щ Ы Э Ю Я
Бесплатная онлайн библиотека LoveRead.in

Онлайн книга «Заготавливаем птицу, мясо, рыбу. Копчение, консервирование, вяление, приготовление колбас»

📃 Cтраница 2

Иногда на рынке продавцы выдают размороженное мясо за свежее. Распознать обман довольно легко: размороженное мясо все время сочится жидкостью, сок не прозрачный, а красного или даже вишневого цвета, консистенция тестоподобная, и при надавливании пальцем ямка не исчезает, так как после размораживания мясо полностью теряет упругость.

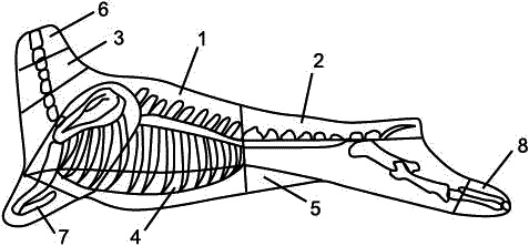
Перед тем как выбирать мясо для той или иной заготовки, так же следует определиться, какой именно деликатес будет готовиться, и соответственно взять необходимую часть мясной туши, поскольку плотность, жирность и жесткость мяса в разных частях туши разные. Для этого предлагаем познакомиться со стандартной схемой разделки говяжьей, свиной и бараньей полутуш (рис. 1–4).

Иллюстрация к книге — Заготавливаем птицу, мясо, рыбу. Копчение, консервирование, вяление, приготовление колбас [_04.jpg]

Рис. 1. Схема разрубки говяжьей полутуши:

1 – пашина; 2 – филейная часть; 3 – оковалок с щупом; 4 – голяшка; 5 – подбедерок; 6 – огузок; 7 – кострец; 8 – вырезка (обозначена пунктиром); 9 – шейная часть; 10 – рулька с голяшкой; 11 – лопатка; 12 – грудинка; 13 – челышко; 14 – толстый и тонкий край; 15 – подплечный край

Иллюстрация к книге — Заготавливаем птицу, мясо, рыбу. Копчение, консервирование, вяление, приготовление колбас [_05.jpg]

Рис. 2. Схема разрубки свиной полутуши со значительным отложением сала:

1 – шпик; 2 – лопатка; 3 – окорок; 4 – пашина; 5 – щечки; 6 – сосковая часть; 7 – шейка; 8 – корейка; 9 – ребрышки; 10 – хвостовые позвонки

Иллюстрация к книге — Заготавливаем птицу, мясо, рыбу. Копчение, консервирование, вяление, приготовление колбас [_06.jpg]

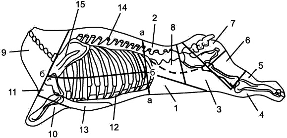
Рис. 3. Схема разделки свиной полутуши с незначительным отложением жира для посола и копчения:

1 – окорок; 2 – корейка; 3, 4 – грудинка; 5 – сосковая часть; 6 – лопатка; 7 – ребрышки; 8 – щечки; 9, 11 – шпик; 10 – позвонки; 12 – шейка; 13 – хвост; 14 – задние ножки; 15 – передние ножки; 16 – пашина; 17 – прирезь мяса с оставшейся в ней частью лопаточной кости и хрящом; 18 – хвостовые позвонки с прирезями мяса

Иллюстрация к книге — Заготавливаем птицу, мясо, рыбу. Копчение, консервирование, вяление, приготовление колбас [_07.jpg]

Рис. 4. Схема разрубки бараньей полутуши для посола:

1 – спинно-лопаточная часть; 2 – задняя часть; 3 – шея; 4 – грудинка; 5 – пашина; 6 – зарез; 7 – рулька; 8 – задняя голяшка

Выбор птицы для заготовок

Тушка птицы для копчения, вяления или консервирования обязательно должна быть свежей. Определить качество птицы можно по ряду простых признаков. Клюв курицы, утки или индейки должен быть глянцевый, сухой, упругий. При открывании в ротовой полости птицы не должно быть слизи, неприятного запаха. Она должна быть розового цвета, немного влажная и блестящая. Глазное яблоко заполняет всю орбиту.

Одним из важных показателей свежести является цвет кожи. В зависимости от вида он может быть беловато-желтый, бледно-желтый, с розовым оттенком, а если птица нежирная, оттенок может быть бледно-красным. После изучения кожи ее необходимо отвернуть и «исследовать» мясо. Оно должно быть плотным и упругим, светло-розовым у индеек и кур, красным – у гусей и уток. Поверхность мяса должна быть слегка влажная, но не липкая, запах – характерный для каждого вида птицы без оттенка кислоты или затхлости.

Если вам попалась тушка с тусклым клювом, сероватым оттенком слизистой рта, если там наблюдаются комки слизи, плесень, чувствуется затхлый запах – эту птицу покупать нельзя! Также стоит отказаться от покупки, если мясо потеряло упругость, в разрезе темнее, чем на поверхности, липкое и обладает кисловатым запахом. Лучше всего приобретать домашнюю непотрошеную птицу, тогда вы будете уверены в ее свежести и качестве. Потрошеные тушки недобросовестные продавцы могут «освежать» разными способами, а это пагубно отражается как на вкусе, так и на качестве готового продукта.

После покупки тушки птицы ее необходимо правильно разделать. Непотрошеную птицу рекомендуется разбирать в таком порядке:

● отрезать ноги до первого сустава и отрубить голову на уровне второго шейного позвонка;

● отрубить шею по последний шейный позвонок, предварительно прорезав кожу на спинке у основания шеи;

● у кур и цыплят отрезать кожу примерно с половины шеи, у гусей, уток и индеек – с ⅔ шеи;

● отрубить крылья по локтевой сустав, ножки – по пяточный (у небольших цыплят крылья можно оставить);

● разрезать брюшко посредине от конца грудной кости до анального отверстия и через разрез удалить зоб вместе с пищеводом, затем осторожно вынуть желудок, кишечник, легкие, сердце, почки, печенку, селезенку, яичник, яйцевод и семенники, а также жир.

При этом печенку следует вынимать с особой осторожностью, чтобы не повредить желчный пузырь. При потрошении необходимо следить за тем, чтобы содержимое кишок не соприкасалось с мясом, из-за чего последнее может быстро испортиться. Выпотрошенную тушку после очистки нужно тщательно прополоскать в холодной воде.

Выбор рыбы для заготовок

Для копчения и вяления единственный приемлемый вариант сырья – свежая рыба: живая или недавно выловленная (свежеснулая). Такую можно приобрести в супермаркете – ее выловят непосредственно из аквариума, на рынке – из цистерн с живой рыбой, можно выловить собственноручно непосредственно в водоеме либо, как вариант, купить у рыбаков. Главное – чтобы была возможность взять «добычу» за жабры и внимательно рассмотреть их. Жабры должны быть блестящими, яркими, красными или ярко-розовыми. Очень светлые или сероватые могут быть у дохлой или размороженной рыбы, а этот вариант для копчения категорически не годится.

Если рыба уже уснула, то вопрос со свежестью решается и другим способом – нужно бросить тушку в воду. Если она сразу утонула – значит, свежая; если всплыла – нельзя покупать ни в коем случае. Когда под рукой нет емкости с водой, для проверки рыбы на свежесть рекомендуется использовать другие методы.

Вход
Поиск по сайту
Ищем:
Календарь