Книга Заготавливаем птицу, мясо, рыбу. Копчение, консервирование, вяление, приготовление колбас, страница 15 – Анна Кобец

Авторы: А Б В Г Д Е Ж З И Й К Л М Н О П Р С Т У Ф Х Ч Ш Ы Э Ю Я
Книги: А Б В Г Д Е Ж З И Й К Л М Н О П Р С Т У Ф Х Ц Ч Ш Щ Ы Э Ю Я
Бесплатная онлайн библиотека LoveRead.in

Онлайн книга «Заготавливаем птицу, мясо, рыбу. Копчение, консервирование, вяление, приготовление колбас»

📃 Cтраница 15
Иллюстрация к книге — Заготавливаем птицу, мясо, рыбу. Копчение, консервирование, вяление, приготовление колбас [_23.jpg]

Рис. 20. Установка для холодного копчения на кухонной газовой плите:

а – общий вид; б – вид отводящей копоть трубы сбоку; 1 – подставка-стол; 2 – коптильная камера; 3 – труба; 4 – натрубник; 5 – заслонка; 6 – дымовод с охладителем; 7 – печка; 8 – миска с водой


Чтобы изготовить такую коптильню, необходимо заранее запастись материалом (жестью от консервных банок, листовым оргстеклом, дюралюминием, пластиком, металлическими и резиновыми трубками), а также инструментами.

В полном сборе конструкция включает стол, который устанавливается возле газовой плиты; коптильную камеру, расположенную на подставке; трубу, выходящую из камеры, со специальным натрубником с заслонкой. Труба обеспечивает отвод дыма в форточку или вентиляционное отверстие. Также понадобится соорудить дымовод с охладителем, который будет подавать дым в камеру.

Металлическая емкость, наполненная опилками, устанавливается над газовой горелкой. Образующийся при тлении дым проходит через охладитель и поступает в коптильную камеру, где размещены продукты. Дым коптит рыбу, колбасы или другие заготовки, а потом выходит через трубу, соединенную с вентиляционным отверстием кухни. Таков общий принцип работы конструкции.

Для изготовления коптильной камеры подойдет любая емкость нужного объема. Если ее нет, можно самостоятельно изготовить ящик или цилиндр из металла, например дюралюминия, железа или оргстекла. Обязательно нужно сделать плотную крышку на камеру и снабдить ее ручкой, чтобы было удобно открывать и закрывать емкость. При соединении элементов домашней коптильни можно использовать сварку, нетоксичный клей, заклепки, винты. Необходимо заранее подумать, как в камере будут устанавливаться шесты с продуктами, и предварительно прикрепить планку с отверстиями для подвешивания или припаять специальные опоры.

На дно камеры для увлажнения воздуха ставят миску с водой. Это делается для того, чтобы рыба во время копчения сильно не усыхала. Под рыбой необходимо поставить поддон, в который будет стекать жир.

Для «печки», в которой будут тлеть опилки, подойдет любая металлическая емкость: жестяная банка, небольшой бак, старая кастрюля. Самое уязвимое место этого элемента конструкции – дно: поскольку оно быстро прогорает, то лучше его сделать из нержавеющей стали толщиной около 1 мм. В днище необходимо просверлить 4–5 отверстий диаметром 2 мм, которые во время работы регулярно прочищают проволокой. Накрыть емкость можно керамической плиткой. Такая «крышка» понадобится, чтобы регулировать подачу воздуха для постоянного тления опилок. Крышка должна плотно прилегать к краям емкости, чтобы при полном накрывании тление затухало без доступа воздуха.

Дымовод с охладителем – важный элемент устройства, одновременно приводящий дым в нужное температурное состояние и проводящий его в камеру.

Если расстояние от очага с опилками до камеры достаточно большое, то дополнительное охлаждение не понадобится – дым сам остынет в трубе. Однако на небольшой кухне дымовод такой длины сделать не всегда возможно. Один из вариантов – изогнутая конструкция дымовода, однако у нее есть минус: ее будет трудно чистить. Второй вариант – обматывать дымовод мокрой холодной тряпкой или периодически поливать водой, но это неудобно, поскольку постоянно требует вашего присутствия на кухне в течение всего процесса, а он может длиться до 10 ч. Поэтому третий вариант – создание дымовода с охладителем – наиболее оптимальный (рис. 21).

Иллюстрация к книге — Заготавливаем птицу, мясо, рыбу. Копчение, консервирование, вяление, приготовление колбас [_24.jpg]

Рис. 21. Устройство дымовода с охладителем:

1 – внутренний короб; 2 – наружный короб; 3 – резиновые трубки (подающая воду из водопровода и отводящая ее в канализацию); 4 – перемычка для жесткости


Он представляет собой два металлических короба: внутренний и наружный. Для их изготовления лучше всего использовать листовую латунь или нержавейку. Сваривать стенки нужно тщательно, так как между коробами будет циркулировать вода, да и утечки дыма нежелательны. Во внутренний короб поступает дым, а между ним и наружным коробом циркулирует холодная вода, снижая температуру дыма. Затем через резиновую трубку охлажденный дым поступает в коптильню.

Когда дым обработает продукты, он вытекает через трубу в вентиляционное отверстие. Для отвода дыма используется труба с натрубником, на котором предусмотрена заслонка, с помощью которой можно регулировать тягу. Изготовить и саму трубу, и натрубник можно из металла или пластика, поскольку этот дым уже не горячий и не взаимодействует с продуктами.

Подвешивание и подпетливание продуктов для копчения

Для подвешивания и подпетливания продуктов во время просушки или копчения опытные коптильщики советуют приобрести хлопковый или льняной шпагат, который представляет собой плотно скрученный жгут из натуральных волокон. Он, как говорят профессионалы, должен обладать высокой линейной плотностью (чем она больше, тем более тяжелый продукт можно на него подвесить). Также при покупке в специализированном магазине или на сайте стоит поинтересоваться удельной разрывной нагрузкой одной нити (13,0 г с/текс – средний показатель), коэффициентом вариации по разрывной нагрузке при испытании одиночной нити (норма – около 6 %) и коэффициентом крутки. Проще говоря, шпагат или веревка должны быть прочными, хорошо держать вес, переносить перекручивание и не раскисать при влажности. Покупной хлопковый шпагат перед использованием рекомендуют окунуть на 2–3 мин в воду – от этого возрастает его прочность и эластичность.

Использовать для подпетливания и обвязки копченостей можно и тонкую пеньковую веревку, которая также должна быть достаточно прочной. Для подвешивания больших тяжелых кусков шпагат или веревку следует складывать в 5–6 раз, а для небольшой рыбы, кусков мяса, птицы, сала достаточно сложить веревку в 2–3 раза.

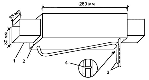
Чтобы подпетлить окорок, половинку кролика, курицы, индейки, в ножке необходимо сделать сквозной разрез между сухожилиями возле сустава, продеть в разрез сложенную вдвое веревку, а петлю накинуть на ножку. После этого натягивают концы веревки так, чтобы петля зафиксировалась на ножке, и связывают их узлом (рис. 22).

Иллюстрация к книге — Заготавливаем птицу, мясо, рыбу. Копчение, консервирование, вяление, приготовление колбас [_25.jpg]

Рис. 22. Подпетливание окороков:

Вход
Поиск по сайту
Ищем:
Календарь