Книга Самогонный аппарат. Рецепты, страница 7 – Юлиан Гайдук

Авторы: А Б В Г Д Е Ж З И Й К Л М Н О П Р С Т У Ф Х Ч Ш Ы Э Ю Я
Книги: А Б В Г Д Е Ж З И Й К Л М Н О П Р С Т У Ф Х Ц Ч Ш Щ Ы Э Ю Я
Бесплатная онлайн библиотека LoveRead.in

Онлайн книга «Самогонный аппарат. Рецепты»

📃 Cтраница 7

Наиболее важно соблюдение режима перегонки в интервале, соответствующем переходу от точки 1 к точке 2. На этом этапе нужно снизить интенсивность нагрева, чтобы вблизи точки 2 кипение стало едва заметным. В противном случае может произойти выброс браги.

Критическая точка 2 соответствует началу основного процесса перегонки браги, в результате которого получают питьевой самогон.

В этом промежутке необходим медленный нагрев, чтобы конденсат выделялся тонкой струйкой или даже быстрыми каплями (при малом объеме аппарата) – и самогон будет предельно чистым.

Поскольку в процессе перегонки концентрация спирта в смеси понижается, происходит непроизвольное повышение температуры кипения спиртосодержащей смеси (браги) – и условия перегонки ухудшаются. Необходимо нагревом регулировать скорость получения самогона, которая должна оставаться постоянной во всем температурном интервале 78–83 °C. Этот температурный интервал соответствует кипению водно-спиртовых смесей с минимальным содержанием примесей, то есть питьевому самогону.

В точке 3 содержание этилового спирта в браге минимально. Чтобы извлечь эти остатки, нужно повысить температуру кипения браги, а это, в свою очередь, приведет к началу кипения тяжелых примесей, сивушных масел, значительно ухудшающих качество самогона. Температура начала интенсивного выделения сивушных масел соответствует точке 3 и составляет t = 85 °C. Конденсат, полученный при температуре кипения выше 85 °C, называется хвостовой фракцией или «хвостами». Такой самогон, как и первач, годится только для технических целей.

Если задача заключается в получении только питьевого самогона, то в точке 3 перегонку следует прекратить. Без термометра эту точку приблизительно можно определить с помощью бумаги, смоченной в самогоне, поступающем в данный момент из холодильника в приемник. Если бумага вспыхивает синим огнем, перегонку можно продолжить. Прекращение загорания свидетельствует о том, что этилового спирта в конденсате уже очень мало, а сивушных масел много. В этом случае нужно или прекратить перегонку, или собирать дистиллят в отдельную емкость для переработки со следующей партией браги.

В табл. 1.4 приведены температуры кипения основных примесей, содержащихся в самогоне.


Таблица 1.4. Температура кипения основных примесей самогона (спирта-сырца)

Иллюстрация к книге — Самогонный аппарат. Рецепты [i_008.jpg]

Если самогон, он же спирт-сырец, в дальнейшем предназначен для ректификации, то отделением «голов» и «хвостов» можно пренебречь, в этом случае смешивают в отбор весь погон.

Готовый к употреблению самогон прозрачен. Если отгон начинает мутнеть (муть – эмульсия сивушных масел), его следует собирать в отдельную емкость. Мутный самогон можно перегнать еще раз.

Чтобы предотвратить распространение по помещению неприятного запаха, самогон (спирт-сырец) необходимо сливать в закрытую емкость. Подойдет трехлитровая банка с крышкой, в которой проделано отверстие для сливной трубки.

Конструирование самогонных аппаратов

Конструкция (прежде всего исправность) перегонного аппарата может влиять или не влиять на качество исходного продукта, а вот на выход спирта правильность конструкции влияет однозначно.

В наше время известно немало конструкций самогонных аппаратов, но, несмотря на это, изобретательский процесс продолжается. Поэтому выбор самогонного аппарата представляет некоторую сложность.

Ниже продемонстрированы несколько базовых конструкций, на основе которых созданы распространенные модели самогонных аппаратов.

На рис. 1.3 представлена схема простого аппарата изотермической перегонки.

Иллюстрация к книге — Самогонный аппарат. Рецепты [i_009.jpg]

Рис. 1.3. Схема самогонного аппарата изотермической перегонки: 1 – холодная вода; 2 – таз; 3 – приемник конденсата (самогона); 4 – самогон; 5 – испаритель; 6 – брага; 7 – источник тепла


Принцип работы аппарата, изображенного на рис. 1.3, заключается в следующем: при нагревании браги пары спирта поднимаются вверх и, соприкасаясь с холодным дном таза, конденсируются, после чего стекают в сборник самогона.

На рис. 1.4 представлен усовершенствованный вариант изотермической конструкции. Такой аппарат дает немного больший выход спирта, но менее удобен в эксплуатации из-за необходимости время от времени снимать таз с водой для опорожнения приемника самогона.

Иллюстрация к книге — Самогонный аппарат. Рецепты [i_010.jpg]

Рис. 1.4. Схема усовершенствованного самогонного аппарата изотермической перегонки: 1 – холодильник (таз с водой);2 – приемник конденсата (самогона); 3 – испаритель;4 – брага; 5 – нагреватель


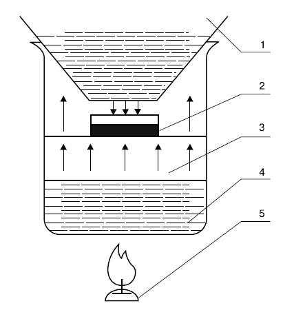
На рис. 1.5 также представлена конструкция самогонного аппарата изотермической перегонки. В отличие от двух предыдущих аппарат дополнительно оборудован воронкой и отводной трубкой. За счет этого приемная емкость (сборник самогона) вынесена за пределы испарителя.

Иллюстрация к книге — Самогонный аппарат. Рецепты [i_011.jpg]

Рис. 1.5. Схема усовершенствованного самогонного аппарата изотермической перегонки: 1 – холодильник; 2 – приемная воронка; 3 – испаритель; 4 – приемник конденсата (самогона)


Воронку устанавливают на проволочную корзину или на треножник, который помещают на дно емкости. Чтобы предотвратить возможный взрыв, стыки между холодильником-воронкой и кубовой емкостью промазывают слоем теста или другим воздухопроницаемым герметиком (когда используют тесто, в помещении стоит не специфический запах сивушных масел, а аромат свежего хлеба).

На рис. 1.6 изображен перегонный аппарат, собранный из химической посуды. Он позволяет вести перегонку при различных температурах. Конструкция отличается компактностью, но низкой производительностью. Аппарат удобен для перегонки небольших количеств браги (0,5–1 л). Как и в «больших» аппаратах, перегонную колбу заполняют не более чем 2/3 объема, а для равномерности кипения в нее помещают мелкие кусочки керамики.

Иллюстрация к книге — Самогонный аппарат. Рецепты [i_012.jpg]

Рис. 1.6. Схема перегонного аппарата из химической посуды:1 – infnbd; 2 – асбестное сито; 3 – колба с пробками, плотно закрепленными в горловинах; 4 – термометр;5 – кран; 6 —трубка; 7 – прямой холодильник; 8 – алонж


На рис. 1.7 представлена схема аппарата, аналогичная предыдущей. Перегонный куб (колба) погружен в емкость с водой – водяная баня. Каплеулавливатель возвращает крупные капли в куб, пропуская лишь пар, что повышает концентрацию сиропа и увеличивает крепость конденсата. Куски керамики в колбе обеспечивают равномерность кипения.

Вход
Поиск по сайту
Ищем:
Календарь