Книга Секреты раннего урожая. Все о парниках, теплицах и подготовке семян, страница 16 – Наталия Костина-Кассанелли

Авторы: А Б В Г Д Е Ж З И Й К Л М Н О П Р С Т У Ф Х Ч Ш Ы Э Ю Я
Книги: А Б В Г Д Е Ж З И Й К Л М Н О П Р С Т У Ф Х Ц Ч Ш Щ Ы Э Ю Я
Бесплатная онлайн библиотека LoveRead.in

Онлайн книга «Секреты раннего урожая. Все о парниках, теплицах и подготовке семян»

📃 Cтраница 16

Вам понадобится:

– шланг или капельная лента (эмиттерная, компенсированная) с шагом эмиттеров 30 см и заявленным расходом воды 3,8 л/ч;

– водопроводная полиэтиленовая труба диаметром 32 мм – по ширине теплицы;

– пластиковая емкость для воды;

– фитинги для соединения отдельных частей полиэтиленовой трубы (количество определяем по месту);

– один штуцер с наружной резьбой на ¾ дюйма для врезки в бочку с водой (если есть необходимость);

– один кран с присоединительной внутренней резьбой на ¾ дюйма;

– одна футорка (вид соединения, позволяющий перейти с внешней на внутреннюю резьбу) H¾ × B1;

– простейший фильтр;

– муфта под ПЭ-шланг с внешней резьбой;

– нужное количество прорезиненных штуцеров для подсоединения капельной ленты, либо краны с резиновым уплотнителем, если есть необходимость отключать отдельные линии полива.

Это важно! Трубы для магистрального водопровода выбирайте пластиковые. Они стоят дешевле, легкие и не ржавеют. По ним можно без ограничений подавать к месту полива растворенные в воде удобрения. Для достижения полной автоматизации системы капельного полива используйте электрические контроллеры с питанием от автономных батареек.

Совет. При отсутствии водопровода самое экономичное решение – установка на возвышении 1,5–2 м наполняемой емкости для воды. Укрывайте воду в открытой емкости от воздействия прямых солнечных лучей.

Шаг 1

Начертите план теплицы, укажите на нем нуждающиеся в капельном поливе грядки и отдельные растения. Продумайте и укажите на плане размещение трубопроводов, капельных шлангов и отдельных капельниц, запорной арматуры (рис. 33). Определите место установки бака. Учтите, что расход воды и соответственно скорость полива зависит от давления в системе. Например, эмиттерная лента, о которой говорилось выше, позволяет расходовать 3,9 л/ч, но это показатель соответствует давлению в 1 бар. Если вы поднимите бочку на высоту в 1 м, то в системе возникнет давление всего в 0,1 бар. Его, разумеется, достаточно, чтобы процесс полива начался, однако воды расходоваться будет в три раза меньше, всего 1,2–1,3 л/ч. Иногда такая медленная скорость полива даже полезна, например, если вам нужно отлучиться на 2–3 дня в жаркую погоду. В этом случае система будет медленно, но постоянно подпитывать растения.

Иллюстрация к книге — Секреты раннего урожая. Все о парниках, теплицах и подготовке семян [i_033.jpg]

Рис. 33. Схема устройства капельного полива в теплице: 1 – емкость для воды; 2 – кран подачи воды; 3 – водяной фильтр; 4 – старт-коннектор; 5 – концевая заглушка; 6 – капельный шланг


Шаг 2

Сделайте врезку в емкость (если таковой нет). Ее нужно делать, отступив от уровня дна на 5–10 см. Какой бы чистой не была вода, мусор (песок, окалина) все равно будет в ней присутствовать – но благодаря этой предосторожности он будет скапливаться на дне и не сможет попасть в систему.


Шаг 3

Подсоединив кран к бочке, установите фильтр и переходник на ПЭ-трубу.


Шаг 4

Проложите ПЭ-трубу перпендикулярно грядкам. На конце ее можно заглушить либо установить кран для промывки системы.


Шаг 5

Напротив каждой полосы полива просверлите отверстие под установку штуцера (соединителя).


Шаг 6

Установив все соединители, подключите к ним эмиттерную ленту или шланги для капельного полива с просверленными в них дырочками.

Это важно! Монтаж оборудования начинайте после формирования грядок. Трубы и шланги допустимо укладывать непосредственно на грунт, подвешивать на опорах или закапывать в землю. Укладка на грунт – самый простой и экономичный способ. Покупайте непрозрачные трубы и шланги, что предотвратит цветение воды. Для заглубленных трубопроводов используйте изделия с толстыми стенками. Обязательно используйте фильтры тонкой очистки воды в системе капельного полива, что уменьшит вероятность засорения капельниц и капельных шлангов.

Шаг 7

Заглушите шланг или ленту капельного полива на конце. В случае использования ленты это делается очень просто: отрезав под кольцо кусочек ленты шириной 1 см, несколько раз сложите конец ленты и наденьте на него кольцо.


Шаг 8

Приступаем к поливу! Перед первым поливом обязательно промойте всю систему. Для этого снимите концевые заглушки и пропускайте воду до тех пор, пока отовсюду не будет течь чистая вода.


Советы по эксплуатации системы капельного полива:

1. Очищайте фильтр от накопившегося мусора как минимум раз в неделю.

2. Удобрения можно вносить прямо через систему, однако они должны быть жидкими или хорошо растворимыми в воде. После их использования обязательно заполните бак чистой водой и включите систему на полив хотя бы на 5–10 минут, чтобы промыть ее.

3. Если у вас весенняя теплица, то осенью разберите систему, промойте, просушите и аккуратно сложите – при таком обращении она прослужит вам не один год.

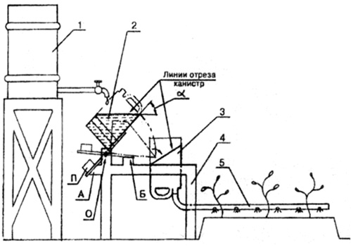
Эконом-вариант системы капельного полива

В небольших теплицах хорошо себя показал очень дешевый вариант самодельной системы капельного полива (рис. 34), который предельно прост в конструкции и который можно быстро собрать своими руками, затратив минимум средств.

Иллюстрация к книге — Секреты раннего урожая. Все о парниках, теплицах и подготовке семян [i_034.jpg]

Рис. 34. Эконом-вариант системы капельного полива: 1 – бочка с вентилем для воды; 2 – накопитель; 3 – воронка; 4– основание; 5 – наливная труба; А, Б – упоры; О – ось; П – противовес


Совет. В эконом-системе капельного полива в качестве емкости-накопителя и воронки удобнее всего использовать пятилитровые пластиковые канистры.

Шаг 1

Верх канистры срежьте под углом.


Шаг 2

Емкость-накопитель установите под углом, примотайте его клейкой лентой к деревянной планке.


Шаг 3

С противоположной стороны к данной планке прикрепите противовес (П). Так обеспечивается поворот накопителя по оси (0) между двумя упорами (А и Б), закрепленными на основании.

Вход
Поиск по сайту
Ищем:
Календарь