Книга Мужская одежда. Технология пошива, страница 55 – Наталия Волкова

Авторы: А Б В Г Д Е Ж З И Й К Л М Н О П Р С Т У Ф Х Ч Ш Ы Э Ю Я
Книги: А Б В Г Д Е Ж З И Й К Л М Н О П Р С Т У Ф Х Ц Ч Ш Щ Ы Э Ю Я
Бесплатная онлайн библиотека LoveRead.in

Онлайн книга «Мужская одежда. Технология пошива»

📃 Cтраница 55

Шов вподгибку с закрытым срезом применяется для подшивания низа несложных изделий или подкладки.

Порядок выполнения этого шва поясняет рис. 176. Обрезной край изделия или детали подгибают на изнаночную сторону на 0,7-1 см и приутюживают (рис. 176, а), после чего весь припуск на подшивку низа перегибают на изнаночную сторону и закрепляют машинной строчкой у самого сгиба (рис. 176, б). Ширина внешнего подгиба шва определяется назначением изделия и берется обычно в пределах 2-5 см.

Иллюстрация к книге — Мужская одежда. Технология пошива [i_198.jpg]

Рис. 176. Шов вподгибку с закрытым срезом


Разновидностью шва вподгибку с закрытым срезом является застрачивание края детали двойной машинной строчкой. Такой шов (рис. 177) дает возможность получить узкий подгиб (рубчик).

Иллюстрация к книге — Мужская одежда. Технология пошива [i_199.jpg]

Рис. 177. Шов вподгибку с двойной строчкой


Выполняя этот шов, припуск на его ширину подгибают на изнаночную сторону детали, у сгиба (на расстоянии 0,15-0,2 см) застрачивают и излишек срезают почти у самой строчки (рис. 177, а). Застроченный край еще раз перегибают наизнанку на 0,2-0,3 см, после чего в три слоя ткани скрепляют второй машинной строчкой, прокладывая ее рядом с первой (рис. 177, б).

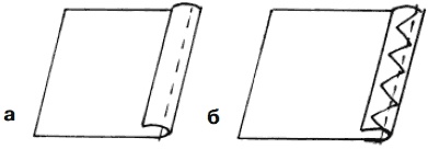
Шов вподгибку с открытым срезом применяют при обработке внутренних краев подбортов и всевозможных обтачек (горловина, рукав и другие детали). Как видно из рис. 178, в этом варианте припуск на шов 0,75 см подгибают на изнаночную сторону детали и застрачивают на расстоянии 0,2 см от сгиба. В некоторых случаях, например, при обработке краев отлетной подкладки, шов вподгибку с открытым срезом выполняют зигзагообразной строчкой.

Иллюстрация к книге — Мужская одежда. Технология пошива [i_200.jpg]

Рис. 178. Шов вподгибку с открытым срезом


При этом край детали перегибают на изнаночную сторону и по сгибу прокладывают зигзагообразную строчку шириной 0,15-0,25 см, а излишек запаса почти до самой строчки срезают (рис. 178, б).

Окантовочный шов с закрытым срезом используют при обработке срезов горловин, пройм, низков рукавов и различных отделочных деталей.

Для обработки срезов окантовочным швом из основной или отделочной ткани выкраивают полоску под углом 45 или 90° к направлению нитей основы. Ширина полоски зависит от выбранной ширины окантовки, которая в готовом виде не должна превышать 1,2 см. Если, например, принять ширину окантовочного шва за 0,75 см, то ширина заготовляемой полоски с учетом припусков на шов должна быть равна 0,75x3 плюс 0,25 на огибание срезов и перекрытие шва притачивания, то есть (0,75x3) + 0,25 = 2,5 см. Поскольку полоску для окантовочного шва обычно складывают вдвое, полная ширина ее в раскроенном виде в нашем примере будет равна 5 см.

Выкроенную полоску складывают по длине изнаночной стороной внутрь, приутюживают (рис. 179, а), накладывают на лицевую сторону основной детали и, уравнивая срезы, приметывают и притачивают швом принятой ширины (рис. 179, б). Затем полоску отворачивают в сторону срезов и, обогнув их, закрепляют на изнанке, для чего с лицевой стороны у самого сгиба полоски прокладывают вторую машинную строчку рядом со швом притачивания (рис. 179, в).

Иллюстрация к книге — Мужская одежда. Технология пошива [i_201.jpg]

Рис. 179. Окантовочный шов с закрытым срезом


Окантовочный шов с открытым срезом (рис. 180, а, б) используют главным образом для обработки срезов таких деталей, которые впоследующем стачиваются с другими деталями или настрачиваются а них (кокеток, лифа с пониженной талией, накладных карманов и др.).

Иллюстрация к книге — Мужская одежда. Технология пошива [i_202.jpg]

Рис. 180. Окантовочный шов с открытым срезом


Для выполнения этого шва выкраивают полоску ткани, но, в отличие от шва с закрытым срезом, ее делают одинарной и ширину принимают равной утроенной ширине окантовки плюс 1,5 см. Все дальнейшие операции выполняются так же, как указано выше (см. «Окантовочный шов с закрытым срезом»).

Окантовочный шов с тесьмой имеет то же значение, что и шов с закрытым срезом, и отличается тем, что вместо полоски здесь используется готовая тесьма. Тесьмой огибают срезы деталей (одной или двух, предварительно сметанных) и наметывают так, чтобы по обе стороны от сгиба ширина тесьмы была одинакова. В таком положении прокладывают машинную строчку, которая захватывает оба края тесьмы (рис. 180, в).

Терминология

В швейном ремесле применяются специальные условные наименования, определяющие те или иные виды и приемы работ, а также названия отдельных деталей. Многие из этих наименований использованы в этой книге. Ниже приводятся краткие объяснения наиболее употребительных терминов, которые должен знать каждый, кто занимается шитьем.

Ручные работы

Вметать – временно соединить две детали сметочными стежками по вогнутым и выпуклым линиям (например, вметать воротник в горловину, рукав в пройму).

Вспушить – закрепить края деталей потайными стежками между собой.

Заметать – временно закрепить подогнутый край детали или изделия сметочными стежками (например, заметать низ юбки, платья, жакета, рукава и т. п.).

Наметать – временно соединить две детали сметочными стежками в том случае, когда одна деталь, как правило, с подогнутым краем, накладывается на другую (например, кокетка на спинку или полочку, карман или отделочная планка на полочку и т. п.).

Подшить – закрепить подогнутый край изделия или детали потайными подшивочными стежками (например, подшить низ платья, юбки, рукава и т. д.).

Приметать – временно прикрепить мелкую деталь к основной сметочными стежками (например, приметать надставки к подбортам, клапаны к полочкам и т. п.).

Пришить – прикрепить к изделию фурнитуру, отделку или украшение (например, пришить пуговицы, крючки, кнопки, аппликации и др.).

Сметать – временно соединить две или несколько деталей сметочными стежками (например, сметать боковые, плечевые или другие срезы деталей).

Машинные работы

Втачать – соединить стачным швом две детали по гнутым и выпуклым срезам (например, втачать рукав в пройму, воротник в горловину).

Застрочить – закрепить машинной строчкой припуск на шов или подогнутый край детали (например, застрочить низ изделия, внутренний край подборта, обтачки и т. п.).

Вход
Поиск по сайту
Ищем:
Календарь