Книга Мужская одежда. Технология пошива, страница 36 – Наталия Волкова

Авторы: А Б В Г Д Е Ж З И Й К Л М Н О П Р С Т У Ф Х Ч Ш Ы Э Ю Я
Книги: А Б В Г Д Е Ж З И Й К Л М Н О П Р С Т У Ф Х Ц Ч Ш Щ Ы Э Ю Я
Бесплатная онлайн библиотека LoveRead.in

Онлайн книга «Мужская одежда. Технология пошива»

📃 Cтраница 36

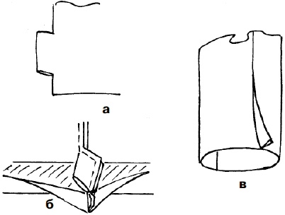
Локтевые швы рукавов увлажняют и разутюживают до плотного прилегания срезов, при этом шлицу заутюживают в сторону верхней части рукава. Шов стачивания шлицы пришивают ручным способом. Частота стежков при пришивании к прокладке 2 в 1 см, к припуску на подгиб низа – 5-6 в 1 см.

В плащах из тонких тканей припуском на подгиб со стороны нижней половинки огибают срез шва стачивания шлицы и подшивают потайными подшивочными стежками. Частота стежков 4-5 в 1 см.

Можно обработать шлицы полностью машинным способом. Со стороны верхних частей рукавов отгибают на лицевую сторону, складывают пополам и обтачивают нижние углы шлиц (рис. 101, а), оставляя припуск на шов стачивания боковых сторон шлиц 0,5 см. Ширина шва обтачивания равна 0,5 см.

Иллюстрация к книге — Мужская одежда. Технология пошива [i_115.jpg]

Рис. 101. Обработка отлетной шлицы


После обтачивания нижних уголков шлиц верхнюю и нижнюю части рукавов складывают лицевыми сторонами внутрь и соединяют локтевые срезы. Одновременно соединяют верхние и боковые стороны шлицы (рис. 101, б). Припуски швов в верхних и нижних углах шлиц надсекают под углом со стороны нижних частей рукавов. Нижние стороны шлиц выворачивают, уголки выправляют с помощью линейки.

Локтевые швы разутюживают, шлицы заутюживают в сторону верхних частей рукавов. Низ рукавов перегибают по намеченным линиям, заметывают и приутюживают (рис. 101, в).

Соединение рукава с проймой

Перед вметыванием рукава в пройму лифа на нем должны быть обработаны вытачка, шов и низ.

Соединение рукава с проймой – сложная операция, от качества которой в значительной степени зависит внешний вид изделия. Выполнение ее облегчают контрольные метки на пройме лифа и окате рукава, которые проставляются во время раскроя на основании чертежа или выкройки.

Обычно для правильного соединения рукава с лифом намечают две контрольные метки: первая проставляется на окате и определяет место соединения рукава с плечевым швом; вторая намечается на пройме и показывает место соединения ее с передним швом рукава. При вметывании рукава в пройму эти точки обязательно совмещают. Вместе с тем во время примерки может несколько измениться положение рукава в пройме. В этом случае контрольные точки смещают и намечают заново.

Чтобы рукав хорошо «сидел» на фигуре, при вметывании в пройму его несколько припосаживают по окату, то есть собирают в легкую сборку. Посадку предусматривают и рассчитывают заблаговременно, еще при изготовлении чертежа выкройки рукава.

Посадка распределяется не обязательно по всей длине оката. Так, в нижней части проймы рукав обычно вметывают почти без посадки, а весь излишек ткани равномерно распределяют по остальной части оката, главным образом на боковых участках.

Практически соединение рукава с лифом выполняется следующим образом. На заготовленном рукаве по окату намечают участок минимальной посадки. Между ее намеченными границами распределения основной посадки прокладывают две машинные строчки (рис. 102) с максимальной длиной стежков: одну на расстоянии 1 см от среза, вторую – параллельно первой на 0,2-0,3 см ближе к срезу. На нитках этих строчек рукав стягивается с таким расчетом, чтобы длина его в собранном виде стала равной длине проймы.

Иллюстрация к книге — Мужская одежда. Технология пошива [i_116.jpg]

Рис. 102. Образование посадки по окату


Для придания верхней части оката необходимой формы и удобства последующего вметывания рукава излишки ткани, образовавшиеся на запасах шва, обычно сутюживают через влажный проутюжильник на гладильной доске (рис. 103). Сутюживая посадку по запасам шва, не следует заходить утюгом за строчки более чем на 1,5-2 см. После сутюжки припусков рукав готов к соединению с лифом.

Иллюстрация к книге — Мужская одежда. Технология пошива [i_117.jpg]

Рис. 103. Сутюживание посадки по окату


Во избежание деформации проймы, что особенно часто наблюдается в изделиях из легко растяжимых тканей, перед вметыванием рукава по всей длине проймы также прокладывают машинную строчку на расстоянии 1 см от среза.

Заготовленный рукав вкладывают в пройму с лицевой стороны вывернутого на изнанку лифа, как показано на рис. 104. Совместив контрольные метки и уравняв срезы, рукав скалывают с проймой булавками. Вметывание производят со стороны рукава. Втачивают рукав с этой же стороны двумя машинными строчками рядом, оставляя запас в 1,5 см.

Иллюстрация к книге — Мужская одежда. Технология пошива [i_118.jpg]

Рис. 104. Втачивание рукава в пройму


Удалив нитки сметочных стежков, а затем машинных строчек, проложенных для образования посадки, запасы шва обметывают и шов проутюживают по всей пройме со стороны рукава, не заходя утюгом более чем на 1,5-2 см за строчку.

Обработка пальто с рукавам. и реглан

Рукава реглан могут быть одношовными и двушовными. В мужских плащах и пальто наиболее приемлемым является двушовный рукав реглан.

Пальто с рукавом покроя реглан обычно делают прямым, с заниженной проймой (рис. 105). В зависимости от модели для прилегания изделия по линии талии делают пояс или хлястик. Пальто может быть однобортным или двубортным.

Иллюстрация к книге — Мужская одежда. Технология пошива [i_119.jpg]

Рис. 105. Прокладывание кромки в пальто реглан


Наибольшее распространение имеют пальто однобортные с потайной застежкой. Карманы могут быть прорезными или накладными, но чаще всего с листочкой в долевом направлении под небольшим углом к краю борта. Воротник пальто с рукавом покроя реглан делают несколько уже обыкновенного, чтобы не закрывать конструктивных линий.

Последовательность обработки пальто с рукавами реглан. Обработка бортов, воротника, карманов, спинки и шлицы пальто покроя реглан ничем не отличается от обработки этих деталей в пальто с втачными рукавами.

Отличительной особенностью является обработка рукавов, пройм, соединение рукавов с проймами. Так как верхняя часть рукава является составной частью горловины, меняется последовательность обработки и соединения основных деталей изделия. После соединения боковых срезов обрабатывают проймы борта и низ изделия. Затем производят обработку рукавов и соединение их с изделием и в последнюю очередь соединяют воротник с горловиной.

Если срезы пройм спинки не были предварительно сутюжены, при прокладывании кромки делают посадку спинки для получения выпуклости на облегание лопаток. Проймы проутюживают, посадку спинки на кромку сутюживают. Далее обрабатывают средний шов спинки и шлицу, выполняют операции по обработке боковых карманов и бортов.

Вход
Поиск по сайту
Ищем:
Календарь