Книга Лучшие модели на любую фигуру без примерок и подгонок, страница 8 – Галия Злачевская

Авторы: А Б В Г Д Е Ж З И Й К Л М Н О П Р С Т У Ф Х Ч Ш Ы Э Ю Я
Книги: А Б В Г Д Е Ж З И Й К Л М Н О П Р С Т У Ф Х Ц Ч Ш Щ Ы Э Ю Я
Бесплатная онлайн библиотека LoveRead.in

Онлайн книга «Лучшие модели на любую фигуру без примерок и подгонок»

📃 Cтраница 8

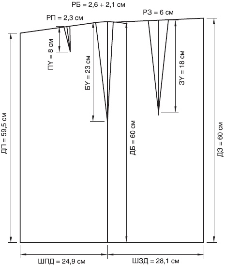
Обхват талии нашей модели 80 см. Дуги полуобхватов талии спереди и сзади должны быть равны, то есть составят по 40 см.

Принято выполнять построения конструкций швейных изделий только на одну половину. Хотя при работе с фигурами, имеющими индивидуальные особенности, можно наблюдать значительные отличия левой и правой половин. Конкретная Марья Ивановна может оказаться немного кривобокой. В этом случае построения рассчитываются отдельно на левую и правую части фигуры.

Итак, дуга по талии составляет: 40 : 2 = 20 см.

Еще раз взгляните на поперечные диаметры и убедитесь, что дуги по талии на переднем и на заднем полотнищах юбки равны.

Ширина передней детали по талии плюс раствор передней вытачки – 20 + 2,3 = 22,3 см.

Тогда часть раствора боковой вытачки, которую мы должны убрать на переднем полотнище, равна ширине передней детали по бедрам минус ширина передней детали по талии с учетом раствора вытачки, или в цифрах 24,9 – 22,3 = 2,6 см.

Другими словами, при растворе боковой вытачки величиной 4,7 см из нее надо убрать 2,6 см с переднего полотнища. Соответственно на заднее полотнище остается: 4,7 – 2,6 = 2,1 см.

На каждую фигуру, мужскую или женскую, независимо от возраста, рассчитать это распределение надо индивидуально.

Возможно, поначалу расчеты покажутся вам слишком сложными или излишне точными, на усвоение нового материала придется потратить силы и время. Однако вскоре вы заметите, как отсутствие примерок и точный, надежный крой экономят ваши силы, нервы и время.

Ширина заднего полотнища по талии рассчитывается аналогично, дуга по талии плюс величина раствора вытачки, в данном случае уже задней, 20 + 6 = 26 см. Можно выполнить проверку: 28,1 – (20 + 6) = 2,1 см.

Как видите, все точно.

А теперь выполним построение. Проведем горизонтальную линию, являющуюся линией низа юбки. По центру поставим засечку и поднимем вверх перпендикуляр, на котором отложим длину юбки по боку. Например, 60 см.

Влево по горизонтали отложим ширину переднего полотнища юбки по линии бедер. По нашим расчетам, это значение равно 24,9 см. Вправо – ширину заднего полотнища по линии бедер – 28,1 см.

От полученных точек построим вверх перпендикуляры к линии низа, на которых соответственно откладываем длину по переду 59,5 см (по меркам ДП меньше ДБ на 0,5 см) и длину изделия сзади 60 см (ДЗ по меркам равно ДБ).

От талии по линии бокового шва опустимся вниз на величину БY = 23 см. Поставим в полученную точку ножку циркуля и (R = БY = 23 см) проведем влево и вправо дугу.

На переднем полотнище по дуге отложим величину рассчитанной боковой вытачки 2,6 см. Вправо на заднем полотнище отложим величину боковой вытачки сзади 2,1 см. Соединим полученные точки с точкой R, и боковая вытачка оформлена.

Иллюстрация к книге — Лучшие модели на любую фигуру без примерок и подгонок [i_020.jpg]

Чертеж юбки именно на Марью Ивановну!


Заднюю вытачку следует располагать напротив наиболее выпуклых точек фигуры. Так как у меня нет возможности предложить вам для осмотра рельеф ягодиц М.И., предлагаю расположить ее посередине детали.

Длина вытачек равна, соответственно, спереди ПY = 8 см и сзади ЗY = 18 см.

Если подходить к М.И. как к геометрической фигуре, следовало бы и переднюю вытачку расположить напротив наиболее выпуклой точки фигуры, то есть посередине живота. В некоторых случаях она там и располагается, например в моделях со складкой посередине переда, при этом не только не портя посадку изделия на фигуре, а даже способствуя этому. Но наша М.И. фигура не только геометрическая, а еще и человеческая. В нашем человеческом сообществе не принято делать вытачку посередине живота, как говорят, «не смотрится». Нас не поймут. Поэтому передвинем ее, расположив на детали переда в пропорциях золотого сечения. Действуем по принципу: если нельзя так, как надо (посередине), сделаем так, чтобы хоть красиво было.

Таким образом, мы построили юбку-«облипочку» на Марью Ивановну, просьба не путать с моделью или фасоном. Выбор конкретного фасона, то есть нанесение модельных особенностей, членение изделия рельефными линиями с учетом рельефа фигуры – это уже следующий этап.

На чертеже вы можете увидеть построение юбки по нашим расчетам. Изготавливая изделия на конкретных заказчиков, вы все равно добиваетесь хорошей посадки на фигуре, так не лучше ли все рассчитать и построить, чем тыкаться в свои собственные оплошности на примерках. Впрочем, решать вам.

Дефекты – в эффекты

В юбке нет ничего особенного, когда она колышется на бельевой веревке.

Лоренс Дау

В прошлый раз мы завершили построение «облипочки». Чертеж выполнен на конкретную Марью Ивановну с учетом ее индивидуального телосложения. Юбочка-«облипочка» симпатично обтянула крутые бедра своей хозяйки, без перекосов и заломов расположилась на выпуклых ягодицах, и даже небольшой животик спереди удобно занял выпуклость, которую образовала для него передняя вытачка. Глаз радует строгая вертикаль бокового шва. Хозяйке комфортно, закройщику приятно, а портному удобно. Можно сразу нести вещь под машинку и шить.

Хороша фигура у Марьи Ивановны! Про такие женственные формы в народе говорят: «Все на месте». А как у вас?

Читая и коллекционируя выпуски электронной рассылки, наши дамы обмеряют свои достоинства. Мой телефон раскаляется докрасна, а в редакцию приходят письма с вопросами. Из многочисленной почты я выбрала несколько поучительных примеров, которые предлагаю разобрать вместе.

Марья Ивановна была нашим первым примером, поэтому девушку Лиду будем считать примером номер 2. Итак, Лида прислала нам свои мерки.


Пример номер 2. ЛИДА

ПХ = 0; ПY = 0; ДП = 90; ОТ = 73;

БХ = 5; БY = 11; ДБ = 92; ОБ = 85;

ЗХ = 0; ЗY = 0; ДЗ = 90.


Кому-то такие измерения могут показаться странными или невероятными. Могут ли вообще быть такие мерки? Ответ – могут! На фигуре может быть все. Поэтому поверим Лиде на слово и будем работать с тем, что она нам дала.

На примере номер 2 научимся делать прибавки.

Иллюстрация к книге — Лучшие модели на любую фигуру без примерок и подгонок [i_021.jpg]

Лида


В юбках делают прибавки к обхвату талии и обхвату бедер. При правильно снятых с фигуры мерках ОБ и ОТ достаточно на свободу облегания прибавить по 2 см к каждому обхвату. На свободу облегания – это значит, чтобы дышалось легко, можно было выпить стаканчик чаю и присесть, не расстегивая пуговки. Если кто-то этого делать не собирается, можно от прибавок по талии отказаться.

Вход
Поиск по сайту
Ищем:
Календарь