Книга Лучшие модели на любую фигуру без примерок и подгонок, страница 124 – Галия Злачевская

Авторы: А Б В Г Д Е Ж З И Й К Л М Н О П Р С Т У Ф Х Ч Ш Ы Э Ю Я
Книги: А Б В Г Д Е Ж З И Й К Л М Н О П Р С Т У Ф Х Ц Ч Ш Щ Ы Э Ю Я
Бесплатная онлайн библиотека LoveRead.in

Онлайн книга «Лучшие модели на любую фигуру без примерок и подгонок»

📃 Cтраница 124

В разделе «Моделирование: общие принципы» мы говорили о погрешностях, которые неизбежно возникают при моделировании основы. Отказаться от них нельзя, но мы можем держать их под контролем. Так, например, если бы обужение по бедрам превысило размер прибавки к обхвату бедер, это означало бы, что отсеченную деталь надо подвинуть менее чем на половину раствора промежутка.

Величина возникающих погрешностей также зависит от высоты подреза и соотношения его с «игреками» на фигуре. Если бы мы на спинке провели подрез, ориентируясь на ЗУ, никаких погрешностей в посадке не возникло бы.

Но нам не позволяет это сделать, во-первых, длина изделия, а во-вторых, подрез на спинке по модели ориентирован на подрез по полочке. Вот отсюда и возникли все проблемы. Так модели часто диктуют нам местоположение подрезов и рельефов, которые нарушают посадку тем больше, чем дальше они пройдут от выпуклых точек фигуры. Особенно ощутимо это на изделиях с маленькой свободой облегания.

Вот и все особенности моделирования. Далее остается сделать припуск на застежку и построить шалевый воротник в соответствии с описанием в теме «Воротники».

Пиджак с рельефами
Фигура 3

Хорошо одетый человек – это тот, на чью одежду вы не обращаете внимания.

Сомерсет Моэм

На фигуру № 3 построим пиджак полуприлегающего силуэта. К имеющимся меркам сделаем прибавки из таблицы.

Иллюстрация к книге — Лучшие модели на любую фигуру без примерок и подгонок [i_316.jpg]

Пиджак с рельефами


Мерки:

ДСТ = 44 + 0,5 = 44,5; ТС = 0;

ДС = 46 + 0,5 = 46,5; ТП = 0;

ДПЛ = 50,5 + 0,5 = 51,0; ДЛ = 35;

ШС = 21,5 + 0,5 = 22; БХ = 4/2,5;

ШПР = 13 + 1 = 14; БУ = 24;

ШГР = 24 + 0,5 = 24,5; ПХЛ = 3;

ШК = 18,5; БХЛ = 4;

ДР = 60; ЗХЛ = 5;

ПХ = 1,5/0,5; ОТ = 93;

ПУ = 6,5; ОТ2 = 98 + 6 = 104;

ДПГ – ДПБ = 2; ОБ = 112 + 6 = 118;

ВГ = 21 + 0,2 = 21,2; ОР = 33;

ЦГ = 10,5 + 0,2 = 10,7; ЗХ = 5,5/4,5;

ШПЛ = 12; ЗУ = 20.


Расчеты для построения основы лифа:

К = 3,1 см, ШГРЛ = 8,2 см

ГЛПР = расч. + 2,5К = 16,72 + 7,75 = 24,5 см

ОГ = (22 + 14 + 24,5) х 2 = 121 см


Расчет стыковки лифа и поясной части выглядит так:

Иллюстрация к книге — Лучшие модели на любую фигуру без примерок и подгонок [i_317.jpg]

Чертеж «Пиджак с рельефами»

Иллюстрация к книге — Лучшие модели на любую фигуру без примерок и подгонок [i_318.jpg]

Пиджак с рельефами, рукав


Построим исходную основу с прибавками. До моделирования необходимо найти вершину эллипса для рукава, так как наличие рукава меняет контуры спинки и полочки.

Поскольку изделие с рукавом, то мы обязаны довести конец плеча спинки до точки 7П. В результате ширина плеча увеличивается на 2 см.

12 + 2 = 14 см


Приводим плечо полочки в соответствие с контурами модели. От конца плеча проведем горизонталь длиной 2 см и соединим с точкой С, получая новый срез плеча полочки.

Так как пиджак предполагается полуприлегающего силуэта, попробуем максимально закрыть вытачки на спинке и полочке. Проведем дугу спинки и выберем самую нижнюю точку в «коридоре», поскольку именно она дает максимальное закрытие вытачки на полочке. Измерим расстояние от точки ВЭ до КП и этим радиусом проведем дугу из точки ПП на дугу нагрудной вытачки. Полученная точка КП* показывает степень закрытия вытачки на полочке и увеличение свободы облегания на полочке.

В описании построения рукава надо остановиться еще на прибавке к ОР. В данном случае лучшей прибавкой будет 7 см к обхвату руки. В остальном построение рукава совпадает с основной схемой.

Переходим к моделированию.

Наметим линию переноса нагрудной вытачки в боковой шов. Повернем деталь вокруг точки ЦГ, перенося нагрудную вытачку в намеченный подрез.

Перенесем талиевую вытачку влево, укоротим ее в соответствии с намеченной линией подреза.

По вашему желанию можно также укоротить перенесенную нагрудную вытачку.

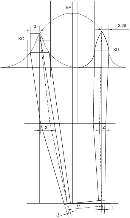
Моделирование спинки. На данной фигуре раствор талиевой вытачки на спинке небольшой. Поэтому можно обойтись без среднего шва, сделав один вертикальный рельеф. Талиевую вытачку поднимем вверх до наиболее выпуклой точки лопаток, точки Л. От точки Л наметим на плечо линию для переноса вытачки на выпуклость спины. Закроем вытачку, поворачивая деталь вокруг точки Л.

Иллюстрация к книге — Лучшие модели на любую фигуру без примерок и подгонок [i_319.jpg]

Пиджак с рельефами, спинка и полочка


Ниже линии талии на основе со стороны спинки рассчитан нахлест 0,7 см. Так как прибавка к бедрам была 6 см, мы можем от него отказаться без ущерба для посадки изделия, но его вполне можно и оставить, так как в данном случае рельеф идет вертикально до линии низа изделия.

Построим окат рукава на основе спинки и полочки. Верхнюю точку рукава возьмем на левой стороне «коридора», для того чтобы полученную посадку по окату распределить равномерно между верхними дугами.

По окату вычертим двухшовный рукав, величины перекатов показаны на чертеже.

До построения воротника углубите горловину по линии плеча на 1 см, по линии середины спинки на 0,5 см. Сделайте прибавку на застежку, которая будет зависеть от размера пуговиц, в среднем прибавка может быть 2,5 см. Выберите линию перегиба лацкана, высоту стойки и ширину отлета воротника.

ВС = 3 см, ШОТЛ = 4,5 см


Вычертите воротник, как рассказано в главе «Воротники».

Пиджак с асимметричной полочкой
Фигура 6

Перед нами очень красивая модель элегантного пиджака с асимметричной полочкой и шалевым воротником. Рассмотрим построение на фигуре 6.

Иллюстрация к книге — Лучшие модели на любую фигуру без примерок и подгонок [i_320.jpg]

Пиджак с асимметричной полочкой


Мерки и прибавки:

ДСТ = 40,5 + 0,5 = 41;

Вход
Поиск по сайту
Ищем:
Календарь