Книга Великолепные модели штор и гардин, страница 35 – Антонина Спицына

Авторы: А Б В Г Д Е Ж З И Й К Л М Н О П Р С Т У Ф Х Ч Ш Ы Э Ю Я
Книги: А Б В Г Д Е Ж З И Й К Л М Н О П Р С Т У Ф Х Ц Ч Ш Щ Ы Э Ю Я
Бесплатная онлайн библиотека LoveRead.in

Онлайн книга «Великолепные модели штор и гардин»

📃 Cтраница 35
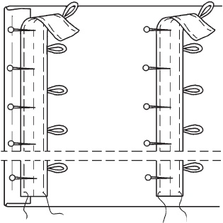
Продевание шнуров

Для каждой вертикальной тесьмы отрежьте соответствующий отрезок шнура. Эти отрезки должны быть достаточно длинными, чтобы покрывать длину тесьмы и верхний край шторы. На каждой тесьме привяжите шнур к нижней петле и проденьте его сквозь петли тесьмы (рис. 91).

Иллюстрация к книге — Великолепные модели штор и гардин [_91.jpg]

Рис. 91


Навешивание шторы

Снимите карниз с кронштейнов и с помощью крючков прикрепите штору. Поправьте положение шурупов в отверстиях на карнизе так, чтобы каждый из них располагался над вертикальной тесьмой.

Проденьте шнуры сквозь отверстия над ними, а затем сквозь все остальные отверстия до тех пор, пока все шнуры не будут находиться с одной стороны окна. Теперь установите карниз на кронштейны, закрепите зажим шнуров на стене или на оконной раме таким образом, чтобы до него можно было легко достать рукой.

Приглаживание шторы

Натяните шнуры для проверки механизма поднятия и опускания шторы, при необходимости поправьте шнуры. Если вы довольны результатом, опустите штору до подоконника. Сплетите шнуры вместе или используйте держатель шнуров. С помощью ножниц обработайте концы шнуров и наденьте ручку. Закрепите шнуры вокруг зажима.

Прозрачные фестонные шторы

Можно с уверенностью сказать, что фестонные шторы – самые декоративные. Даже в опущенном состоянии такая штора сохраняет свои мягкие рюши. Интересным решением является фестонная штора из прозрачной легкой ткани, которая изящно собирается в вертикальные и горизонтальные складки. Такая штора обеспечивает приватность и в то же время пропускает рассеянный солнечный свет. Для придания фестонной шторе более изысканного вида можно пришить оборку.

Изготовление прозрачной фестонной шторы
Крепление карниза

Фестонные шторы навешиваются на специальный карниз или на обычный, прикрепленный к деревянной рейке. При использовании стандартного карниза его необходимо закрепить на деревянной рейке и над каждым вертикальным рядом тесьмы с нижней стороны рейки прикрепить небольшие металлические петли для продергивания шнуров.

Карниз или рейку можно закрепить на вертикальной или горизонтальной плоскости, поэтому они подходят для установки как в нише, так и на стене над окном. В последнем случае штору можно сделать шире окна. Карниз или рейку закрепите перед тем, как производить замеры.

Расчет расхода ткани

Для определения длины края измерьте расстояние от карниза до подоконника и умножьте полученное число на 1,5. Ширина края равна двойной длине карниза. Прибавьте расход на оборку. Так, если готовая оборка имеет ширину 8 см, вам потребуется полоса ткани шириной 10 см (с припусками на швы и подгибку) и длиной, равной удвоенной ширине шторы.

Конструкция шторы

Конструкция прозрачной фестонной шторы не отличается от конструкции других штор – отрез ткани с вертикальными рядами сборок на равном расстоянии друг от друга.

Если для получения нужной длины шторы потребуется стачать два полотнища ткани, сделайте соединительный шов посередине, после чего закройте срезы с изнаночной стороны специальной тесьмой для фестонных штор.

Разделите расстояние между боковыми сторонами и центральной тесьмой на равные части и пришейте остальные ряды тесьмы в этих местах. Здесь действует принцип: чем меньше интервалы, тем плотнее фестоны. Так, если интервалы менее 40 см, получаются пышные фестоны, а при большем интервале прогиб будет мягче.

Тесьма стягивается на нужную длину с помощью шнуров, продернутых сквозь петли, и штора поднимается. Штора также собирается в равномерные складки горизонтальной драпировочной тесьмой.

Необходимые материалы и инструменты:

• специальный карниз, петли с резьбой;

• прозрачная ткань;

• тесьма для фестонных штор;

• нитки в тон ткани;

• пластиковые кольца для занавесок (по одному на каждый ряд тесьмы);

• прозрачная драпировочная тесьма;

• тонкий нейлоновый шнур;

• зажим.

Раскрой ткани

Выкройте полотнище нужной длины. Ширина шторы зависит от типа драпировочной тесьмы.

Подгибка

Подогните боковые срезы на изнаночную сторону на 2,5 см. Сколите и приметайте.

Размещение тесьмы

Положите ткань на ровную поверхность изнаночной стороной вверх. Вдоль боковых краев и на равных расстояниях между ними разметьте вертикальные ряды тесьмы. Разрежьте тесьму на требуемое количество отрезков. Нижняя петля каждой тесьмы должна находиться на расстоянии 5 см от конца. Приколите тесьму вдоль боковых сторон, чтобы внутренний край закрывал срез подгибки (рис. 92).

Притачивание тесьмы

На конце каждой тесьмы вытяните концы шнуров на изнаночную сторону и завяжите узлом. Притачайте каждую тесьму одним швом посередине петлями внутрь, одновременно закрепляя боковую подгибку (рис. 93).

Оборка

Чтобы сделать оборку шириной 8 см, выкройте поперек полотнища ткани требуемое количество полос шириной 10 см и общей длиной, равной удвоенной ширине шторы. Сколите и стачайте полосы французским швом.

Иллюстрация к книге — Великолепные модели штор и гардин [_92.jpg]

Рис. 92

Иллюстрация к книге — Великолепные модели штор и гардин [_93.jpg]

Рис. 93


Подгибка

Нижний и боковые срезы оборки обработайте двойной подгибкой шириной 6 мм. Проложите 2 ряда сборочных стежков на расстоянии 6 и 15 мм от верхнего среза (рис. 94).

Иллюстрация к книге — Великолепные модели штор и гардин [_94.jpg]

Рис. 94


Притачивание оборки

Сложите оборку и штору изнаночными сторонами внутрь, присборьте до желательной длины, сколите и стачайте с припуском 6 мм, захватывая концы вертикальной тесьмы (рис. 95).

Иллюстрация к книге — Великолепные модели штор и гардин [_95.jpg]

Рис. 95

Вход
Поиск по сайту
Ищем:
Календарь