Книга Лестницы и перила. Проектируем и строим, страница 20 – Галина Серикова

Авторы: А Б В Г Д Е Ж З И Й К Л М Н О П Р С Т У Ф Х Ч Ш Ы Э Ю Я
Книги: А Б В Г Д Е Ж З И Й К Л М Н О П Р С Т У Ф Х Ц Ч Ш Щ Ы Э Ю Я
Бесплатная онлайн библиотека LoveRead.in

Онлайн книга «Лестницы и перила. Проектируем и строим»

📃 Cтраница 20
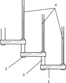
Иллюстрация к книге — Лестницы и перила. Проектируем и строим [_47.jpg]

Рис. 47. Соединение проступей больцами: 1 – проступь; 2 – гайка; 3 – распорная втулка; 4 – больц


Больцы же при этом проходят через отверстия в проступях и крепятся снизу декоративными гайками с шайбами (последние могут заменяться стальными пластинами).

Собственно процесс сборки лестницы (для этого не нужны подмости) проходит так:

• прикрепите нижнюю проступь к больцам, опорной балясине и тетиве. Это важно, поскольку от первой ступени существенно зависит жесткость конструкции, ведь при подъеме по лестнице человек толкает ее;

• наденьте вторую проступь, консольная часть которой своей передней кромкой опирается на заднюю часть первой ступени. Для этого наденьте металлическую или деревянную распорную втулку (ее длина равна высоте подъема) на балясину ограждения, направленную от задней кромки первой ступени. Для обеспечения неподвижности соединения на стойку со стороны верхней поверхности второй ступени накрутите контргайку. Заднюю часть второй ступени подвесьте к поручню на больцах. Благодаря такой конструкции созданная опора противодействует опрокидыванию ступени. Остальные ступени соберите аналогично.

В качестве альтернативы комбинированным лестницам можно назвать классические лестницы на тетивах или косоурах, которые разнообразны по своей конфигурации, более просты в изготовлении и удобны в эксплуатации, хотя требуют больше свободного места для установки.

В заключение заметим, что если лестница крепится к стене, то в нее надо вставить эластичные прокладки, во-первых снижающие передачу звуковой волны на стену, во-вторых не позволяющие деталям тереться и скрипеть; и специальные больцы (рис. 48), которые в собранной лестнице почти незаметны. Кроме того, больцами особой конструкции можно фиксировать проступи и к стенам, и к перегородкам, и к тетиве.

Иллюстрация к книге — Лестницы и перила. Проектируем и строим [_48.jpg]

Рис. 48. Крепление проступи к стене специальным больцем: 1 – стена; 2 – проступь; 3 – больц


Нередко в помещения сооружаются лестницы, совмещающие элементы разных конструкций и поэтому относящиеся к комбинированным. Например, лестница с одной стороны может опираться на косоур, а с другой – быть вставленной в тетиву; к винтовой лестнице можно присоединить конструкцию на косоурах и т. п. В принципе все лестницы, которые нельзя назвать строго маршевыми или винтовыми, следует относить к комбинированным. Более того, если в конструкции и отделке применяются разные материалы, то такие модели тоже надо рассматривать в качестве комбинированных. Скажем, при стальных тетивах или косоурах ступени могут быть выполнены из стекла, а ограждение – из дерева. Очень распространены сочетания металл, бетон, камень; металл, дерево, пластик и др. В настоящее время комбинированные лестницы являются самыми модными и поэтому востребованными.

Вариантов можно предложить множество, но рассмотрим один из них – поворотную лестницу с забежными ступенями (рис. 49).

Сооружение лестницы осуществляется в определенной последовательности. Поскольку этапы, ее составляющие, уже описаны выше, поэтому мы просто перечислим их, не вдаваясь в подробности.

Измерьте высоту этажа.

Установите габариты лестничного проема.

Выполните расчет: в частности, определите размеры и количество ступеней, параметры косоуров, опорных столбов (балясин), число рядовых балясин, длину поручня.

Подготовьте все узлы и детали.

Смонтируйте лестницу в таком порядке:

• выберите в стене отверстия (можно просто прибить доску на соответствующее место), в которые лестница будет вставляться своим верхним концом;

• натяните вдоль стены шнур, ориентируясь на который выставьте косоуры (верхний конец вставьте в подготовленные отверстия, а нижний – в столбы, к которым будут крепиться забежные ступени), используя соединение «шип – паз»;

• установите косоуры вдоль стены;

Иллюстрация к книге — Лестницы и перила. Проектируем и строим [_49.jpg]

Рис. 49. Комбинированная лестница: а – общий вид; б – элементы лестницы; 1 – опорная стойка (балясина); 2 – доска, фиксирующая косоуры; 3 – верхняя проступь; 4 – первый косоур; 5, 12 – основная ступень; 6 – второй косоур; 7 – третий косоур; 8 – забежные ступени; 9 – основная опорная стойка (балясина); 10 – опорные столбы; 11 – четвертый косоур; 13 – пятый косоур; 14 – шестой косоур


• уложите на косоуры рядовые ступени;

• на главном столбе выполните пропилы и вставьте в них забежные ступени;

• врежьте опорные стойки (балясины);

• отделайте ограждение поручнем.

Наружные лестницы

В современном индивидуальном доме, помимо внутренней лестницы, сооружается и наружная. Без нее не обойтись, если прилегающая к дому территория не отличается ровным рельефом. Вход в дом тоже практически всегда оформляется небольшим лестничным маршем.

Материал, из которого строятся наружные лестницы, определяется рядом факторов, в первую очередь финансовыми возможностями застройщика и его вкусом.

Обыкновенная, без каких-либо претензий лестница может быть сооружена из дерева. При этом ее конструктивные особенности не отличаются от тех, что характерны для внутренних лестниц, поэтому для примера ограничимся показом только внешнего вида, не повторяя уже описанных выше порядка, правил и приемов ее сооружения (рис. 50). Заметим только, что перила могут быть не только деревянными, но и металлическими.

Поскольку на деревянную конструкцию воздействуют различные природно-климатические факторы, то нанесение на нее защитного покрытия и устройство слоя гидроизоляции обязательны. Несмотря на принятые меры, срок службы деревянных наружных лестниц довольно ограничен.

Планируя строительство лестницы, постарайтесь найти для нее такое место или расположите так, чтобы после ее возведения не пришлось переносить водопровод, отопительные приборы, электрическую проводку. Одним словом, попытайтесь, чтобы решение одной проблемы не повлекло за собой появления других.

Иллюстрация к книге — Лестницы и перила. Проектируем и строим [_50.jpg]

Рис. 50. Возможные варианты устройства наружной лестницы: а – на косоуре; 1 – слой гидроизоляции; 2 – бетон; 3 – опорная стойка; 4 – косоур; 5 – поручень; б – на тетиве; 1 – бревна; 2 – гидроизоляция; 3 – тетива; 4 – опорный брус; 5 – бетонное основание; 6 – балясина; 7 – стойка; 8 – брусок


Гораздо долговечнее лестница, сложенная из кирпича (особенно эффектно, когда он поставлен на ребро, причем необязательно придавать маршам прямоугольную форму). Для нее необходимо подобрать кирпич без каких-либо дефектов (сколов, трещин и т. п.). Но прежде чем класть его на раствор, следует выполнить основание, например из бутового камня, толщиной примерно 100–150 мм в зависимости от состояния и характера грунта. Если он насыпной, то более прочным представляется армированное бетонное основание.

Вход
Поиск по сайту
Ищем:
Календарь