Книга Современные подвалы, подполы и погреба, страница 38 – Галина Серикова

Авторы: А Б В Г Д Е Ж З И Й К Л М Н О П Р С Т У Ф Х Ч Ш Ы Э Ю Я
Книги: А Б В Г Д Е Ж З И Й К Л М Н О П Р С Т У Ф Х Ц Ч Ш Щ Ы Э Ю Я
Бесплатная онлайн библиотека LoveRead.in

Онлайн книга «Современные подвалы, подполы и погреба»

📃 Cтраница 38

Для отделки поверхностей в винном хранилище более всего подходят плиточный камень или кирпич, декоративное оформление должно отвечать вкусу хозяев, хотя и здесь можно рекомендовать следующее: специалисты советуют выбирать темные тона, поскольку вино не любит яркого света. Поэтому и освещение должно быть минимальным. Вполне достаточно обычной электрической лампочки, хотя следует подобрать светильники, гармонично сочетающиеся с интерьером. Главное – направлять свет в сторону, противоположную стеллажам с бутылками.

Наилучшим материалом для таких стеллажей считается известняк, поскольку он нейтрализует колебания температуры, которые неизбежны при открывании дверей. Деревянные стеллажи – не самый удачный выбор, поскольку они могут быстро покрыться плесенью. Из современных материалов подойдет пластик.

Перечень помещений, устраиваемых в подвале, можно продолжить и дополнить системой водоснабжения и подготовки воды, вентиляционным блоком, трансформаторной системой «умный дом» и даже тиром. Важно понять одно: все это надо продумать при разработке проекта, предусмотрев конструктивные и инженерно-технические мероприятия, связанные с обеспечением гидро– и теплоизоляции, вентиляции и пр. Очень важно решить вопрос с канализацией, спланировать отвод стоков, поскольку система канализации, как правило, расположена выше уровня водоотвода из подвального помещения и стандартная система не работает, требуется принудительная откачка сточных вод. В этом деле неоценима роль компактной насосной станции.

Одним словом, проблем и хлопот немало, но результат того стоит.

Осваиваем пространство ниже нулевой отметки

Считается качественным кирпич, который упал с высоты 1,5 м и не рассыпался на мелкие кусочки. О качестве его можно судить также по реакции на удар средней силы, нанесенный килограммовым молотком. Кирпич ниже марки М75 рассыпется от одного удара, М100 – только от нескольких. Кирпич бледно-розового цвета недожженный, бурого – пережженный, качественный кирпич должен быть красного цвета.

ПОДПОЛЬЕ

Решение вопроса об устройстве подвала, цокольного этажа, погреба или подполья в основном определяется уровнем грунтовых вод.

При низком уровне лучше всего построить подвальное помещение, а при высоком более целесообразным оказывается подполье, в которое можно попасть через люк первого этажа. Это позволит избежать дорогостоящих гидроизоляционных мероприятий.

Подобные подполья, как и подвалы, с наружной стороны ограничиваются цоколем, если закладывается ленточный фундамент, или забиркой – при столбчатом фундаменте, сверху– цокольным перекрытием (рис. 50).

Основное отличие подполья от подвала (помимо высоты) состоит в том, что пол мелкозаглубленного подполья в большей степени подвержен сезонным колебаниям температур, в то время как в подвале температура сохраняется практически постоянной.

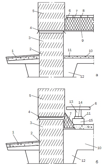
Иллюстрация к книге — Современные подвалы, подполы и погреба [i_058.jpg]

Рис. 50. Устройство подполья: а – холодное подполье; б – теплое подполье; 1 – отмостка; 2 – цоколь; 3 – продух; 4 – слой гидроизоляции; 5 – стена; 6 – дощатый пол; 7 – слой утеплителя; 8 – слой пароизоляции; 9 – подшивка цокольного перекрытия; 10 – щебень; 11 – рубероид; 12 – насыпной грунт; 13 – лага; 14 – деревянная подкладка; 15 – кирпичный столбик


Стандартная высота подполья, как уже было сказано, 120–160 см. Оно должно быть построено с учетом необходимости профилактического осмотра и ремонта элементов цокольного перекрытия и проходящих здесь инженерных коммуникаций.

Как показано на рис. 50, минимальная высота холодного подполья, устроенного под утепленным цокольным перекрытием, составляет 40 см. Этим оно отличается от той конструкции, которая устраивается в сельских домах, где чаще пол настилается по лагам, уложенным на кирпичные или каменные столбики, стоящие прямо на грунте.

Образующееся в этом случае теплое подполье (по внутреннему периметру цоколь отсыпается керамзитом, шлаком и т. п.) имеет высоту 15–25 см. Такая разница объясняется тем, что при более значительной высоте подполье перестает быть теплым, поскольку возрастают теплопотери, при меньшей высоте страдает его вентиляция. (Заметим, что дом с таким подпольем должен эксплуатироваться круглый год. В случае если он на зиму остается без отопления (например, это дачная постройка), то в холодных условиях грунт под домом промерзнет, деформируется и испортит пол, причем такое возможно и при непучинистых грунтах.)

Осваиваем пространство ниже нулевой отметки

О качестве извести свидетельствует такой тест: готовится известково-песчаный раствор (1:3), с его использованием выкладывается столбик из семи обыкновенных красных кирпичей. Если по прошествии четырех дней столбик можно поднять за верхний кирпич, то известь качественная.

Наличие подполья имеет явные положительные стороны (разумеется, если грунтовые воды залегают на большой глубине), поскольку его можно использовать для хранения припасов. Достаточно выкопать в нем погреб, оборудовав его входом или из дома, или со стороны двора. В первом случае он должен прикрываться крышкой люка, во втором – теплоизолированной дверью.

Кроме того, необходимо помнить и о таких нюансах, как устройство погреба посередине подполья, чтобы его стены не отсыревали и обдувались воздухом; необходимость штукатурить стены фундамента с внутренней стороны, чтобы утеплить их, с этой же целью выполнить в подполье двойной пол (черный – с нижней стороны балок, и чистый – с их верхней стороны), швы между досками замазать глиняным раствором и засыпать песком (слой 5–10 см); устройство вентиляция подполья; гидроизоляция погреба, которая должна быть проведена до укладки настила; просушивание пространства погреба, которое должно предшествовать устройству хорошо теплоизолированного потолка.

Предлагаем несколько вариантов такого обустройства подполья. Небольшие хранилища без особого труда и затрат можно устроить в любом вспомогательном помещении, будь то кухня, коридор, мастерская или гараж. Для этого требуется на некоторое время приподнять напольное покрытие, выкопать яму, залить бетон слоем 8 см, обложить ее стенки кирпичом, после чего оштукатурить их. Размеры могут быть произвольными (в зависимости от площади подполья), например, 45 см в ширину и 50 см в высоту (рис. 51).

Площадь такого хранилища составит примерно 1,5 м2, объем грунта, который придется извлечь, 1 м3, общая длина стен, отделанных кирпичной кладкой, примерно 3 м. Люк закрывается крышкой, которая одновременно является составляющей пола. Для нее подойдут доски толщиной 30 мм, которые соединяются фанерными плитами (50 × 50 см). В предлагаемой конструкции их пять штук. В крышках есть отверстия для руки (это может быть и утопленная ручка).

Иллюстрация к книге — Современные подвалы, подполы и погреба [i_059.jpg]
Вход
Поиск по сайту
Ищем:
Календарь