Онлайн книга «Современные подвалы, подполы и погреба»
|
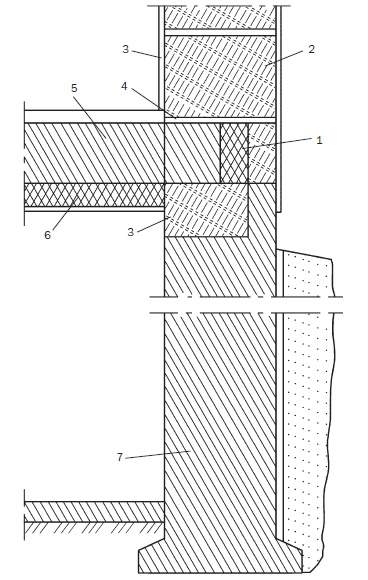
Осваиваем пространство ниже нулевой отметки Чтобы минимизировать воздействие на бурт солнечных лучей (это повышает температуру внутри него), устраивайте хранилище, ориентируя его с севера на юг. Тогда освещаться будет только узкий торец. Достав из бурта плоды, закройте его. Учтите такой момент: к открываемому концу бурта складируйте те плоды, которые потребуются вам раньше других. Теплозащита подвального помещения значительно повысится, если утеплить железобетонное перекрытие над ним теплоизоляционными плитами (из пенополистирола, минеральной ваты), полость стыка – пенополистиролом, участок подвальной стены на участке опирания балки (при балочном перекрытии) – керамзито-бетонными блоками (рис. 29). ![]() Рис. 29. Теплоизоляция цокольного перекрытия: 1, 6 – пенополистирол; 2 – наружный отделочный слой; 3 – стеновой блок; 4 – слой гидроизоляции; 5 – цокольное перекрытие; 7 – бетонная стена подвала Утепляя цокольное перекрытие над холодным подвалом или подпольем, помните, что через них (это относится ко всем ограждающим конструкциям, в частности к стенам, крыше) диффундируют водяные пары. Поэтому важно защитить утеплитель от увлажнения, разместив над ним слой пароизоляции, поскольку пары перемещаются из верхних помещений, как более теплых, в нижние, как более холодные. Полотнища расстилаются с нахлестом не менее 10 см, после чего швы герметизируются скотчем. При применении фольгированных материалов их блестящая сторона должна быть направлена в сторону теплого помещения. Между пароизоляцией и основанием пола оставляется воздушная прослойка. Цокольное перекрытие может представлять собой железобетонную плиту или выполняться в виде деревянных балок. Для их теплоизоляции применяются стекловолокнистые или минераловатные материалы. Утепляя плитное перекрытие, теплоизолирующий слой вкладывают в промежутки между лагами, под которыми расстилается рубероид, гидроизол и т. п. Схематически утепление плитного перекрытия показано на рис. 30. ![]() Рис. 30. Утепление плитного перекрытия: 1 – плита перекрытия; 2 – рубероид; 3 – лага; 4 – слой теплоизоляции; 5 – слой пароизоляции; 6 – дощатый пол Пенополистирольные плиты можно уложить на плиту или под плиту перекрытия. В первом случае поверх нее надо выполнить цементно-песчаную стяжку, которая не только защитит утеплитель от механических повреждений, но и выровняет поверхность, подготовив ее под напольное покрытие. Во втором случае поверхность утеплителя следует оштукатурить и отделать соответствующим образом потолок подвала. Чтобы теплоизолировать цокольное перекрытие, выполненное по балкам, утеплитель размещается на досках или деревянных щитах, лежащих на черепных брусках (рис. 31). ![]() Рис. 31. Утепление балочного перекрытия: 1 – балка; 2 – черепной брусок; 3 – деревянный щит; 4 – слой теплоизоляции; 5 – слой пароизоляции; б – дощатый пол По поверхности утеплителя расстилается слой пароизоляции. Концы деревянных балок (12–18 см), которые опираются на цоколь, гидроизолируются, для чего оборачиваются полиэтиленовой пленкой или рубероидом, при этом торцы должны оставаться открытыми. Для обеспечения небольшого зазора крайняя балка немного не доходит до стены, а образовавшийся промежуток заполняется утеплителем. Можно, например, уменьшив влажность материала, снизить его теплопроводность и, следовательно, повысить его теплоизоляционные свойства. Проще всего уменьшить влажность подвала и соответственно улучшить влажностный режим всей конструкции путем устройства вокруг наружных стен дома водоотводной канавы (рис. 32). ![]() Рис. 32. Устройство водоотводной канавы по периметру дома: а – с наклонной стенкой; б – с опорной стенкой; 1 – стена дома; 2 – цементный раствор; 3 – опорная стенка Ее глубина должна быть такой, чтобы зимой грунт под фундаментом не промерзал, ведь именно оттаивающая земля начинает пучиться, вызывая деформацию стен, появление трещин и пр. Между дном канавы и подошвой фундамента не должно быть менее 130 см, причем дно должно иметь уклон для обеспечения стока воды и быть покрыто цементным раствором. При глинистых грунтах в самой низкой точке канавы надо пробурить скважину до песка и вставить в нее асбоцементную трубу для оттока воды. Отвести воду от дома можно и путем устройства кольцевого дренажа (рис. 33). ![]() Рис. 33. Устройство кольцевого дренажа по периметру дома: 1 – стена; 2 – цементная штукатурка; 3 – булыжник; 4 – щебень (гравий); 5 – дренаж; 6 – глиняный замок Кольцевой дренаж – работа, требующая значительных трудовых затрат. Для него вдоль стен выкапывается траншея, дно которой должно быть ниже пола подвального помещения. Нижнюю часть стены примерно на 20 см выше поверхности земли заштукатурьте цементным раствором, потом устройте глиняный замок толщиной 30–40 см, а оставшийся промежуток засыпьте щебнем или гравием. Сверху поверхность траншеи замостите булыжником. Осваиваем пространство ниже нулевой отметки Чтобы плоды хорошо сохранялись в буртах, посередине укладывается труба, которая остается открытой до самых морозов. Благодаря этому овощи охлаждаются. В самой высокой точке бурта размещается еще один вентиляционный желоб, деревянный. В небольших по объему буртах устанавливаются вертикальные вентиляционные каналы из перфорированных труб. Увеличить теплоизоляцию стен подвального помещения можно, установив в них еще на стадии строительства вентилируемые воздушные прослойки или каналы. (Подробно о вентиляции подвала мы поговорим далее, а сейчас остановимся на этом вопросе, взглянув на него сточки зрения улучшения теплоизоляции.) Благодаря эффективной вентиляции влажность в подвальном помещении уменьшится, следовательно, теплозащита повысится. Этот способ дает хорошие результаты, но отличается трудоемкостью. Чтобы создать вентилируемую воздушную полость, благодаря которой будет осушаться подземная часть подвальной стены, необходимо по периметру дома или отдельной стены выкопать траншею (ее дно должно быть на 15 см ниже уровня пола подвала), после чего сделать фундамент, положив слой бетона, для опорной стенки. |
![Иллюстрация к книге — Современные подвалы, подполы и погреба [i_035.jpg] Иллюстрация к книге — Современные подвалы, подполы и погреба [i_035.jpg]](img/book_covers/060/60939/i_035.jpg)
![Иллюстрация к книге — Современные подвалы, подполы и погреба [i_036.jpg] Иллюстрация к книге — Современные подвалы, подполы и погреба [i_036.jpg]](img/book_covers/060/60939/i_036.jpg)
![Иллюстрация к книге — Современные подвалы, подполы и погреба [i_037.jpg] Иллюстрация к книге — Современные подвалы, подполы и погреба [i_037.jpg]](img/book_covers/060/60939/i_037.jpg)
![Иллюстрация к книге — Современные подвалы, подполы и погреба [i_038.jpg] Иллюстрация к книге — Современные подвалы, подполы и погреба [i_038.jpg]](img/book_covers/060/60939/i_038.jpg)
![Иллюстрация к книге — Современные подвалы, подполы и погреба [i_039.jpg] Иллюстрация к книге — Современные подвалы, подполы и погреба [i_039.jpg]](img/book_covers/060/60939/i_039.jpg)