Онлайн книга «Современные подвалы, подполы и погреба»
|
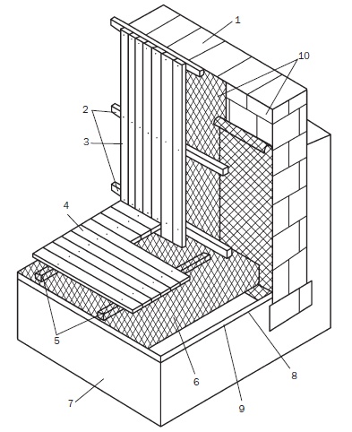
Земляной пол выровняйте, уплотните и покройте небольшим слоем песка или гравия, после чего нанесите на него слой цементно-песчаного раствора толщиной 2 см, скруглив углы между стенами и полом. Спустя 1–2 недели покройте стены и пол полиэтиленовой пленкой или толем, причем накладывайте полотнища так же, как и обои. Пленку можно прикрепить только под потолком с помощью рейки и гвоздей (под них в швы забиваются деревянные пробки). Толь приклеивается горячим битумом или смолой, либо холодной кукерсольной мастикой. Длина кусков должна быть на 15–20 см больше высоты стен. Аналогично отделайте и пол, причем обратите внимание, что полотнища должны накладываться друг на друга (пленка на 20 см, толь на 15 см). Нанесите на пол цементно-песчаный раствор (1:3) толщиной 4 см, а, когда он застынет, поднимите стенку из кирпича, положенного на ребро, не оставив зазора между ней и изоляционной прослойкой. Описанная конструкция представлена на рис. 24. На стены и пол можно прибить доски. При такой конструкции полиэтиленовая пленка или толь прикрепляются к стене горизонтальными брусками (избегайте прибивать бруски непосредственно к стене, потому что они постепенно разрушатся), размещенными с шагом 80–90 см. Так как под толем местоположение пробок не видно, в них предварительно вбейте гвозди без шляпок, чтобы приблизительно 5 см выступало из стены. На бруски набейте строганые или нестроганые доски толщиной 20–25 мм. ![]() Рис. 24. Гидроизоляция подвала с кирпичной кладкой: 1 – стена подвала; 2, 6 – полиэтиленовая пленка (толь); 3 – кирпичная обшивка; 4 – цементная стяжка; 5 – грунт; 7 – гравий (песок); 8 – выравнивающий слой На пол с шагом 70 см уложите лаги толщиной 50–70 мм, а на них прибейте доски. Результат работы проиллюстрирован рис. 25. ![]() Рис. 25. Гидроизоляция подвала с дощатой обшивкой: 1 – стена подвала; 2 – бруски; 3 – обшивка; 4 – деревянный пол; 5 – лаги; 6 – толь (полиэтиленовая пленка); 7 – грунт; 8 – слой гравия (песка); 9 – выравнивающий слой; 10 – деревянные пробки При выполнении такой изоляции возможны и варианты, например при кирпичной стене пол может быть дощатым и др. Но данный вид гидроизоляции неприемлем в подвале, который периодически склонен к подтоплению. Осваиваем пространство ниже нулевой отметки На влажность воздуха влиять в условиях естественного погреба легче, чем воздействовать на температуру, поскольку она определяется влажностью строительных материалов, из которых построены подвал или погреб, влажностью грунта, окружающего постройку. Например, кирпичные стены сопротивляются высокой и равномерной влажности воздуха лучше, чем бетонные; то же самое можно сказать о глинобитных или клинкерных полах. Если в подвале ощущается неприятная влажность воздуха, то его можно попробовать осушить. Для этой цели применяются осушители воздуха, в основе действия которых лежит способность влаги к конденсации при контакте воздуха с холодной поверхностью. Агрегат работает следующим образом: воздух с помощью вентилятора направляется из подвала на испаритель, представляющий собой радиатор с пониженной температурой. В результате воздух охлаждается, а влага, имеющаяся в нем, стекает в емкость. Сухой воздух, в свою очередь, поступает на конденсатор (это тоже радиатор, но с повышенной температурой), нагревается и возвращается в подвальное помещение. Осушители воздуха имеют разную производительность и в зависимости от этого подразделяются на бытовые, полупромышленные и промышленные. Агрегаты первых двух типов, которые можно эксплуатировать в домашних условиях, имеют производительность 12–300 л/сут. С их помощью осушается воздух в подвале, погребе, ванной комнате и других помещениях с повышенной влажностью. В качестве примера представляем осушитель воздуха LEF 200, благодаря которому обеспечивается комфортный влажностный режим в доме вообще и в подвале в частности. Гидроизоляция дома с подвальным помещением (и без него) будет неполной, если не устроена отмостка, которая защищает фундамент (стены подвала) от дождевых, талых и паводковых вод. При отсутствии отмостки и оставлении по периметру дома дерна или плохо уплотненной дорожки они будут проникать к подошве фундамента, а потом по капиллярам подниматься вверх, приводя к появлению сырости как в подвале, так и в помещениях над ним. В конечном итоге ограждающие конструкции разрушатся. Для устройства отмостки используются бетонные плиты, булыжник, кирпич, асфальт, монолитный бетон и пр. (рис. 26). ![]() Рис. 26. Устройство отмостки: а – из бетонных плит; б – из монолитного бетона; в – из булыжника; 1 – материковый грунт; 2 – глина; 3 – песок; 4 – булыжник; 5 – канава для водоотвода; 6 – щебень (гравий); 7 – монолитный бетон; 8 – бетонные плиты В соответствии с характером грунта и шириной карниза величина отмостки может варьироваться от 50 до 100 см. На обычных грунтах она выходит за вынос карниза на 10–20 см, на просадочных грунтах выступает за границы котлована на 30 см. Выполнение отмостки предполагает следующие мероприятия: • удалите растительный грунт на глубину 10–20 см по периметру дома; • заполните образовавшуюся выемку глиной и утрамбуйте, утапливая в нее гравий или щебень; • насыпьте песок, смешанный с щебнем, гравием или кирпичным боем, уплотните слой; • выполните покрытие из бетона (дополнительно покройте бетон цементной стяжкой толщиной 20–30 мм и пожелезните ее), асфальта, булыжника. Покрытие должно иметь уклон от дома, составляющий примерно 5–10 см на 1 м ширины, а для отвода воды по периметру отмостки проложите канаву. Кроме того, профессионалы рекомендуют на глубине 30–40 см постелить ПВХ-пленку шириной 2–2,5 м, которая не допустит проникновения к фундаменту влаги. Устройство отмостки необязательно, если дом с подвалом строится на сухих непросадочных грунтах с заложением столбчатого фундамента. В таких случаях достаточно в том месте, где вода стекает с крыши, установить водозащитное покрытие. Если планируется теплый подвал, то необходимо утеплить и отмостку, заложив под финишное покрытие, например, экструдированный пенополистирол. Таким образом, отмостка выполняет функции, связанные как с гидро-, так и теплоизоляцией. Гидроизоляционные материалы Гидроизоляция в деревянных домах, не имеющих подвала и возведенных на бетонном, бутобетонном или каменном фундаменте, не отличается особой сложностью. Как правило, застройщик ограничивается укладкой гидроизоляционного слоя из рубероида между фундаментом и конструкцией стены. В домах, имеющих подвальное помещение, таких мер явно недостаточно, тем более при высоком уровне грунтовых вод. Чтобы не допустить проникновения влаги в подвал, требуется проведение специальных мероприятий по гидроизоляции стен и дна подземной части строения. Чтобы гидроизоляция хорошо справлялась со своими задачами, все работы должны быть проведены на высоком уровне. Для этого необходимо выполнять такие условия: |
![Иллюстрация к книге — Современные подвалы, подполы и погреба [i_030.jpg] Иллюстрация к книге — Современные подвалы, подполы и погреба [i_030.jpg]](img/book_covers/060/60939/i_030.jpg)
![Иллюстрация к книге — Современные подвалы, подполы и погреба [i_031.jpg] Иллюстрация к книге — Современные подвалы, подполы и погреба [i_031.jpg]](img/book_covers/060/60939/i_031.jpg)
![Иллюстрация к книге — Современные подвалы, подполы и погреба [i_032.jpg] Иллюстрация к книге — Современные подвалы, подполы и погреба [i_032.jpg]](img/book_covers/060/60939/i_032.jpg)